- 您的位置:
- 标准下载网 >>
- 标准分类 >>
- 机械行业标准(JB) >>
- JB/T 5834.3-1991 电力整流模块MDS系列5A以上三相桥式整流模块
标准号:
JB/T 5834.3-1991
标准名称:
电力整流模块MDS系列5A以上三相桥式整流模块
标准类别:
机械行业标准(JB)
英文名称:
Power rectifier module MDS series 5A and above three-phase bridge rectifier module标准状态:
现行-
发布日期:
1991-10-24 -
实施日期:
1992-10-01 出版语种:
简体中文下载格式:
.rar.pdf下载大小:
3.09 MB
中标分类号:
电工>>输变电设备>>K46电力半导体期间、部件
点击下载
标准简介:
标准下载解压密码:www.bzxz.net
本标准规定了三相桥式电力整流模块的技术要求和检验及其依据。 本标准适用于六个整流管芯片组成、按壳温额定MDS5~MDS150型三相桥式整流模块(以下简称模块)。 JB/T 5834.3-1991 电力整流模块MDS系列5A以上三相桥式整流模块 JB/T5834.3-1991
部分标准内容:
中华人民共和国机械行业标准
电力整流模块
MDS系列5A以上三相桥式整流模块1主题内容与适用范围
JB5834.3-91
本标准规定了三相桥式电力整流模块的技术要求和检验及其依据。本标准适用于六个整流管芯片组成、按壳温额定MDS5~MDS150型三相桥式整流模块(以下简称模块)。
引用标准
GB4937
半导体分立器件机械和气候试验方法半导体分立器件接收和可靠性
GB4938
GB2423.4电工电子产品基本环境试验规程试验D:交变湿热试验方法GB2900.32电工名词术语,电力半导体器件:3技术要求
.3.1外形尺寸
中中·中中国
(MDS5)
机械电子工业部1991—1024批准52
1992—10-01实施
JB5834.8-91
corsaw
(OISAW)
示准变询下费区
JB5834:3--91
(MDS60、MDS100)
JB5834.3—91
JB5834.3-91
模块的型号和推荐的外形尺寸如图1~图6所示3.2额定值
3.2.1最大额定值(极限值)应符合表1的规定(除I。[I。=3IF(Av))外的电流、电压均为单个芯片值,以下同)
直流输
MDS100
MDS150
出电流
注,?
正向平
均电流
Ig(AV)
正向(不重
复)浪涌电流
I。为对应壳温时的值。
反向重复反向不重复
峰值电压
50~1600
4 ×103
峰值电压
等效结温
此存温度
=0.9Vgm125(或150))
-40~140
(或160)
壳温为模块壳体底板长侧面几何中心点(基准点)的温度。等效结温和爬存温度据号中的数值为非环氧封装型的,以下同。?
额定反向重复峰值电压(VRR)按表2分级。表2
3.3特性值
特性值应符合表3规定。
MDS100
MDS150
正向峰值电压
JB5834.S-91
参数及数值
反向重复峰值电流
注:①结壳热阻为芯片结到模块壳体基准点的热阻结壳热阻
模块绝缘电压为各端子与壳体之间的耐压,为最小值,其他为最大值。②
检验规则
.4.1逐批(A组)检验
A组检验按表4规定。
检验项目
电特件
(不能工作)
V(RMS)
检验方法
在正常照明和正
常视力下目检
按A2b
见附录B中的B1
见附录B中的B2
正弦波,50Hz,
电压2000V,维
持时间1min
注:①USL为表3对应型号的数值。以下同②AQL抽样见附录A中的A1。
标志消晰,表面
无机械损伤
极性颠倒
VM>10USL
IRRM>100USL
符合表3规定
符合表3规定
无击穿、闪络
模块绝缘电压
VISO(RMS)
抽样方案
AQL(II)
如A组第一次提交检验不合格,可按附录A中A1条加严一级重新提交检验,但只能重新提交一次。4.2周期(B组)检验
JB5834.3-91
B组检验按表5规定。正常生产的定型产品,每年至少应作一批B组检验。标有(D)的检验是破坏性的。
检验项目
易焊性(仅适用于
焊接电极)
温度变化继之
交变湿热(D)
电耐久性
放行批证明记录
检验方法
按图1~图6
GB4937的2.1.2
(穗焊法)
GB4937的3.1.1
TA=-40*℃、T=1409℃
(或160-9℃)
循环5次
试验Ds:方式2
严酷度:55℃
循环6次
高温反偏
GD4938的3.2
正弦波50Hz,70%
VRRM,结温=125-g℃
(或150)168h
合格判据
最大外形及安装
尺寸符合规定
润湿良好
最后测试:
VFM、IRRM符合
表3规定
最后测试:
IRRM≤2USL
简要给出B5,B8各分组的有关属性数据和试验结论法:①抽样方案栏中n为抽样数,c为合格判定数,以下同。T
抽样方案
如B组第一次提交检验不合格,可按附录A中的A2追加抽样再进行一次检验,但每一检验分组只能追加一次,且追加的样品应经受该分组的全部检验。4.3周期(C组)检验
C组检验按表6规定。正常生产的定型产品,每年至少应作批C组检验。如C组第一次提交检验不合格,可按B组第一次提交检验不合格处理。5标志和订货资料
5.1产品上的标志
a、产品型号及质量类别(I类)3b、制造厂名称、代号或商标;
c、电原理图,用“~”表示输入端“+”和“”表示输出端d、检验批识别代码。
5.2包装盒(箱)上的标志
a、产品名称、型号及质量类别;58
b、制造厂名称、代号或商标;
c:检验批识别代码;
d、防潮、防雨标志等。
检验项目
耐焊接热(仅适
用于焊接电极)
电耐久性
高温贮存
检验方法
JB5834.3-91
按图1~图6
见附录B中的B3
50%VRRM,
1次1个周波,20次,
见附录B中的B4
GB4937的2.2.2
方法1A
高温反偏
CB4938的3.2
1000-8h
其余条件同B8分组
GB4937的3.2
Tstg=140.9℃
(或160_),1000±h
合格判据
全部尺寸符合规定
最后测试:
VM≤1.1USL
IRRM≤2USL
符合表3规定
最后测试:
VEM、IRRM符合表8规定
最后测试:
V≤1.1USL
IRRM≤2USL
最后测试:
VM≤1.1USL
RRM≤2USL
放行批证明记录简要给出C8、C9分组的有关属性数据和试验结论5.3订货资料
订购一种具体产品至少需要以下资料;a、产品型号及质量类别;
b、本标准的编号;
c、其他。
抽样方案
A1AQL抽样
AQL抽样按表A1
批量范围
16—25
91-150
151280
281-500
501-1200
样品量
注:①本表展检验水平(I)II
JB5834.3-91
附录A
(补充件)
C为合格判定数,1为不合格判定数;②
箭头表示应使用指向的第一个抽样方案,若箭头指向对应处的样品量等于或大于批量,则应对批进行百分?
之百检验。
追加抽样
追加抽样按表A2
样品量
初次抽样
追加抽样
追加数
合格判定数
B1正向峰值电压(Vp)
本测试使用脉冲法。
B1.1原理电路及要求
原理电路如图B1所示。
JB5834.3--91
附录B
极限值和电特性的检验和测试
(补充件)
D——被测器件,
L、C-
已校准测量电流的电阻器;
一产生正向电流脉冲的电感器和电容器,S-—控制电流脉冲的开关器件,接遥时产生脉冲,脉冲电流结束应立即断开;
Vp、Ap
一锋值电压表、峰值电
流表或示波器。峰值电压表应能显示正向电流达到峰值时的电压值。
B1.2测试条件
G一可调脉冲交流电源。
a、结温:逐批试验为25℃,要求时可为25℃和T(vi);b、正向峰值电流:额定正向平均电流的倍(元可取3)或按产品标准规定;C、电流脉冲宽度:按被测器件在测量期间载流子能充分达到平衡选取;d、电流脉冲:可以是单次的,也可以是发热可以忽略的低重复频率的;e、测量点位置:按图B2规定或模块相应两端子:f、被测器件与夹具的紧固压力或力矩:按产品标准规定。金星压板
全属压板
B2反向重复峰值电流(IrR)
B2.1原理电路及要求
原理电路如图B3所示;bZxz.net
一被测器件:
—可调交流电压源
Rs—已校准测量电流的电阻器;JB5834.3—91
提供负半周电压的二极管,使只测量D的反向特性,限流保护电阻器。尚D击穿时,限制通过D的电流;Ap、Vp-
示波器。峰值电流表显示反向电压达到峰值时的电流值。B2.2测试条件
a、结温,25℃和T(vi);
b、反向电压:VRRM
C、交流电压频率:50Hz,
B3正向(不重复)浪涌电流(Ips)B3.1原理电路及要求
原理电路如图B4所示。
被测器件:
Ap、Vp
峰值电流表、蜂值电压表或
~50H
一峰值电流表、峰值电压表或示波器(余辉时间长的):-阻断由变压器T2产生的正向电压的二极管;R1--调节浪通电流的电阻器;
使电路正常工作的最小保护电阻器;在正向浪涌半周期间,具有180°导通角的机械电气或电子开关通过S提供正向半周浪涌电流的低压大电流变压器。此电流波形应基本上是持续时间近似10ms,重复频率近似每秒50个脉冲的正弦半波;
小提示:此标准内容仅展示完整标准里的部分截取内容,若需要完整标准请到上方自行免费下载完整标准文档。
电力整流模块
MDS系列5A以上三相桥式整流模块1主题内容与适用范围
JB5834.3-91
本标准规定了三相桥式电力整流模块的技术要求和检验及其依据。本标准适用于六个整流管芯片组成、按壳温额定MDS5~MDS150型三相桥式整流模块(以下简称模块)。
引用标准
GB4937
半导体分立器件机械和气候试验方法半导体分立器件接收和可靠性
GB4938
GB2423.4电工电子产品基本环境试验规程试验D:交变湿热试验方法GB2900.32电工名词术语,电力半导体器件:3技术要求
.3.1外形尺寸
中中·中中国
(MDS5)
机械电子工业部1991—1024批准52
1992—10-01实施
JB5834.8-91
corsaw
(OISAW)
示准变询下费区
JB5834:3--91
(MDS60、MDS100)
JB5834.3—91
JB5834.3-91
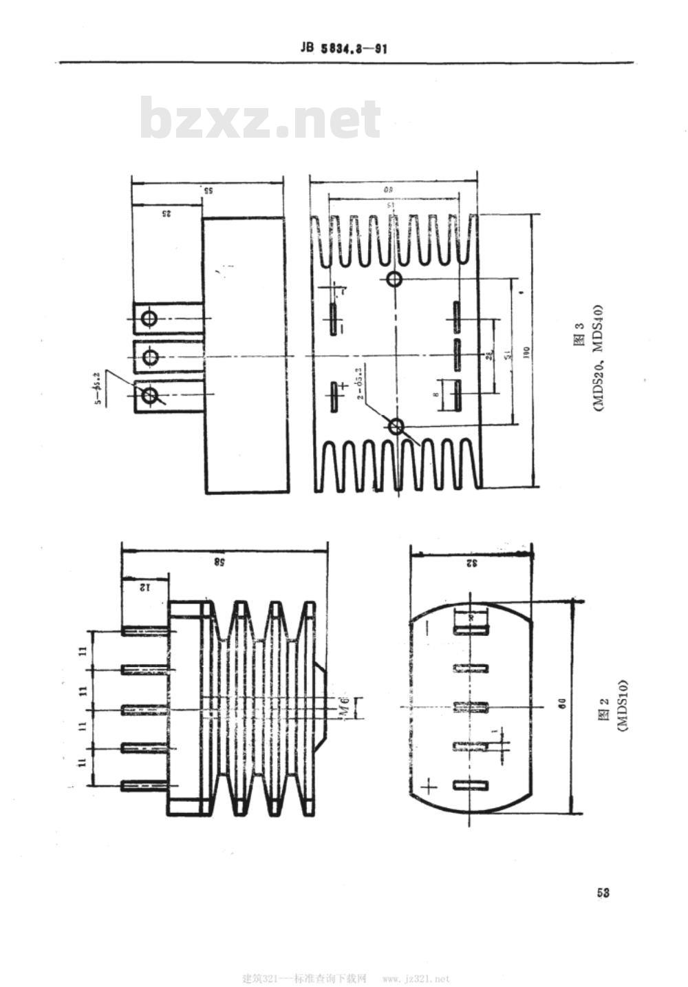
模块的型号和推荐的外形尺寸如图1~图6所示3.2额定值
3.2.1最大额定值(极限值)应符合表1的规定(除I。[I。=3IF(Av))外的电流、电压均为单个芯片值,以下同)
直流输
MDS100
MDS150
出电流
注,?
正向平
均电流
Ig(AV)
正向(不重
复)浪涌电流
I。为对应壳温时的值。
反向重复反向不重复
峰值电压
50~1600
4 ×103
峰值电压
等效结温
此存温度
=0.9Vgm125(或150))
-40~140
(或160)
壳温为模块壳体底板长侧面几何中心点(基准点)的温度。等效结温和爬存温度据号中的数值为非环氧封装型的,以下同。?
额定反向重复峰值电压(VRR)按表2分级。表2
3.3特性值
特性值应符合表3规定。
MDS100
MDS150
正向峰值电压
JB5834.S-91
参数及数值
反向重复峰值电流
注:①结壳热阻为芯片结到模块壳体基准点的热阻结壳热阻
模块绝缘电压为各端子与壳体之间的耐压,为最小值,其他为最大值。②
检验规则
.4.1逐批(A组)检验
A组检验按表4规定。
检验项目
电特件
(不能工作)
V(RMS)
检验方法
在正常照明和正
常视力下目检
按A2b
见附录B中的B1
见附录B中的B2
正弦波,50Hz,
电压2000V,维
持时间1min
注:①USL为表3对应型号的数值。以下同②AQL抽样见附录A中的A1。
标志消晰,表面
无机械损伤
极性颠倒
VM>10USL
IRRM>100USL
符合表3规定
符合表3规定
无击穿、闪络
模块绝缘电压
VISO(RMS)
抽样方案
AQL(II)
如A组第一次提交检验不合格,可按附录A中A1条加严一级重新提交检验,但只能重新提交一次。4.2周期(B组)检验
JB5834.3-91
B组检验按表5规定。正常生产的定型产品,每年至少应作一批B组检验。标有(D)的检验是破坏性的。
检验项目
易焊性(仅适用于
焊接电极)
温度变化继之
交变湿热(D)
电耐久性
放行批证明记录
检验方法
按图1~图6
GB4937的2.1.2
(穗焊法)
GB4937的3.1.1
TA=-40*℃、T=1409℃
(或160-9℃)
循环5次
试验Ds:方式2
严酷度:55℃
循环6次
高温反偏
GD4938的3.2
正弦波50Hz,70%
VRRM,结温=125-g℃
(或150)168h
合格判据
最大外形及安装
尺寸符合规定
润湿良好
最后测试:
VFM、IRRM符合
表3规定
最后测试:
IRRM≤2USL
简要给出B5,B8各分组的有关属性数据和试验结论法:①抽样方案栏中n为抽样数,c为合格判定数,以下同。T
抽样方案
如B组第一次提交检验不合格,可按附录A中的A2追加抽样再进行一次检验,但每一检验分组只能追加一次,且追加的样品应经受该分组的全部检验。4.3周期(C组)检验
C组检验按表6规定。正常生产的定型产品,每年至少应作批C组检验。如C组第一次提交检验不合格,可按B组第一次提交检验不合格处理。5标志和订货资料
5.1产品上的标志
a、产品型号及质量类别(I类)3b、制造厂名称、代号或商标;
c、电原理图,用“~”表示输入端“+”和“”表示输出端d、检验批识别代码。
5.2包装盒(箱)上的标志
a、产品名称、型号及质量类别;58
b、制造厂名称、代号或商标;
c:检验批识别代码;
d、防潮、防雨标志等。
检验项目
耐焊接热(仅适
用于焊接电极)
电耐久性
高温贮存
检验方法
JB5834.3-91
按图1~图6
见附录B中的B3
50%VRRM,
1次1个周波,20次,
见附录B中的B4
GB4937的2.2.2
方法1A
高温反偏
CB4938的3.2
1000-8h
其余条件同B8分组
GB4937的3.2
Tstg=140.9℃
(或160_),1000±h
合格判据
全部尺寸符合规定
最后测试:
VM≤1.1USL
IRRM≤2USL
符合表3规定
最后测试:
VEM、IRRM符合表8规定
最后测试:
V≤1.1USL
IRRM≤2USL
最后测试:
VM≤1.1USL
RRM≤2USL
放行批证明记录简要给出C8、C9分组的有关属性数据和试验结论5.3订货资料
订购一种具体产品至少需要以下资料;a、产品型号及质量类别;
b、本标准的编号;
c、其他。
抽样方案
A1AQL抽样
AQL抽样按表A1
批量范围
16—25
91-150
151280
281-500
501-1200
样品量
注:①本表展检验水平(I)II
JB5834.3-91
附录A
(补充件)
C为合格判定数,1为不合格判定数;②
箭头表示应使用指向的第一个抽样方案,若箭头指向对应处的样品量等于或大于批量,则应对批进行百分?
之百检验。
追加抽样
追加抽样按表A2
样品量
初次抽样
追加抽样
追加数
合格判定数
B1正向峰值电压(Vp)
本测试使用脉冲法。
B1.1原理电路及要求
原理电路如图B1所示。
JB5834.3--91
附录B
极限值和电特性的检验和测试
(补充件)
D——被测器件,
L、C-
已校准测量电流的电阻器;
一产生正向电流脉冲的电感器和电容器,S-—控制电流脉冲的开关器件,接遥时产生脉冲,脉冲电流结束应立即断开;
Vp、Ap
一锋值电压表、峰值电
流表或示波器。峰值电压表应能显示正向电流达到峰值时的电压值。
B1.2测试条件
G一可调脉冲交流电源。
a、结温:逐批试验为25℃,要求时可为25℃和T(vi);b、正向峰值电流:额定正向平均电流的倍(元可取3)或按产品标准规定;C、电流脉冲宽度:按被测器件在测量期间载流子能充分达到平衡选取;d、电流脉冲:可以是单次的,也可以是发热可以忽略的低重复频率的;e、测量点位置:按图B2规定或模块相应两端子:f、被测器件与夹具的紧固压力或力矩:按产品标准规定。金星压板
全属压板
B2反向重复峰值电流(IrR)
B2.1原理电路及要求
原理电路如图B3所示;bZxz.net
一被测器件:
—可调交流电压源
Rs—已校准测量电流的电阻器;JB5834.3—91
提供负半周电压的二极管,使只测量D的反向特性,限流保护电阻器。尚D击穿时,限制通过D的电流;Ap、Vp-
示波器。峰值电流表显示反向电压达到峰值时的电流值。B2.2测试条件
a、结温,25℃和T(vi);
b、反向电压:VRRM
C、交流电压频率:50Hz,
B3正向(不重复)浪涌电流(Ips)B3.1原理电路及要求
原理电路如图B4所示。
被测器件:
Ap、Vp
峰值电流表、蜂值电压表或
~50H
一峰值电流表、峰值电压表或示波器(余辉时间长的):-阻断由变压器T2产生的正向电压的二极管;R1--调节浪通电流的电阻器;
使电路正常工作的最小保护电阻器;在正向浪涌半周期间,具有180°导通角的机械电气或电子开关通过S提供正向半周浪涌电流的低压大电流变压器。此电流波形应基本上是持续时间近似10ms,重复频率近似每秒50个脉冲的正弦半波;
小提示:此标准内容仅展示完整标准里的部分截取内容,若需要完整标准请到上方自行免费下载完整标准文档。
标准图片预览:





- 热门标准
- 机械行业标准(JB)
- JB/T9396-1999 环块磨损试验机 技术条件
- JB/T7732.1-1995 地膜覆盖机 技术条件
- JB/T7422.2-1999 立式内圆珩磨机 精度检验
- JB/T7665-1995 通用机械噪声声功率级现场测定 声强法
- JB/T9272-1999 氨压力表
- JB/T7273.8-1994 背面波纹手轮
- JB/T5810-1991 电机磁极线圈及磁场绕组匝间绝缘试验规范
- JB/T450-1992 PN16.0~32.0MPa锻造角式高压阀门、管件、紧固件 技术条件
- JB/T6664.2-1993 自吸泵 技术条件
- JB/T8022.1-1999 机床夹具零件及部件 内涨器
- JB/T9014.7-1999 连续输送设备 散粒物料 堆积角的测定
- JB/T9541-1999 家用换气扇用电动机 通用技术条件
- JB/T9991-1999 电镀金刚石铰刀
- JB/T10352-2002 YFB系列粉尘防爆型三相异步电动机(机座号63~355)技术条件
- JB/T10438-2004 额定电压450/750V及以下交联聚氯乙烯绝缘电线和电缆
- 行业新闻
请牢记:“bzxz.net”即是“标准下载”四个汉字汉语拼音首字母与国际顶级域名“.net”的组合。 ©2025 标准下载网 www.bzxz.net 本站邮件:bzxznet@163.com
网站备案号:湘ICP备2025141790号-2
网站备案号:湘ICP备2025141790号-2