- 您的位置:
- 标准下载网 >>
- 标准分类 >>
- 机械行业标准(JB) >>
- JB/T 7434-1994 阀用电磁铁插头座
标准号:
JB/T 7434-1994
标准名称:
阀用电磁铁插头座
标准类别:
机械行业标准(JB)
英文名称:
Solenoid plug socket for valve标准状态:
已作废-
发布日期:
1994-09-06 -
实施日期:
1995-07-01 -
作废日期:
2007-03-01 出版语种:
简体中文下载格式:
.rar.pdf下载大小:
3.22 MB
替代情况:
被JB/T 7434-2006代替采标情况:
ISO 4400-85 NEQ ISO 6952-89
归口单位:
成都机床电器研究所相关标签:
插头
点击下载
标准简介:
标准下载解压密码:www.bzxz.net
本标准参照采用国际标准ISO 4400-85和ISO 6952-89。 JB/T 7434-1994 阀用电磁铁插头座 JB/T7434-1994
部分标准内容:
中华人民共和国机械行业标准
JB/T7434-94
阀用电磁铁插头座
1994-09-06发布
中华人民共和国机械工业部
1995-07-01实施
中华人民共和国机械行业标准
阀用电磁铁插头座
JB/T 743494
本标准参照采用国际标准ISO4400一85流体动力系统和元件一三脾电源插头座一特性和要求》及ISO6952一89%流体动力系统和元件一二脚电源插头座一特性和要求》。1主题内容与适用范围
本标准规定了阀用电磁铁用插头座(以下简称插头座)型式、参数、技术要求、试验方法和检验规则等。
本标准适用于在交流50/60Hz电压至380V、直流电压至220V的电路中,作为阀用电磁铁与液压、气动控制元件电源连接的插头座。本标准不适用于在通电条件下操作的插头座。引用标准
GB1497
GB2828
GB2900.18
GB4207
GB 5169.4
GB5226
GB/T14048.1
3术语、符号、代号
低压电器基本试验方法
低压电器基本标准
电工电子产品基本环境试验规程试验Db:交变湿热试验方法逐批检查计数抽样程序及抽样表(适用于连续批的检查)电工术语低压电器
固体绝缘材料在潮湿条件下相比漏电起痕指数和耐漏电起痕指数的测定方法低压电器外壳防护等级
电工电子产品着火危险试验
灼热丝试验方法和导则
工业机械电气设备通用技术条件低压开关设备和控制设备总则
除本标准规定外,术语、符号、代号符合GB2900.18、CB1497的规定。3.1
3.2插头座:由插头和插座两部分组成,当连接时,能连续通电。4型式、基本参数与尺寸
4.1型式
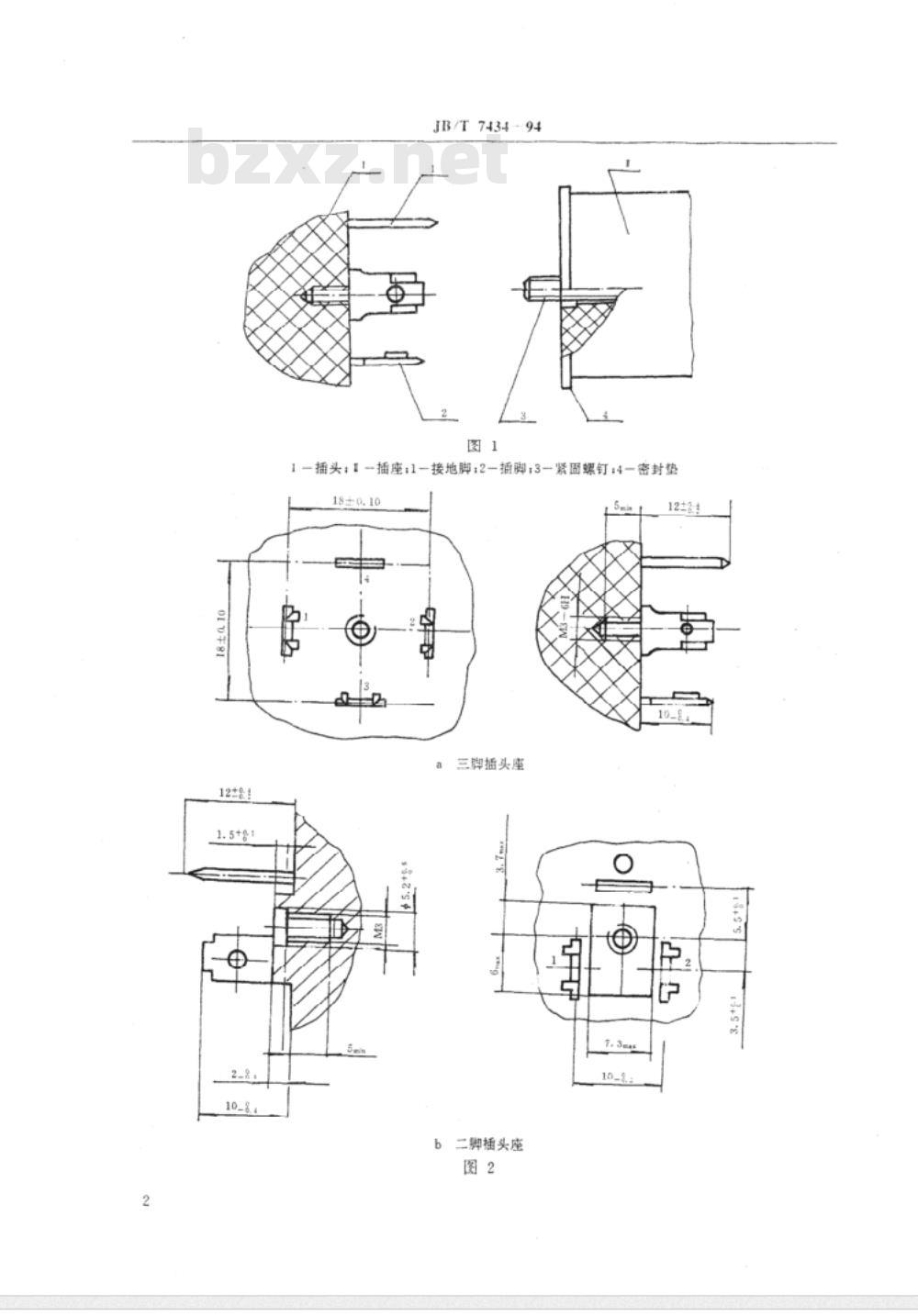
4.1.1插头座由插头和插座两部分组成(见图1)4.1.2插座引用孔压紧螺母螺纹三脚型式为M18X×1.5,二脚型式为M16×1.5,接线柱接线孔径不小于2.5m。
4.1.3插脚和接地脚的位置、尺寸及标记,般应符合图2,推荐采用图3规定机械工业部1994-09-06批准
1995-07-01实施
JB/T 7434--94
1—插头:-插座:1-接地脚:2-插脚13-紧固螺钉:4密封垫三脚插头座
二脚插头座
.8±0.10
a插脚尺寸
JB/T 743494
4.2型号及其含义
ACFO-OO/OO
b接地脚尺寸
插座颜色:H黑色;U:灰色
电压等级
派生代号,基本型不带派生代号D:带灯
Q:带有全波整流装置
B;带有半波整流装置
R:全波整流带灯
S:半波整流带灯
基本规格代号:2:二脚:3:三脚设计序号
阀用电磁铁
插头座
4.3基本参数
额定工作电压:交流380,220,110V;直流:220,110,36.24,12V;接插部件约定发热电流:10A。
技术要求
正常工作条件和安装条件
周围空气温度
周围空气温度上限不超过十40C;周围空气温度24h的平均值不超过+35℃:周围空气温度下限为-5C。
安装地点的海拔不超过2000m。
5.1.3大气条件
JB/T 7434·94
大气相对凝度在周围空气温度为+40℃时不超过50%:在较低温度下可以有较高的相对湿度.最湿月的月平均最大相对湿度为S0%,间时该月的月平均最低温度为+25C,并考虑到因温度变化发生在产品表面上的凝露。
5.1.4污染等级
插头座的污染等级为2级。
5.1.5安装类别
插头座的安装类别为「级。
5.1.6额定工作制
插头座适用于不间断工作制。
5.2结构要求
5.2.1装配质量
当插头完全插合时,用螺钉紧固,在正常使用中不应松动,并须借助工具拆卸后方可露出内部a.
带电零件:
插脚和接地脚周定在插头上.插合时应保证在电源接通前就可靠接地,插头接地脚附近有明显b.
的接地标志:
插座上需加置密封垫,以保证插头插座装配后的密封性,其外形尺寸推荐采用图4。26.5
外观质量
塑料表面无气泡、裂纹、缺料、变形、擦伤、毛刺;金属零件均应有防蚀保护层,保护层不得有起壳、剥落等缺陷:导电零件表面应光滑,无毛刺及腐蚀痕迹;螺钉连按和合处,均不得有松动或自动松脱现象。电气间隙与爬电距离
插头座的电气间不小于1.5mm;
插头座的最小履电距离应符合表1规定。表1
凱定绝缘电压
第望插座的密封整部分
5.2.4相比漏电起痕指数
JB/T 7434—94
绝缘材料组别可按它们的相比漏电起痕指数(CT1)值划分为以下四个组别:绝缘材料组别1;CTI600
绝缘材料组别I:600>CTI≥400
绝缘材料组别a:400>CTI≥175
绝缘材料组别b,175.>CTI>100
5.2.5耐老化性能
橡胶密封件置于温度为70士2℃的环境中,历时10天后,试品无表面龟裂或收缩,尤材料变粘或出油现象。
5.2.6抗非正常热和着火危险
绝缘材料部件应具有抗非正常热的性能和通过着火危险试验。5.2.7外壳防护等级
插头座外壳防护等级为IP65。
5.2.8跌落
插头座在带导线离地面1m的高度跌落10次后,不应发现零件松动、脱离、开裂等现象,5.2.9耐撞击性能
插头座的绝缘壳体应能承受0.15kg重的摆锤、以一定的垂直高度(插头为250mm,插座为150mm)撞击5次,不出现肉眼能见到的裂纹。5.3性能要求
5.3.1介电性能
插头座各插脚之间(插脚对地、导电脚对接地脚)的绝缘应能承受GB/T14048规定的电压值.历时1min的工频耐压试验而无击穿或闪络现象。5.3.2绝缘电阻
插头座各插脚之间和插脚与壳体之间其绝缘电阻值应不小于100Mα。5.3.3耐湿性能
插头座应具有适应混热环境的能力,试验严醋等级为最高温度十40C.试验周期为6天。其绝缘电阻不低于1MQ并能承受5.3.1条规定值的80%,历时1min的工频耐压试验。5.3.4接触电阻
拥合后的接地脚之间的接触电阻不大于0.08α。任何两对插脚连接其接触电阻不大于0.15。5.3.5插拨寿命
插头座在正常工作条件下,操作50次插拨后,应符合5.3.1条、5.3.4条的规定、5.3.6插拔力
整个插座从插头插入和拔出的力(三脚十接地脚)应不超过80N,(二脚十接地脚)应不超过60N。5.3.7耐低温性能
插头座置于温度为一25℃低温箱内,历时16h后,塑料件应无肉眼可见的裂纹或开裂。5.3.8耐高温性能
插头座置于温度为115土2C的环境中,历时4天后,塑料件应不变形、开裂、软化5.3.9耐油性能
插头座置于温度为23士2C的N100,32号普通液压油下,历时16h后,塑料、橡胶件表面不得变粘、软化、溶胀,并符合5.3.1条的规定。5.3.10接触性能
插头座安装于相应型号的电磁铁上,接通电源(直流电源应任意接上,不分极性)连续操作20次,电磁铁能正常工作,指示灯能正常指示。5
6试验方法
基本要求
JB/T 7434 - 94
6.1.1插头座试验方法除本标准规定外,其余按GB998、GB1497规定进行。6.1.2每项试验或每个完成的顺序试验应在新的清洁的产品上进行。6.2验证结构要求
一般检查
用目测检查插头座的标志、接地标志、塑料件、导电零件、外观质量;插头座装配质量、电气间隙、爬电距离、插脚位置、尺寸等检查可用0~125mm的游标卡尺进b.
行.精度为0.02mm。
6.2.2相比漏电起痕衰指数值的测定绝缘材料相比漏电起痕指数(CTI)值的测定按GB4207进行。6.2.3耐老化试验
插头座放在大气的压力和成分同周围空气一样,并有自然循环通风,室温70士2℃的试验室内,历时10天后,试品放入相对湿度为45%~55%环境中不少于1天应符合5.2.5条的要求。6.2.4抗非正常热和着火危险试验按GB5169.4有关条文进行,采用960℃灼热丝顶端的试验温度,试验持续时间为301$。6.2.5外壳防护等级试验
插头座安装在相应的电磁铁外壳上.按GB4942.2中表3、表4进行.并按5.3.1条规定值50%进行耐压试验,
6.2.6跌落试验
试验时把试品悬挂于试验架上(见图5)插头座导线(每根导线线芯截面积0.5mm)长2250土10mm.从高度1m处向坚硬的水泥平地或至少25mm厚的钢板(钢板面积300mmX500mm)上,连续自由跌落10次,目测符合5.2.8条的要求。6.2.7撞击试验
试品安装在试验架上(见图6),摆镖用硬木板制成冲击面为半径10mm的半球形,摆柄由外径10mm、壁厚0.5mm的钢管制成,其有效长度为1m。调定高度后,依次选择试品最薄弱的5个点,使摆链白由下摆冲击,符合5.2.9条的要求。n
2250±10
水地与铜板
JB/T 7434 -- 94
1一定位销;2摆柄;3-摊头:4一试品;5-底板(厚8mm胶合板);6-支架;b冲击高度6.3验证性能要求
6.3.1工频耐压试验
按GB998中6.3条规定进行,符合5.3.1条的规定,且漏泄电流不大于50mA。6.3.2绝缘电阻试验
用500V兆欧表在每个接触对之间和各接触对与外壳之间进行测定.符合5.3.2条的规定、6.3.3耐湿热性能试验
按GB2423.4中Db:交变湿热试验方法规定进行,符合5.3.3条的规定。6.3.4接触电阻测定
根据GB5226规定进行试验.按5.3.4条规定的部位分别通以10A的电流然后测量其电压降(连接导线的截面为2.5mm\),并根据电流和电压降计算出电阻的数值.该电阻数值不应超过5.3.4条的规定值(不包括连线电阻),试验按图7进行。220V
R-滑线电阻;A、V-0.5级直流电流、电压表:X-插头座6.3.5插拨寿命试验
插头座按水平工作位置固定,用手以10mm/s的速度相对往复插拨(当插头、插座分离时静止7
JB/T 7434 -94
30s)50次后,检查零件有否损坏,并符合5.3.1、5.3.条的规定、6.3.6插拔力测定试验
插入力的测定
插座放在字盘案秤上、加重物于插头上,使其完全插入插座,记录案秤读数(减去插座的重量),不大于规定的力。
拔出力的测定
插头插入插座,并使插头上悬挂重物(重物的重力线与插头座的中心轴线在同一直线上).使插头、播座分离,重物的重量与插头重量与插头重量之和应不大于规定的力。c.符合5.3.6条的规定。
6.3.7低温试验
将处在试验环境温度下插合好的插头座不加负载,放入温度稳定在一25(试验箱内(试验时问从试品达到温度稳定时算起)持续16h后取出,除去试品表面水滴(试品恢复至少1h)。目测符合5.3.7条的要求。
6.3.8高温试验
将处在试验环境温度下插合好的插头座不加负载,加入温度稳定在115士2℃试验箱内(试验时间从试品达到温度稳定时算起),相对湿度不超过50%,历时4天后取出(试品恢复至少1h),目测符合5.3.8条的要求。
6.3.9耐油试验
插头座(不插合)没在环境温度为23±2C的32号液压油内(试品的最高点在油平面下)持续16h后取出.用轻质汽油冲洗试品附着油液.即按5.3.1条进行耐压试验.目测应符合5.3.9条的要求6.3.10接触性能试验
用手工操作(通、断)20次,符合5.2.1b.、5.3.10条的要求,试验按图8进行。?
电源(
A.V-电流.电压表:YA一跟用电醛铁:-指示灯:X一播头座7
检验规则
插头座试验和检验分类
型式试验;
定期试验:
出厂检验:常规检验;出厂抽样检验。.
7.2型式试验
型式试验的日的是验证插头座的设计和性能是否符合本标准的要求,插头座的型式试验在下列情况下进行:
试制的新产品或转厂重复试制的产品;a.
当产品在设计上更改或制造工艺、使用原材料、零部件更改可能影响其性能时.则需进行全部h.
或有关项目的型式试验
JB/T 7434- 94
型式试验项目和顺序按表2的规定。表2
试验项
般检查
a.装配质量检查
b.连接尺寸检查
c.外观质量检查
d.标志、包装检查
相比漏电起银指数测定
耐老化试验
着火危险试验
外壳防护等级试验
跌落试验
撞击试验
工類耐压试验
绝缘电阻试验
耐湿性能试验
接触电阻测定
插拔寿命试验
插拔力测定试验
低温试验
高温试验
耐油试验
接触性能试验
4. 1. 2.4. 1. 3
为缩短试验周期,允许分组进行试验。注:
型式试验规则
试验方法
型式试验
定期试验
用作型式试验的插头座,必须是正式样品,每个试验项目应不少于3台.所有试验项目都能通过和所有承受试验的试品都合格,才能认为插头座的型式试验合格.型式试验中对不构成威胁安全或严重降低性能指标的项目如有失误,只要制造厂能提供充分证据,说明该失误并不是设计上的固有缺陷、而是个别试品的缺陷所致,则允许按原试品数量复试,复试合格仍认为型式试验合格。7.3定期试验Www.bzxZ.net
对于正式生产的产品,应进行定期试验,定期试验每隔3年进行一次。7.3.1定期试验项目和顺序见表2的规定。7.3.2定期试验规则
定期试验插头座必须从出厂检验合格的成批产品中随机抽取,每个试验项目应不少于3台,所有试验项目都能通过和所有被试品都通过,才认为定期试验合格.若在试验中仅遇1台1项不通过,测允许对该项目按原抽样数量复试,若复试中全部通过则仍可认为定期试验合格、如再出现1台1项不通过、则认为定期试验不合格。
7.4出厂检验
7.4.1常规格验
7. 4. 1. 1
常规检验项目
装配质量检查(5.2.1);
工频耐压试验(5.3.1):
外观质量检查(5.2.2);
标志、包装检查(8.1、8.2)。
常规检验规则
7. 4. 1. 2
JB/T7434
常规试验是插头座在生产过程中后续工序必须逐台进行试验与检查的项目.常规检验不合格的产品必须逐台退修,直到完全通过为止,若无法修复,应予报废。7. 4. 2
出厂抽样检验
7. 4. 2. 1
出厂抽样检验项目
电气间隙与肥电距离(5.2.3);连接尺寸检查[4.1.2、4.1.3(不包括图3)];接触电阻测定(5.3.4);
插拨力试验(5.3.6);
接触性能试验(5.3.10)。
7.4.2.2出厂抽样检验规则
插头座在出厂前必须进行抽样检验,每批插头座出厂前应随机抽取表3中规定的试品数量(n)进行检验,如其中不合格台数等于或小于合格判定数(Ac),该批产品即为合格;如不合格台数等于或大于不合格判定数(Re),则认为不合格,如果不合格数大于Ac:,又小于Re,则再抽取(nz)台试品进行检验。如果前后两次检验不合格数的和等于或小于Ac2,则该批产品仍为合格;如果不合格数的和等于或大于Re2,则认为该批产品不合格。表3
批量范围
281~500
501~1200
12013200
3201~10000
标志、包装、运输与贮存
8.1标志
每台插头座应在显著的位置标以清晰、易于辨认,并且不易磨灭的标志,其不应安置在可移去的部件上,标志内容:
制造厂厂名或商标;
产品型号或名称:
额定工作电压;
接地标志、接线编号;
产品符合标准号;
外壳防护等级:
出厂年月或出厂编号。
如果产品或标牌可供使用的位置不足以载全上述内容.则在产品或标牌上至少应载a、b、C、d四项,10
小提示:此标准内容仅展示完整标准里的部分截取内容,若需要完整标准请到上方自行免费下载完整标准文档。
JB/T7434-94
阀用电磁铁插头座
1994-09-06发布
中华人民共和国机械工业部
1995-07-01实施
中华人民共和国机械行业标准
阀用电磁铁插头座
JB/T 743494
本标准参照采用国际标准ISO4400一85流体动力系统和元件一三脾电源插头座一特性和要求》及ISO6952一89%流体动力系统和元件一二脚电源插头座一特性和要求》。1主题内容与适用范围
本标准规定了阀用电磁铁用插头座(以下简称插头座)型式、参数、技术要求、试验方法和检验规则等。
本标准适用于在交流50/60Hz电压至380V、直流电压至220V的电路中,作为阀用电磁铁与液压、气动控制元件电源连接的插头座。本标准不适用于在通电条件下操作的插头座。引用标准
GB1497
GB2828
GB2900.18
GB4207
GB 5169.4
GB5226
GB/T14048.1
3术语、符号、代号
低压电器基本试验方法
低压电器基本标准
电工电子产品基本环境试验规程试验Db:交变湿热试验方法逐批检查计数抽样程序及抽样表(适用于连续批的检查)电工术语低压电器
固体绝缘材料在潮湿条件下相比漏电起痕指数和耐漏电起痕指数的测定方法低压电器外壳防护等级
电工电子产品着火危险试验
灼热丝试验方法和导则
工业机械电气设备通用技术条件低压开关设备和控制设备总则
除本标准规定外,术语、符号、代号符合GB2900.18、CB1497的规定。3.1
3.2插头座:由插头和插座两部分组成,当连接时,能连续通电。4型式、基本参数与尺寸
4.1型式
4.1.1插头座由插头和插座两部分组成(见图1)4.1.2插座引用孔压紧螺母螺纹三脚型式为M18X×1.5,二脚型式为M16×1.5,接线柱接线孔径不小于2.5m。
4.1.3插脚和接地脚的位置、尺寸及标记,般应符合图2,推荐采用图3规定机械工业部1994-09-06批准
1995-07-01实施
JB/T 7434--94
1—插头:-插座:1-接地脚:2-插脚13-紧固螺钉:4密封垫三脚插头座
二脚插头座
.8±0.10
a插脚尺寸
JB/T 743494
4.2型号及其含义
ACFO-OO/OO
b接地脚尺寸
插座颜色:H黑色;U:灰色
电压等级
派生代号,基本型不带派生代号D:带灯
Q:带有全波整流装置
B;带有半波整流装置
R:全波整流带灯
S:半波整流带灯
基本规格代号:2:二脚:3:三脚设计序号
阀用电磁铁
插头座
4.3基本参数
额定工作电压:交流380,220,110V;直流:220,110,36.24,12V;接插部件约定发热电流:10A。
技术要求
正常工作条件和安装条件
周围空气温度
周围空气温度上限不超过十40C;周围空气温度24h的平均值不超过+35℃:周围空气温度下限为-5C。
安装地点的海拔不超过2000m。
5.1.3大气条件
JB/T 7434·94
大气相对凝度在周围空气温度为+40℃时不超过50%:在较低温度下可以有较高的相对湿度.最湿月的月平均最大相对湿度为S0%,间时该月的月平均最低温度为+25C,并考虑到因温度变化发生在产品表面上的凝露。
5.1.4污染等级
插头座的污染等级为2级。
5.1.5安装类别
插头座的安装类别为「级。
5.1.6额定工作制
插头座适用于不间断工作制。
5.2结构要求
5.2.1装配质量
当插头完全插合时,用螺钉紧固,在正常使用中不应松动,并须借助工具拆卸后方可露出内部a.
带电零件:
插脚和接地脚周定在插头上.插合时应保证在电源接通前就可靠接地,插头接地脚附近有明显b.
的接地标志:
插座上需加置密封垫,以保证插头插座装配后的密封性,其外形尺寸推荐采用图4。26.5
外观质量
塑料表面无气泡、裂纹、缺料、变形、擦伤、毛刺;金属零件均应有防蚀保护层,保护层不得有起壳、剥落等缺陷:导电零件表面应光滑,无毛刺及腐蚀痕迹;螺钉连按和合处,均不得有松动或自动松脱现象。电气间隙与爬电距离
插头座的电气间不小于1.5mm;
插头座的最小履电距离应符合表1规定。表1
凱定绝缘电压
第望插座的密封整部分
5.2.4相比漏电起痕指数
JB/T 7434—94
绝缘材料组别可按它们的相比漏电起痕指数(CT1)值划分为以下四个组别:绝缘材料组别1;CTI600
绝缘材料组别I:600>CTI≥400
绝缘材料组别a:400>CTI≥175
绝缘材料组别b,175.>CTI>100
5.2.5耐老化性能
橡胶密封件置于温度为70士2℃的环境中,历时10天后,试品无表面龟裂或收缩,尤材料变粘或出油现象。
5.2.6抗非正常热和着火危险
绝缘材料部件应具有抗非正常热的性能和通过着火危险试验。5.2.7外壳防护等级
插头座外壳防护等级为IP65。
5.2.8跌落
插头座在带导线离地面1m的高度跌落10次后,不应发现零件松动、脱离、开裂等现象,5.2.9耐撞击性能
插头座的绝缘壳体应能承受0.15kg重的摆锤、以一定的垂直高度(插头为250mm,插座为150mm)撞击5次,不出现肉眼能见到的裂纹。5.3性能要求
5.3.1介电性能
插头座各插脚之间(插脚对地、导电脚对接地脚)的绝缘应能承受GB/T14048规定的电压值.历时1min的工频耐压试验而无击穿或闪络现象。5.3.2绝缘电阻
插头座各插脚之间和插脚与壳体之间其绝缘电阻值应不小于100Mα。5.3.3耐湿性能
插头座应具有适应混热环境的能力,试验严醋等级为最高温度十40C.试验周期为6天。其绝缘电阻不低于1MQ并能承受5.3.1条规定值的80%,历时1min的工频耐压试验。5.3.4接触电阻
拥合后的接地脚之间的接触电阻不大于0.08α。任何两对插脚连接其接触电阻不大于0.15。5.3.5插拨寿命
插头座在正常工作条件下,操作50次插拨后,应符合5.3.1条、5.3.4条的规定、5.3.6插拔力
整个插座从插头插入和拔出的力(三脚十接地脚)应不超过80N,(二脚十接地脚)应不超过60N。5.3.7耐低温性能
插头座置于温度为一25℃低温箱内,历时16h后,塑料件应无肉眼可见的裂纹或开裂。5.3.8耐高温性能
插头座置于温度为115土2C的环境中,历时4天后,塑料件应不变形、开裂、软化5.3.9耐油性能
插头座置于温度为23士2C的N100,32号普通液压油下,历时16h后,塑料、橡胶件表面不得变粘、软化、溶胀,并符合5.3.1条的规定。5.3.10接触性能
插头座安装于相应型号的电磁铁上,接通电源(直流电源应任意接上,不分极性)连续操作20次,电磁铁能正常工作,指示灯能正常指示。5
6试验方法
基本要求
JB/T 7434 - 94
6.1.1插头座试验方法除本标准规定外,其余按GB998、GB1497规定进行。6.1.2每项试验或每个完成的顺序试验应在新的清洁的产品上进行。6.2验证结构要求
一般检查
用目测检查插头座的标志、接地标志、塑料件、导电零件、外观质量;插头座装配质量、电气间隙、爬电距离、插脚位置、尺寸等检查可用0~125mm的游标卡尺进b.
行.精度为0.02mm。
6.2.2相比漏电起痕衰指数值的测定绝缘材料相比漏电起痕指数(CTI)值的测定按GB4207进行。6.2.3耐老化试验
插头座放在大气的压力和成分同周围空气一样,并有自然循环通风,室温70士2℃的试验室内,历时10天后,试品放入相对湿度为45%~55%环境中不少于1天应符合5.2.5条的要求。6.2.4抗非正常热和着火危险试验按GB5169.4有关条文进行,采用960℃灼热丝顶端的试验温度,试验持续时间为301$。6.2.5外壳防护等级试验
插头座安装在相应的电磁铁外壳上.按GB4942.2中表3、表4进行.并按5.3.1条规定值50%进行耐压试验,
6.2.6跌落试验
试验时把试品悬挂于试验架上(见图5)插头座导线(每根导线线芯截面积0.5mm)长2250土10mm.从高度1m处向坚硬的水泥平地或至少25mm厚的钢板(钢板面积300mmX500mm)上,连续自由跌落10次,目测符合5.2.8条的要求。6.2.7撞击试验
试品安装在试验架上(见图6),摆镖用硬木板制成冲击面为半径10mm的半球形,摆柄由外径10mm、壁厚0.5mm的钢管制成,其有效长度为1m。调定高度后,依次选择试品最薄弱的5个点,使摆链白由下摆冲击,符合5.2.9条的要求。n
2250±10
水地与铜板
JB/T 7434 -- 94
1一定位销;2摆柄;3-摊头:4一试品;5-底板(厚8mm胶合板);6-支架;b冲击高度6.3验证性能要求
6.3.1工频耐压试验
按GB998中6.3条规定进行,符合5.3.1条的规定,且漏泄电流不大于50mA。6.3.2绝缘电阻试验
用500V兆欧表在每个接触对之间和各接触对与外壳之间进行测定.符合5.3.2条的规定、6.3.3耐湿热性能试验
按GB2423.4中Db:交变湿热试验方法规定进行,符合5.3.3条的规定。6.3.4接触电阻测定
根据GB5226规定进行试验.按5.3.4条规定的部位分别通以10A的电流然后测量其电压降(连接导线的截面为2.5mm\),并根据电流和电压降计算出电阻的数值.该电阻数值不应超过5.3.4条的规定值(不包括连线电阻),试验按图7进行。220V
R-滑线电阻;A、V-0.5级直流电流、电压表:X-插头座6.3.5插拨寿命试验
插头座按水平工作位置固定,用手以10mm/s的速度相对往复插拨(当插头、插座分离时静止7
JB/T 7434 -94
30s)50次后,检查零件有否损坏,并符合5.3.1、5.3.条的规定、6.3.6插拔力测定试验
插入力的测定
插座放在字盘案秤上、加重物于插头上,使其完全插入插座,记录案秤读数(减去插座的重量),不大于规定的力。
拔出力的测定
插头插入插座,并使插头上悬挂重物(重物的重力线与插头座的中心轴线在同一直线上).使插头、播座分离,重物的重量与插头重量与插头重量之和应不大于规定的力。c.符合5.3.6条的规定。
6.3.7低温试验
将处在试验环境温度下插合好的插头座不加负载,放入温度稳定在一25(试验箱内(试验时问从试品达到温度稳定时算起)持续16h后取出,除去试品表面水滴(试品恢复至少1h)。目测符合5.3.7条的要求。
6.3.8高温试验
将处在试验环境温度下插合好的插头座不加负载,加入温度稳定在115士2℃试验箱内(试验时间从试品达到温度稳定时算起),相对湿度不超过50%,历时4天后取出(试品恢复至少1h),目测符合5.3.8条的要求。
6.3.9耐油试验
插头座(不插合)没在环境温度为23±2C的32号液压油内(试品的最高点在油平面下)持续16h后取出.用轻质汽油冲洗试品附着油液.即按5.3.1条进行耐压试验.目测应符合5.3.9条的要求6.3.10接触性能试验
用手工操作(通、断)20次,符合5.2.1b.、5.3.10条的要求,试验按图8进行。?
电源(
A.V-电流.电压表:YA一跟用电醛铁:-指示灯:X一播头座7
检验规则
插头座试验和检验分类
型式试验;
定期试验:
出厂检验:常规检验;出厂抽样检验。.
7.2型式试验
型式试验的日的是验证插头座的设计和性能是否符合本标准的要求,插头座的型式试验在下列情况下进行:
试制的新产品或转厂重复试制的产品;a.
当产品在设计上更改或制造工艺、使用原材料、零部件更改可能影响其性能时.则需进行全部h.
或有关项目的型式试验
JB/T 7434- 94
型式试验项目和顺序按表2的规定。表2
试验项
般检查
a.装配质量检查
b.连接尺寸检查
c.外观质量检查
d.标志、包装检查
相比漏电起银指数测定
耐老化试验
着火危险试验
外壳防护等级试验
跌落试验
撞击试验
工類耐压试验
绝缘电阻试验
耐湿性能试验
接触电阻测定
插拔寿命试验
插拔力测定试验
低温试验
高温试验
耐油试验
接触性能试验
4. 1. 2.4. 1. 3
为缩短试验周期,允许分组进行试验。注:
型式试验规则
试验方法
型式试验
定期试验
用作型式试验的插头座,必须是正式样品,每个试验项目应不少于3台.所有试验项目都能通过和所有承受试验的试品都合格,才能认为插头座的型式试验合格.型式试验中对不构成威胁安全或严重降低性能指标的项目如有失误,只要制造厂能提供充分证据,说明该失误并不是设计上的固有缺陷、而是个别试品的缺陷所致,则允许按原试品数量复试,复试合格仍认为型式试验合格。7.3定期试验Www.bzxZ.net
对于正式生产的产品,应进行定期试验,定期试验每隔3年进行一次。7.3.1定期试验项目和顺序见表2的规定。7.3.2定期试验规则
定期试验插头座必须从出厂检验合格的成批产品中随机抽取,每个试验项目应不少于3台,所有试验项目都能通过和所有被试品都通过,才认为定期试验合格.若在试验中仅遇1台1项不通过,测允许对该项目按原抽样数量复试,若复试中全部通过则仍可认为定期试验合格、如再出现1台1项不通过、则认为定期试验不合格。
7.4出厂检验
7.4.1常规格验
7. 4. 1. 1
常规检验项目
装配质量检查(5.2.1);
工频耐压试验(5.3.1):
外观质量检查(5.2.2);
标志、包装检查(8.1、8.2)。
常规检验规则
7. 4. 1. 2
JB/T7434
常规试验是插头座在生产过程中后续工序必须逐台进行试验与检查的项目.常规检验不合格的产品必须逐台退修,直到完全通过为止,若无法修复,应予报废。7. 4. 2
出厂抽样检验
7. 4. 2. 1
出厂抽样检验项目
电气间隙与肥电距离(5.2.3);连接尺寸检查[4.1.2、4.1.3(不包括图3)];接触电阻测定(5.3.4);
插拨力试验(5.3.6);
接触性能试验(5.3.10)。
7.4.2.2出厂抽样检验规则
插头座在出厂前必须进行抽样检验,每批插头座出厂前应随机抽取表3中规定的试品数量(n)进行检验,如其中不合格台数等于或小于合格判定数(Ac),该批产品即为合格;如不合格台数等于或大于不合格判定数(Re),则认为不合格,如果不合格数大于Ac:,又小于Re,则再抽取(nz)台试品进行检验。如果前后两次检验不合格数的和等于或小于Ac2,则该批产品仍为合格;如果不合格数的和等于或大于Re2,则认为该批产品不合格。表3
批量范围
281~500
501~1200
12013200
3201~10000
标志、包装、运输与贮存
8.1标志
每台插头座应在显著的位置标以清晰、易于辨认,并且不易磨灭的标志,其不应安置在可移去的部件上,标志内容:
制造厂厂名或商标;
产品型号或名称:
额定工作电压;
接地标志、接线编号;
产品符合标准号;
外壳防护等级:
出厂年月或出厂编号。
如果产品或标牌可供使用的位置不足以载全上述内容.则在产品或标牌上至少应载a、b、C、d四项,10
小提示:此标准内容仅展示完整标准里的部分截取内容,若需要完整标准请到上方自行免费下载完整标准文档。
标准图片预览:





- 其它标准
- 热门标准
- 机械行业标准(JB)
- JB/T10056-1999 直流电流互感器 技术条件
- JB/T2756-2006 无轨电车用炭滑块
- JB/T8679-2008 炭弧气刨炭棒 物理及使用性能试验方法
- JB/T7895-2008 永磁筒式磁选机
- JB/T9713-1999 工程机械 湿式铜基摩擦件 技术条件
- JB/T8840-2013 电热器具用电源开关
- JB/T11340.3-2012 阀控式铅酸蓄电池安全阀 第3部分:橡胶帽、阀芯
- JB/T9580-2008 炭石墨 产品分类及型号编制方法
- JB/T10677-2006 投影机 光源
- JB∕T12675-2016 拖拉机液压系统清洁度限值及测量方法
- JB/T6316-2006 Z4系列直流电动机技术条件(机座号100~450)
- JB/T10930-2010 200级耐电晕漆包铜圆线
- JB/T4328.10-1999 电工专用设备 球墨铸铁件通用技术条件
- JB/T10573-2006 工具显微镜
- JB3704-1984 特种调压器用碳电阻片柱电气机械性能试验方法
- 行业新闻
请牢记:“bzxz.net”即是“标准下载”四个汉字汉语拼音首字母与国际顶级域名“.net”的组合。 ©2025 标准下载网 www.bzxz.net 本站邮件:bzxznet@163.com
网站备案号:湘ICP备2025141790号-2
网站备案号:湘ICP备2025141790号-2