- 您的位置:
- 标准下载网 >>
- 标准分类 >>
- 机械行业标准(JB) >>
- JB/T 6134-1992 冶金设备用液压缸(PN≤25MPa) 技术条件
标准号:
JB/T 6134-1992
标准名称:
冶金设备用液压缸(PN≤25MPa) 技术条件
标准类别:
机械行业标准(JB)
英文名称:
Technical requirements for hydraulic cylinders for metallurgical equipment (PN ≤ 25MPa)标准状态:
已作废-
发布日期:
1992-06-09 -
实施日期:
1993-01-01 -
作废日期:
2007-05-01 出版语种:
简体中文下载格式:
.rar.pdf下载大小:
1.65 MB
替代情况:
被JB/T 6134-2006代替采标情况:
neq JIS B8354-85
点击下载
标准简介:
标准下载解压密码:www.bzxz.net
本标准规定了冶金设备用液压缸的技术要求,试验方法,检验规则,标志、包装、运输及贮存。 JB/T 6134-1992 冶金设备用液压缸(PN≤25MPa) 技术条件 JB/T6134-1992
部分标准内容:
中华人民共和国机械行业标准
JB/T6134-1992
冶金设备用液压缸
(p≤25MPa)
技术条件
1992-06-09发布
中华人民共和国机械电子工业部1993-01-01实施
中华人民共和国机械行业标准
冶金设备用液压缸
(pN≤25MPa)
技术条件
1主题内容与适用范围
JB/T 6134-1992
本标准规定了冶金设备用液压缸的技术要求,试验方法,检验规则,标志、包装、运输及贮存。本标准适用于公称压力PN≤25MPa、环境介质温度-20~+80℃,工作介质为矿物性液压油的冶金设备用JB2162、JB/ZQ4395液压缸(以下简称液压缸)。2引用标准
GB2348
GB2349
GB2350
GB2878
GB4879
GB/T13306
JB/ZQ4000
JB/ZQ4286
JB/JQ4235
JB/JQ20502
JB2162
JB/ZQ4395
3技术要求
液压气动系统及元件缸径及活塞杆外径系列液压气动系统及元件
缸活塞行程系列
液压气动系统及元件
活塞杆螺纹型式和尺寸系列
液压气动系统及元件
油(气)口连接螺纹尺寸
防锈包装
通用技术条件
包装通用技术条件
标牌使用规程
液压元件内部清洁度检测方法称重法冶金设备用液压缸(p≤16MPa)型式与尺寸冶金设备用液压缸(p≤25MPa)型式与尺寸3.1液压缸应符合本标准要求,并按经规定程序批准的图样和技术文件制造。液压缸的活塞速度应按表1的规定。3.2
液压缸内径,mm
活塞速度,mm/s
3.3性能
>80-125
3.3.1空载运行按4.3.1条进行试验时,活塞运动应平稳,最低起动压力应不大于表2的规定。3.3.2有载运行按4.3.2条进行试验时,活塞的运动应平稳,不得有爬行等不正常现象。3.3.3内泄漏按4.3.4条进行试验时,液压缸内泄漏应不大于表3的规定。中华人民共和国机械电子工业部1992-06-09批准1993-01-01实施
活塞密封形式
公称压力P%
活塞杆密封形式
液压缸内径
内泄量
JB/T6134—1992
液压缸内径
注:使用组合密封时内泄量不得超过表中数值的2倍3.3.4
外泄漏
于0.002d
内泄量
液压缸内径
mL/10min
内泄量
活塞杆防尘圈处漏油总量应不大按4.3.5条进行试验时,活塞移动距离为100m时,而其他部分不得漏油。
注:d为活塞杆直径,mm。
负载效率按4.3.6条进行试验时,液压缸的负载效率不小于90%,负载效率按下式计算::
式中:2
液压缸的负载效率:
液压缸的输出力,kN;
作用在活塞面上的压力,MPa;
活塞的有效面积,cm2。
×100%
耐压性按4.3.7条进行试验时,不得产生松动、永久变形、零件损坏等异常现象。按4.3.8条进行试验时,液压缸应能正常工作。高温性
耐久性
3.4结构
按4.3.9条进行试验时,不得产生松动、永久变形、异常磨损等现象。3.4.1
1同一制造厂生产的同一种缸径的各种零件,必须具有互换性,不得因为更换零件使性能出现明显变化。
3.4.2液压缸的结构应尽量简单适用,并具有可靠的缓冲、放气装置,活塞杆与活塞的联结必须牢固。3.5尺寸和精度
3.5.1缸筒内径和活塞杆直径尺寸应符合GB2348的规定,其精加工尺寸公差,圆柱度应符合表4的规定,并分别按GB1801、GB1184选取。表4
缸简内径mm
活塞杆直径mm
精加工尺寸公差
圆柱度
JB/T6134-1992
缸筒内表面、活塞杆、活塞、导向套滑动面的表面粗糙度应符合表5的规定。表5
缸筒内表面
活塞杆滑动面
表面粗糙度R
活塞滑动面
导向套滑动面
活塞行程应符合GB2349的规定,其偏差应符合表6的规定。表6
≤100
>100250
>250~630
>630~1000
>1000~1600
缸筒端面和缸盖安装面对轴线的垂直度按GB1184中规定的8级。μm
表面粗糙度R
3.5.5活寒端面对轴线的垂直度按GB1184中规定的8级;活寒滑动面对轴线同轴度按GB1184中规定的8级。
缸筒内表面和活塞滑动面的配合为H8/f8。导向套(或相当于导向套的部分)和活塞杆滑动面的配合为H8/f8。活寒杆前端连接螺纹的型式与尺寸应符合GB2350的规定。油口连接螺纹应符合GB2878的规定。3.6
加工质量
液压缸的加工质量应符合JB/ZQ4000的有关规定,3. 6. 2
活塞杆调质硬度241~286HB,滑动表面碎火硬度42~45HRC,其滑动表面镀铬厚度0.03~0.05mm,铬层硬度800~1000HV。镀层必须光滑细致,不得有起皮、脱落或起泡等缺陷。3.7装配质量
液压缸的装配质量应符合JB/ZQ4000的有关规定。各零件装配前应清除毛刺,并应仔细清洗,各防尘圈及密封件不允许有划伤、扭曲、卷边或脱出等异常现象。
液压缸内部清洁度必须小于表7的规定。表7
缸筒内径,mm
异物重量,mg
80~100
注:行程按1m计,每增加1m,异物重量允许增加10%。125~160
200~250
3.7.4液压缸外露油口应盖以耐油防尘盖,活塞杆外露螺纹和其他连结部位加保护套。试验方法
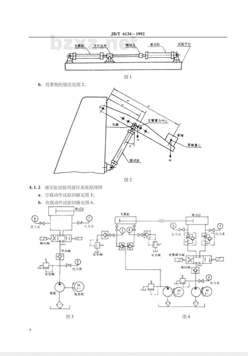
试验装置应以水平或垂直基础为准的平面装置,被试液压缸(下面简称被试缸)用与其支承部分形式相适应的支承方式来安装。a,用加载缸的情况见图1。
负载缸
b,用重物的情况见图2。
导向支座
JB/T6134-1992
轴接头
被试缸
液压缸试验用液压系统原理图
a空载动作试验回路见图3;
b,有载动作试验回路见图4。
压力表
换康网
单肉蝇
脏力表
电动机
安率周
被试缸
支替重力中。
变会线
试验平台
重锤重心
医力&
流晕面节属
区国N
益有润免费标准bzxz.net
压力器
4.2试验条件
4.2.1试验用油液
a.油液温度规定为50℃土5℃;
JB/T6134-1992
b.油液粘度等级规定为VG32或VG46;c.油液的固体污染等级不大于19/16。4.2.2活塞速度按表1的规定,亦可根据供需双方商定。4.3试验项目
4.3.1空载运转被试缸在无载工况下,全行程上进行5次试运转。4.3.2有载运转把试验回路压力设定为公称压力施加负载,以表1的最低及最高速度,分别在全行程动作5次以上,当被试缸的行程特别长时,可改变加载缸的位置,在全行程上依次分段进行有载试运转。
4.3.3最低启动压力在4.3.1条试验时,从无杆侧逐渐施加压力,测其活塞的最低启动压力。4.3.4内泄漏将被试缸的活塞分别固定在行程两端(当行程大于1m时,还须固定在中间),在活塞的一侧施加公称压力,测量活塞另一侧的内泄漏量。4.3.5外泄漏在4.3.1,4.3.2,4.3.4,4.3.7,4.3.9条试验时,测量活塞杆防尘圈处的外泄漏量。4.3.6负载效率调节溢流阀,使进入被试缸无杆侧的压力逐渐升高,测出不同压力下的负载效率,并绘出负载曲线。
4.3.7耐压试验在被试缸无杆侧和有杆侧分别施加公称压力Pn的1.5倍(当pN>16MPa时,应为1.25倍),将活塞分别停留在行程的两端,保压2min进行试验。4.3.8高温试验被试缸在满载工况下,通入90℃土3℃的油液,连续运转1h以上进行试验。4.3.9耐久试验被试缸在满载工况下,使活塞以表1规定的最高速度土10%连续运转,一次连续运转时间不得小于8h。活塞移动距离为150km,在试验中不得调整被试缸的各个零件。4.3.10全行程检验在4.3.1条试验时,将活塞分别停留在行程的两端,测量全行程长度,应符合设计要求及表6的规定。
5检验规则
5.1基本规则
液压缸出厂必须经质量检验部门按本标准检验合格,并附有产品合格文件,方可出厂。5.2出厂检验
5.2.1出厂检验按本标准4.3.1,4.3.3,4.3.7,4.3.10各条逐台检验,按批抽检4.3.4,3.7.3条。5.2.2液压缸内部清洁度检测按JB/JQ20502规定进行。5.2.3液压缸的抽检数量为每批产品的2%,但不得少于2台(件),若抽检中有不合格项目,则对此项目应加倍复试,如仍有不合格者,则对该批产品全检。5.3型式检验
5.3.1型式检验按本标准4.3条进行,用作型式检验的产品必须从出厂检验合格的产品中抽取。5.3.2型式检验的数量规定为3台(件),其中一台/(件)做全项目检验,其余只做性能检验。检验中有不合格项目,可对此项目加倍复检,如仍有不合格者,则该液压缸型式检验不合格。5
JB/T6134—1992
5.3.3型式检验应在液压缸投产前,及设计工艺、材料的改变影响到产品的性能的进行。5.4特殊订货的液压缸,其检验项目由供需双方商定。标志、包装、运输和贮存
6.1标志
液压缸标牌设计要美观大方,字符清晰,并应符合GB/T13306、JB/ZQ4235的规定。6.1.2
在液压缸外壳明显且适当位置固定标牌,标牌应标明:a.产品名称、型号;
b,主要技术参数(压力、缸径、行程等);制造厂名;
d,出厂日期、编号。
液压缸包装箱外壁应清晰地标明:a,产品名称、规格型号、重量;b.收货单位、到站;
c.发货单位;
d,防雨、不得倒置、起重标志的符号。6.2
液压缸的包装要结实牢靠,并有防震、防潮等措施。液压缸的包装应符合JB/ZQ4286、GB4879的有关规定。液压缸采用木箱包装(特殊情况除外),应能保证产品在正常运输过程中不致损伤。液压缸包装箱应装入下列文件:a.产品合格证;
b.使用说明书。
运输过程中严禁磕碰和摔打,包装箱不得有变形和损坏,严禁雨淋。6.4贮存
a.液压缸应贮存在干燥、通风场所;b,液压缸自发货之日起,贮存期为一年。附加说明:
本标准由机械电子工业部西安重型机械研究所提出并归口。本标准由第二重型机器厂、焦作液压机械厂负责起草。本标准主要起草人谭兆美、赵伟。6
中华人民共和国
机械行业标准
冶金设备用液压缸
(pN≤25MPa)
技术条
JB/T 61341992
机械科学研究院出版发行
机械科学研究院印刷
(北京首体南路2号
邮编100044)
开本880×1230
印张5/8
字数12,000
1992年6月第一版
1992年6月第一次印刷
印数1-500
定价5.00元
机械工业标准服务网:http://www.JB.ac.cn66_9
小提示:此标准内容仅展示完整标准里的部分截取内容,若需要完整标准请到上方自行免费下载完整标准文档。
JB/T6134-1992
冶金设备用液压缸
(p≤25MPa)
技术条件
1992-06-09发布
中华人民共和国机械电子工业部1993-01-01实施
中华人民共和国机械行业标准
冶金设备用液压缸
(pN≤25MPa)
技术条件
1主题内容与适用范围
JB/T 6134-1992
本标准规定了冶金设备用液压缸的技术要求,试验方法,检验规则,标志、包装、运输及贮存。本标准适用于公称压力PN≤25MPa、环境介质温度-20~+80℃,工作介质为矿物性液压油的冶金设备用JB2162、JB/ZQ4395液压缸(以下简称液压缸)。2引用标准
GB2348
GB2349
GB2350
GB2878
GB4879
GB/T13306
JB/ZQ4000
JB/ZQ4286
JB/JQ4235
JB/JQ20502
JB2162
JB/ZQ4395
3技术要求
液压气动系统及元件缸径及活塞杆外径系列液压气动系统及元件
缸活塞行程系列
液压气动系统及元件
活塞杆螺纹型式和尺寸系列
液压气动系统及元件
油(气)口连接螺纹尺寸
防锈包装
通用技术条件
包装通用技术条件
标牌使用规程
液压元件内部清洁度检测方法称重法冶金设备用液压缸(p≤16MPa)型式与尺寸冶金设备用液压缸(p≤25MPa)型式与尺寸3.1液压缸应符合本标准要求,并按经规定程序批准的图样和技术文件制造。液压缸的活塞速度应按表1的规定。3.2
液压缸内径,mm
活塞速度,mm/s
3.3性能
>80-125
3.3.1空载运行按4.3.1条进行试验时,活塞运动应平稳,最低起动压力应不大于表2的规定。3.3.2有载运行按4.3.2条进行试验时,活塞的运动应平稳,不得有爬行等不正常现象。3.3.3内泄漏按4.3.4条进行试验时,液压缸内泄漏应不大于表3的规定。中华人民共和国机械电子工业部1992-06-09批准1993-01-01实施
活塞密封形式
公称压力P%
活塞杆密封形式
液压缸内径
内泄量
JB/T6134—1992
液压缸内径
注:使用组合密封时内泄量不得超过表中数值的2倍3.3.4
外泄漏
于0.002d
内泄量
液压缸内径
mL/10min
内泄量
活塞杆防尘圈处漏油总量应不大按4.3.5条进行试验时,活塞移动距离为100m时,而其他部分不得漏油。
注:d为活塞杆直径,mm。
负载效率按4.3.6条进行试验时,液压缸的负载效率不小于90%,负载效率按下式计算::
式中:2
液压缸的负载效率:
液压缸的输出力,kN;
作用在活塞面上的压力,MPa;
活塞的有效面积,cm2。
×100%
耐压性按4.3.7条进行试验时,不得产生松动、永久变形、零件损坏等异常现象。按4.3.8条进行试验时,液压缸应能正常工作。高温性
耐久性
3.4结构
按4.3.9条进行试验时,不得产生松动、永久变形、异常磨损等现象。3.4.1
1同一制造厂生产的同一种缸径的各种零件,必须具有互换性,不得因为更换零件使性能出现明显变化。
3.4.2液压缸的结构应尽量简单适用,并具有可靠的缓冲、放气装置,活塞杆与活塞的联结必须牢固。3.5尺寸和精度
3.5.1缸筒内径和活塞杆直径尺寸应符合GB2348的规定,其精加工尺寸公差,圆柱度应符合表4的规定,并分别按GB1801、GB1184选取。表4
缸简内径mm
活塞杆直径mm
精加工尺寸公差
圆柱度
JB/T6134-1992
缸筒内表面、活塞杆、活塞、导向套滑动面的表面粗糙度应符合表5的规定。表5
缸筒内表面
活塞杆滑动面
表面粗糙度R
活塞滑动面
导向套滑动面
活塞行程应符合GB2349的规定,其偏差应符合表6的规定。表6
≤100
>100250
>250~630
>630~1000
>1000~1600
缸筒端面和缸盖安装面对轴线的垂直度按GB1184中规定的8级。μm
表面粗糙度R
3.5.5活寒端面对轴线的垂直度按GB1184中规定的8级;活寒滑动面对轴线同轴度按GB1184中规定的8级。
缸筒内表面和活塞滑动面的配合为H8/f8。导向套(或相当于导向套的部分)和活塞杆滑动面的配合为H8/f8。活寒杆前端连接螺纹的型式与尺寸应符合GB2350的规定。油口连接螺纹应符合GB2878的规定。3.6
加工质量
液压缸的加工质量应符合JB/ZQ4000的有关规定,3. 6. 2
活塞杆调质硬度241~286HB,滑动表面碎火硬度42~45HRC,其滑动表面镀铬厚度0.03~0.05mm,铬层硬度800~1000HV。镀层必须光滑细致,不得有起皮、脱落或起泡等缺陷。3.7装配质量
液压缸的装配质量应符合JB/ZQ4000的有关规定。各零件装配前应清除毛刺,并应仔细清洗,各防尘圈及密封件不允许有划伤、扭曲、卷边或脱出等异常现象。
液压缸内部清洁度必须小于表7的规定。表7
缸筒内径,mm
异物重量,mg
80~100
注:行程按1m计,每增加1m,异物重量允许增加10%。125~160
200~250
3.7.4液压缸外露油口应盖以耐油防尘盖,活塞杆外露螺纹和其他连结部位加保护套。试验方法
试验装置应以水平或垂直基础为准的平面装置,被试液压缸(下面简称被试缸)用与其支承部分形式相适应的支承方式来安装。a,用加载缸的情况见图1。
负载缸
b,用重物的情况见图2。
导向支座
JB/T6134-1992
轴接头
被试缸
液压缸试验用液压系统原理图
a空载动作试验回路见图3;
b,有载动作试验回路见图4。
压力表
换康网
单肉蝇
脏力表
电动机
安率周
被试缸
支替重力中。
变会线
试验平台
重锤重心
医力&
流晕面节属
区国N
益有润免费标准bzxz.net
压力器
4.2试验条件
4.2.1试验用油液
a.油液温度规定为50℃土5℃;
JB/T6134-1992
b.油液粘度等级规定为VG32或VG46;c.油液的固体污染等级不大于19/16。4.2.2活塞速度按表1的规定,亦可根据供需双方商定。4.3试验项目
4.3.1空载运转被试缸在无载工况下,全行程上进行5次试运转。4.3.2有载运转把试验回路压力设定为公称压力施加负载,以表1的最低及最高速度,分别在全行程动作5次以上,当被试缸的行程特别长时,可改变加载缸的位置,在全行程上依次分段进行有载试运转。
4.3.3最低启动压力在4.3.1条试验时,从无杆侧逐渐施加压力,测其活塞的最低启动压力。4.3.4内泄漏将被试缸的活塞分别固定在行程两端(当行程大于1m时,还须固定在中间),在活塞的一侧施加公称压力,测量活塞另一侧的内泄漏量。4.3.5外泄漏在4.3.1,4.3.2,4.3.4,4.3.7,4.3.9条试验时,测量活塞杆防尘圈处的外泄漏量。4.3.6负载效率调节溢流阀,使进入被试缸无杆侧的压力逐渐升高,测出不同压力下的负载效率,并绘出负载曲线。
4.3.7耐压试验在被试缸无杆侧和有杆侧分别施加公称压力Pn的1.5倍(当pN>16MPa时,应为1.25倍),将活塞分别停留在行程的两端,保压2min进行试验。4.3.8高温试验被试缸在满载工况下,通入90℃土3℃的油液,连续运转1h以上进行试验。4.3.9耐久试验被试缸在满载工况下,使活塞以表1规定的最高速度土10%连续运转,一次连续运转时间不得小于8h。活塞移动距离为150km,在试验中不得调整被试缸的各个零件。4.3.10全行程检验在4.3.1条试验时,将活塞分别停留在行程的两端,测量全行程长度,应符合设计要求及表6的规定。
5检验规则
5.1基本规则
液压缸出厂必须经质量检验部门按本标准检验合格,并附有产品合格文件,方可出厂。5.2出厂检验
5.2.1出厂检验按本标准4.3.1,4.3.3,4.3.7,4.3.10各条逐台检验,按批抽检4.3.4,3.7.3条。5.2.2液压缸内部清洁度检测按JB/JQ20502规定进行。5.2.3液压缸的抽检数量为每批产品的2%,但不得少于2台(件),若抽检中有不合格项目,则对此项目应加倍复试,如仍有不合格者,则对该批产品全检。5.3型式检验
5.3.1型式检验按本标准4.3条进行,用作型式检验的产品必须从出厂检验合格的产品中抽取。5.3.2型式检验的数量规定为3台(件),其中一台/(件)做全项目检验,其余只做性能检验。检验中有不合格项目,可对此项目加倍复检,如仍有不合格者,则该液压缸型式检验不合格。5
JB/T6134—1992
5.3.3型式检验应在液压缸投产前,及设计工艺、材料的改变影响到产品的性能的进行。5.4特殊订货的液压缸,其检验项目由供需双方商定。标志、包装、运输和贮存
6.1标志
液压缸标牌设计要美观大方,字符清晰,并应符合GB/T13306、JB/ZQ4235的规定。6.1.2
在液压缸外壳明显且适当位置固定标牌,标牌应标明:a.产品名称、型号;
b,主要技术参数(压力、缸径、行程等);制造厂名;
d,出厂日期、编号。
液压缸包装箱外壁应清晰地标明:a,产品名称、规格型号、重量;b.收货单位、到站;
c.发货单位;
d,防雨、不得倒置、起重标志的符号。6.2
液压缸的包装要结实牢靠,并有防震、防潮等措施。液压缸的包装应符合JB/ZQ4286、GB4879的有关规定。液压缸采用木箱包装(特殊情况除外),应能保证产品在正常运输过程中不致损伤。液压缸包装箱应装入下列文件:a.产品合格证;
b.使用说明书。
运输过程中严禁磕碰和摔打,包装箱不得有变形和损坏,严禁雨淋。6.4贮存
a.液压缸应贮存在干燥、通风场所;b,液压缸自发货之日起,贮存期为一年。附加说明:
本标准由机械电子工业部西安重型机械研究所提出并归口。本标准由第二重型机器厂、焦作液压机械厂负责起草。本标准主要起草人谭兆美、赵伟。6
中华人民共和国
机械行业标准
冶金设备用液压缸
(pN≤25MPa)
技术条
JB/T 61341992
机械科学研究院出版发行
机械科学研究院印刷
(北京首体南路2号
邮编100044)
开本880×1230
印张5/8
字数12,000
1992年6月第一版
1992年6月第一次印刷
印数1-500
定价5.00元
机械工业标准服务网:http://www.JB.ac.cn66_9
小提示:此标准内容仅展示完整标准里的部分截取内容,若需要完整标准请到上方自行免费下载完整标准文档。
标准图片预览:





- 其它标准
- 热门标准
- 机械行业标准(JB)
- JB/T5146.1-1991 空调设备用加湿器 型式与基本参数
- JB/T5105-1991 铸件模样 起模斜度
- JB/T5151-1991 空调通风用空气 空气热回收装置 型式与基本参数
- JB/T5163-1991 电围栏脉冲器 技术条件
- JB/T5145.1-1991 喷油螺杆式单级制冷压缩冷凝机组 型式与基本参数
- JB/T5161.1-1999 颗粒饲料压制机 型式与基本参数
- JB/T5104-1991 焊接接头脆性破坏的评定
- JB/T5162-1991 横向搂草机 搂齿
- JB/T5054.6-2000 产品图样设计文件 更改办法
- JB/T6367-1992 保护拖链 型式尺寸
- JB/T5146.3-1991 空调设备用加湿器 性能试验方法
- JB/T5167-1991 压捆机用钢丝
- JB/T5154-1991 旋转割草机 技术条件
- JB/T5166-1991 方草捆压捆机 试验方法
- JB/T7298-1994 出油阀偶件 主要尺寸和安装尺寸
- 行业新闻
请牢记:“bzxz.net”即是“标准下载”四个汉字汉语拼音首字母与国际顶级域名“.net”的组合。 ©2025 标准下载网 www.bzxz.net 本站邮件:bzxznet@163.com
网站备案号:湘ICP备2025141790号-2
网站备案号:湘ICP备2025141790号-2