- 您的位置:
- 标准下载网 >>
- 标准分类 >>
- 机械行业标准(JB) >>
- JB/T 5932.2-1991 履带式推土机 密封式履带链轨节
标准号:
JB/T 5932.2-1991
标准名称:
履带式推土机 密封式履带链轨节
标准类别:
机械行业标准(JB)
英文名称:
Crawler bulldozer sealed track link标准状态:
现行-
发布日期:
1991-12-17 -
实施日期:
1992-07-01 出版语种:
简体中文下载格式:
.rar.pdf下载大小:
968.97 KB
中标分类号:
工程建设>>施工机械设备>>P97建筑工程施工机械
点击下载
标准简介:
标准下载解压密码:www.bzxz.net
本标准规定了履带式推土机用密封式履带链轨节的结构尺寸、技术要求、试验方法、检验规则、包装和运输。 本标准适用于JB/T 5932.1的组合式密封履带。 JB/T 5932.2-1991 履带式推土机 密封式履带链轨节 JB/T5932.2-1991
部分标准内容:
中华人民共和国机械行业标准
履带式推土机
密封式履带链轨节
主题内容与适用范围
JB/T5932.291
本标准规定了履带式推土机用密封式履带链轨节(简称链轨节)的结构尺寸、技术要求、试验方法检验规则、包装和运输。
本标准适用于JB/T5932.1的组合式密封履带。2引用标准
履带式推土机密封式履带总成
JB/T5932.1
GB5617
JB2641
ZBJ04006
GB3077
3结构尺寸
3.1结构尺寸
金属布氏硬度试验方法
金属洛氏硬度试验法
钢的感应淬火或火焰火后有效硬化层深度的测定汽车感应淬火零件金相检验
金属拉伸试验方法
金属夏比(U型缺口)冲击试验方法钢铁材料的磁粉探伤方法
合金结构钢技术条件
链轨节的主要尺寸应符合图1和表1的规定。韩特车
3,右链轨节
机械电子工业部1991-12-17批准8
5为媒母的对动宽度
b,在链轨节
1992-07-01实施
标记示例
节距t=228.6mm的右链轨节:
JB/T5932.2—91
右链轨节228.6JB/T5932.2—91
注:标记中的名称分左链轨节、右链轨节。4技术要求和试验方法
(参考)
链轨节采用40Mn2H或GB3077的35GMoA材料制造,或采用符合表2要求的其他材料制造。链轨节的热处理要求和机械性能应符合表2的规定。表2
心部硬度
面硬度
轨面有效
硬化层深
面硬度
B-B、C-C、D-D
A-A、E-E
A-A、B-B、
C.D-D、E-E
轨面硬化层金相组织
拉强度
服强度
伸率s
击韧性
≥225HB
技术要求
试验方法
≥255HB
331~375HB
50~58HRC
≥285HB
3~7级(不应有游离铁素体)
≥932N/mm
≥785N/mmwww.bzxz.net
≥29J/cm2
≥34 J/em
GB5617
JB2641
测定部位
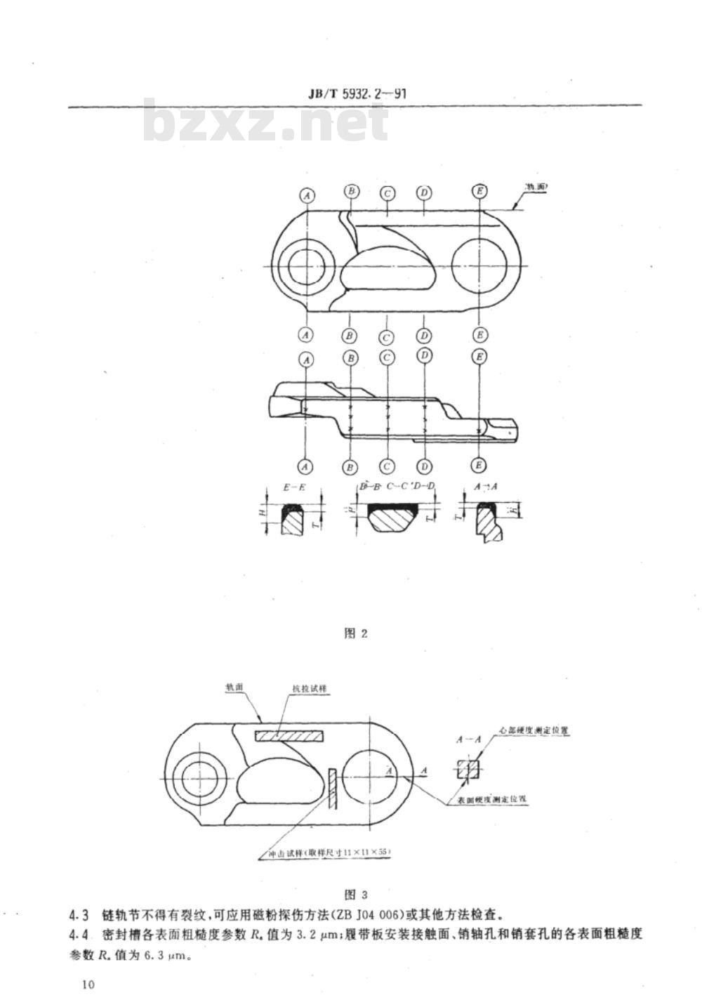
见图3
见图2轨面的×处(11测点)
见图2
距轨面0.5~3mm处
见图3
JB/T5932.2-91
抗拉试样
神击试样(取样尺寸11×1×55)图3
心部硬度测定位置
度测定位置
4.3链轨节不得有裂纹,可应用磁粉探伤方法(ZBJ04006)或其他方法检查。4.4.密封槽各表面粗糙度参数R.值为3.2um;履带板安装接触面、销轴孔和销套孔的各表面粗糙度参数R.值为6.3μm。
5检验规则、包装和运输
3B/T5932.2—91
5.1出厂抽样检验项日、分类和合格质量水平(AQL)按表3的规定。抽样检查方案按JB/T5932.1的6.1.2条。型式检验规则按JB/T5932.1的6.2条。表3
表面硬度
孔径D
螺孔位置尺寸
其他每项尺寸
5.2链轨节发运时应捆绑牢固,应有防锈及防止磕碰各孔的措施。其他包装运输要求按JB/T5932.1中7.2~7.6条的规定。
附加说明:
本标准由天津工程机械研究所提出并归口。本标准由天津工程机械研究所负责起草。本标准主要起草人昊润才。
小提示:此标准内容仅展示完整标准里的部分截取内容,若需要完整标准请到上方自行免费下载完整标准文档。
履带式推土机
密封式履带链轨节
主题内容与适用范围
JB/T5932.291
本标准规定了履带式推土机用密封式履带链轨节(简称链轨节)的结构尺寸、技术要求、试验方法检验规则、包装和运输。
本标准适用于JB/T5932.1的组合式密封履带。2引用标准
履带式推土机密封式履带总成
JB/T5932.1
GB5617
JB2641
ZBJ04006
GB3077
3结构尺寸
3.1结构尺寸
金属布氏硬度试验方法
金属洛氏硬度试验法
钢的感应淬火或火焰火后有效硬化层深度的测定汽车感应淬火零件金相检验
金属拉伸试验方法
金属夏比(U型缺口)冲击试验方法钢铁材料的磁粉探伤方法
合金结构钢技术条件
链轨节的主要尺寸应符合图1和表1的规定。韩特车
3,右链轨节
机械电子工业部1991-12-17批准8
5为媒母的对动宽度
b,在链轨节
1992-07-01实施
标记示例
节距t=228.6mm的右链轨节:
JB/T5932.2—91
右链轨节228.6JB/T5932.2—91
注:标记中的名称分左链轨节、右链轨节。4技术要求和试验方法
(参考)
链轨节采用40Mn2H或GB3077的35GMoA材料制造,或采用符合表2要求的其他材料制造。链轨节的热处理要求和机械性能应符合表2的规定。表2
心部硬度
面硬度
轨面有效
硬化层深
面硬度
B-B、C-C、D-D
A-A、E-E
A-A、B-B、
C.D-D、E-E
轨面硬化层金相组织
拉强度
服强度
伸率s
击韧性
≥225HB
技术要求
试验方法
≥255HB
331~375HB
50~58HRC
≥285HB
3~7级(不应有游离铁素体)
≥932N/mm
≥785N/mmwww.bzxz.net
≥29J/cm2
≥34 J/em
GB5617
JB2641
测定部位
见图3
见图2轨面的×处(11测点)
见图2
距轨面0.5~3mm处
见图3
JB/T5932.2-91
抗拉试样
神击试样(取样尺寸11×1×55)图3
心部硬度测定位置
度测定位置
4.3链轨节不得有裂纹,可应用磁粉探伤方法(ZBJ04006)或其他方法检查。4.4.密封槽各表面粗糙度参数R.值为3.2um;履带板安装接触面、销轴孔和销套孔的各表面粗糙度参数R.值为6.3μm。
5检验规则、包装和运输
3B/T5932.2—91
5.1出厂抽样检验项日、分类和合格质量水平(AQL)按表3的规定。抽样检查方案按JB/T5932.1的6.1.2条。型式检验规则按JB/T5932.1的6.2条。表3
表面硬度
孔径D
螺孔位置尺寸
其他每项尺寸
5.2链轨节发运时应捆绑牢固,应有防锈及防止磕碰各孔的措施。其他包装运输要求按JB/T5932.1中7.2~7.6条的规定。
附加说明:
本标准由天津工程机械研究所提出并归口。本标准由天津工程机械研究所负责起草。本标准主要起草人昊润才。
小提示:此标准内容仅展示完整标准里的部分截取内容,若需要完整标准请到上方自行免费下载完整标准文档。
标准图片预览:




- 其它标准
- 热门标准
- 机械行业标准(JB)
- JB/T10288-2001 连栋温室结构
- JB/T10056-1999 直流电流互感器 技术条件
- JB/T2756-2006 无轨电车用炭滑块
- JB/T7895-2008 永磁筒式磁选机
- JB/T8679-2008 炭弧气刨炭棒 物理及使用性能试验方法
- JB/T8082-2010 护指键式和护罩式木工平刨床 安全
- JB/T9713-1999 工程机械 湿式铜基摩擦件 技术条件
- JB/T9580-2008 炭石墨 产品分类及型号编制方法
- JB/T8840-2013 电热器具用电源开关
- JB/T11340.3-2012 阀控式铅酸蓄电池安全阀 第3部分:橡胶帽、阀芯
- JB/T10677-2006 投影机 光源
- JB∕T12675-2016 拖拉机液压系统清洁度限值及测量方法
- JB3704-1984 特种调压器用碳电阻片柱电气机械性能试验方法
- JB/T6316-2006 Z4系列直流电动机技术条件(机座号100~450)
- JB/T10930-2010 200级耐电晕漆包铜圆线
- 行业新闻
请牢记:“bzxz.net”即是“标准下载”四个汉字汉语拼音首字母与国际顶级域名“.net”的组合。 ©2025 标准下载网 www.bzxz.net 本站邮件:bzxznet@163.com
网站备案号:湘ICP备2025141790号-2
网站备案号:湘ICP备2025141790号-2