- 您的位置:
- 标准下载网 >>
- 标准分类 >>
- 轻工行业标准(QB) >>
- QB/T 1064-1991 圆刀片皮机
标准号:
QB/T 1064-1991
标准名称:
圆刀片皮机
标准类别:
轻工行业标准(QB)
标准状态:
现行-
发布日期:
1991-03-30 -
实施日期:
1991-12-01 出版语种:
简体中文下载格式:
.rar.pdf下载大小:
124.30 KB
起草人:
薛友圣、申渝明、张德民起草单位:
重庆皮革机械厂提出单位:
轻工业部技术装备司发布部门:
中华人民共和国轻工业部相关标签:
刀片
点击下载
标准简介:
标准下载解压密码:www.bzxz.net
本标准规定了圆刀片皮机的产品分类、基本参数、技术要求、试验方法、检验规则、标志、包装、运输、贮存。本标准适用于制鞋行业鞋帮片边的圆刀片皮机。 QB/T 1064-1991 圆刀片皮机 QB/T1064-1991
部分标准内容:
中华人民共和国轻工行业标准
圆刀片皮机
1主题内容与适用范围
QB/T 1064-1991
本标准规定了圆刀片皮机的产品分类、基本参数、技术要求、试验方法、检验规则、标志、包装、运输、贮存。
本标准适用于制鞋行业鞋帮片边的圆刀片皮机。2引用标准
GB7612皮革机械躁声声功率级的测定QB/T842轻工机械衡器通用技术条件SG393制鞋机械产品型号编制方法3产品分类
3.1型号
型号应符合SG393的规定。
3.2型式结构
脚架式、箱体式。
3.3基本参数(见下表)
圆力速度,r/min
1450~2000
4技术要求
磨刀砂轮速度,r/min
2200~5400
送料速度:m/s
0.28~~0. 60
圆力内径,mm
4.1产品应符合本标准的要求,并按照规定程序批准的图样及技术文件制造。4.2主要件的技术要求
4.2.1圆刀
热处理硬度HRC58~62;
内外圆表面及外端面的表面粗糙度不大于Ral.6um;112对$34H7轴线的径向跳动公差值为0.025mm。4.2.2刀轴(见图1)
调质硬度HB220-250;
$34js6对dd,.qdz公共轴线的径向跳动公差值为0.012mm;#68端面对d1,da公共轴线的垂直度公差值为0.025mm,只许端面凹下。中华人民共和国轻工业部1991-03-30批准电机功率,kw
0.35~0.55
1991-12-01实施
4.3制造质量要求
4.3.1铸件
QB/T1064-1991
a.表面应平整,浇口、冒口、型砂和粘结物必须除净;b、不准有裂痕、缩松、冷隔、气孔和夹渣等缺陷;心、不影响零件强度的缺陷,允许按有关规定进行补焊。4.3.2锻件
不准有裂纹、夹层、烧伤和夹渣等缺陷。4.3.3热处理件
a。面不准有裂纹、烧伤等缺陷;b.热处理件的其他技术要求应按有关规定执行。4.3.4冲压件
表面应平整,棱边清直,不准有裂纹和锈蚀。4.3.5焊接件
焊缝应平整,焊渣应除净,其他技术要求应符合图样规定。4.3.6电镀件
镀层面色泽均匀,不谁有斑痕、气泡、露底和划伤等缺陷。4.3.7油漆件
漆膜应色泽均匀、不准有漏涂、起皱,划伤和脱落等缺陷。4.4装配精度
4.4.1所有零件应检验合格后才能装配,外购件、外协件热应经检验合格后才能装配。4.4.2圆刀部件装成后,圆刀内径112距刃口25mm内的径向跳动公差值为0.06mm。4.4.3磨刀砂轮轴承座与心轴装成后,心轴d的径向跳动公差值为0.04mm。4.5整机性能
4.5.1机器运转时,应运转平稳,不应有不正常的振动和噪音。4.5.2机器在正常工作情况下,滚动轴承的温度不得大于80C,激升不高于40C,滑动轴承的温度不得大于70℃,温升不高于35℃
4.5.3机器运转时(磨刀系统空运转)整机噪声不大于LwA88dB(A)。4.5.4各润滑点的润滑充分,应无漏油现象。4.5.5电气系统工作可靠,绝缘性能度好,各导线与接好地线的机体之间的绝缘电鞋不得小于1MQ。4.6工作精度
用宽30mm,厚0.9~2.0mm的轻薄进行片试验,应无闷车现象,片削坡度一致,表面光滑平整。5试验方法
5.1对基本参数的检验
对圆刀转速的检验:用转速表测试;a.
对磨刀砂轮转速的检验:在专用的试车架上用转速表测试,c.
对送料速度的检验:用转速表测输人轴转速再换算成送料速度。QB/T 1064-- 1991
5.2对4.2.1条a项、4.2.2条a项和对4.3.3条的检验:用洛氏及布氏硬度计在零件上均匀测试四点,其余用目测方式进行。
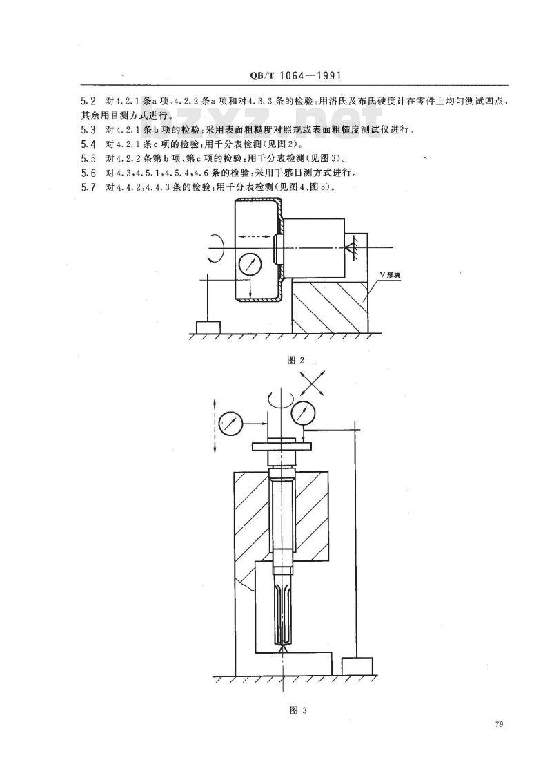
5.3对4.2.1条b项的检验:采用表面粗糙度对照规或表面粗糙度测试仪进行5.4对4.2.1条c项的检验:用千分表检测(见图2)。5.5对4.2.2条第b项、第c项的检验:用于分表检测(见图3)。5.6对4.3,4.5.1,4.5.4,4.6条的检验:采用手感目测方式进行。5.7对4.4.2,4.4.3条的检验:用千分表检测(见图4、图5)。V形块
QB/T1064-1991
V形块
V形块
5.8对4.5.2条的检验:用半导体点温计或用其他更精确的温度计在轴承位检测。5.9对4.5.3条的检验:按GB7612执行。5.10对4.5.5条的检验:用500V兆欧表测定。6检验规则
6.1出厂检验
出厂检验项目为4.3.1,4.3.5,4.3.6,4.3.7.4.4.2,4.4.3,4.5.2,4.5.3,4.6条。6.2型式检验
6.2.1具有下列情况之一者应进行型式检验。转厂生产或停产一年再生产时;a.
连续生产两年以上,或累计产量为300台以上时;重大改变(包括结构、材料、工艺、配套等);d。质量监督机构提出进行型式检验时。6.2.2型式检验项目为本标准规定的全部内容。6.3抽样与组批规则
出厂检验应逐台进行,型式检验样机应在当批中采取随机抽样法抽取10%,但不得少于1台,检验结果应符合本标准要求。
6.4型式检验如不合格,则加倍抽样复检,如仍不合格,则该批产品被判定为不合格。7标志、包装,运输、贮存
7.1产品铭牌上标明产品名称、主要参数、出厂编号、生产厂名、出厂日期。80bzxZ.net
QB/T1064--1991
7.2产品的包装应按QB/T842的规定执行。7.3产品应贮存在通风干燥处,不得与酸、碱、盐等化学物品共贮存,露天存放期较长应在上部加盖防雨物,存放期半年以上出厂时应开箱复验,复验项目包括表面质量和6.1条规定的内容。附加说明:
本标准由轻工业部技术装备司提出。本标准由全国轻工机械标准化技术委员会皮革机械分技术委员会归口。本标准由重庆皮革机械厂负责起草。本标准主要起草人薛友圣、申渝明、张德民。81
小提示:此标准内容仅展示完整标准里的部分截取内容,若需要完整标准请到上方自行免费下载完整标准文档。
圆刀片皮机
1主题内容与适用范围
QB/T 1064-1991
本标准规定了圆刀片皮机的产品分类、基本参数、技术要求、试验方法、检验规则、标志、包装、运输、贮存。
本标准适用于制鞋行业鞋帮片边的圆刀片皮机。2引用标准
GB7612皮革机械躁声声功率级的测定QB/T842轻工机械衡器通用技术条件SG393制鞋机械产品型号编制方法3产品分类
3.1型号
型号应符合SG393的规定。
3.2型式结构
脚架式、箱体式。
3.3基本参数(见下表)
圆力速度,r/min
1450~2000
4技术要求
磨刀砂轮速度,r/min
2200~5400
送料速度:m/s
0.28~~0. 60
圆力内径,mm
4.1产品应符合本标准的要求,并按照规定程序批准的图样及技术文件制造。4.2主要件的技术要求
4.2.1圆刀
热处理硬度HRC58~62;
内外圆表面及外端面的表面粗糙度不大于Ral.6um;112对$34H7轴线的径向跳动公差值为0.025mm。4.2.2刀轴(见图1)
调质硬度HB220-250;
$34js6对dd,.qdz公共轴线的径向跳动公差值为0.012mm;#68端面对d1,da公共轴线的垂直度公差值为0.025mm,只许端面凹下。中华人民共和国轻工业部1991-03-30批准电机功率,kw
0.35~0.55
1991-12-01实施
4.3制造质量要求
4.3.1铸件
QB/T1064-1991
a.表面应平整,浇口、冒口、型砂和粘结物必须除净;b、不准有裂痕、缩松、冷隔、气孔和夹渣等缺陷;心、不影响零件强度的缺陷,允许按有关规定进行补焊。4.3.2锻件
不准有裂纹、夹层、烧伤和夹渣等缺陷。4.3.3热处理件
a。面不准有裂纹、烧伤等缺陷;b.热处理件的其他技术要求应按有关规定执行。4.3.4冲压件
表面应平整,棱边清直,不准有裂纹和锈蚀。4.3.5焊接件
焊缝应平整,焊渣应除净,其他技术要求应符合图样规定。4.3.6电镀件
镀层面色泽均匀,不谁有斑痕、气泡、露底和划伤等缺陷。4.3.7油漆件
漆膜应色泽均匀、不准有漏涂、起皱,划伤和脱落等缺陷。4.4装配精度
4.4.1所有零件应检验合格后才能装配,外购件、外协件热应经检验合格后才能装配。4.4.2圆刀部件装成后,圆刀内径112距刃口25mm内的径向跳动公差值为0.06mm。4.4.3磨刀砂轮轴承座与心轴装成后,心轴d的径向跳动公差值为0.04mm。4.5整机性能
4.5.1机器运转时,应运转平稳,不应有不正常的振动和噪音。4.5.2机器在正常工作情况下,滚动轴承的温度不得大于80C,激升不高于40C,滑动轴承的温度不得大于70℃,温升不高于35℃
4.5.3机器运转时(磨刀系统空运转)整机噪声不大于LwA88dB(A)。4.5.4各润滑点的润滑充分,应无漏油现象。4.5.5电气系统工作可靠,绝缘性能度好,各导线与接好地线的机体之间的绝缘电鞋不得小于1MQ。4.6工作精度
用宽30mm,厚0.9~2.0mm的轻薄进行片试验,应无闷车现象,片削坡度一致,表面光滑平整。5试验方法
5.1对基本参数的检验
对圆刀转速的检验:用转速表测试;a.
对磨刀砂轮转速的检验:在专用的试车架上用转速表测试,c.
对送料速度的检验:用转速表测输人轴转速再换算成送料速度。QB/T 1064-- 1991
5.2对4.2.1条a项、4.2.2条a项和对4.3.3条的检验:用洛氏及布氏硬度计在零件上均匀测试四点,其余用目测方式进行。
5.3对4.2.1条b项的检验:采用表面粗糙度对照规或表面粗糙度测试仪进行5.4对4.2.1条c项的检验:用千分表检测(见图2)。5.5对4.2.2条第b项、第c项的检验:用于分表检测(见图3)。5.6对4.3,4.5.1,4.5.4,4.6条的检验:采用手感目测方式进行。5.7对4.4.2,4.4.3条的检验:用千分表检测(见图4、图5)。V形块
QB/T1064-1991
V形块
V形块
5.8对4.5.2条的检验:用半导体点温计或用其他更精确的温度计在轴承位检测。5.9对4.5.3条的检验:按GB7612执行。5.10对4.5.5条的检验:用500V兆欧表测定。6检验规则
6.1出厂检验
出厂检验项目为4.3.1,4.3.5,4.3.6,4.3.7.4.4.2,4.4.3,4.5.2,4.5.3,4.6条。6.2型式检验
6.2.1具有下列情况之一者应进行型式检验。转厂生产或停产一年再生产时;a.
连续生产两年以上,或累计产量为300台以上时;重大改变(包括结构、材料、工艺、配套等);d。质量监督机构提出进行型式检验时。6.2.2型式检验项目为本标准规定的全部内容。6.3抽样与组批规则
出厂检验应逐台进行,型式检验样机应在当批中采取随机抽样法抽取10%,但不得少于1台,检验结果应符合本标准要求。
6.4型式检验如不合格,则加倍抽样复检,如仍不合格,则该批产品被判定为不合格。7标志、包装,运输、贮存
7.1产品铭牌上标明产品名称、主要参数、出厂编号、生产厂名、出厂日期。80bzxZ.net
QB/T1064--1991
7.2产品的包装应按QB/T842的规定执行。7.3产品应贮存在通风干燥处,不得与酸、碱、盐等化学物品共贮存,露天存放期较长应在上部加盖防雨物,存放期半年以上出厂时应开箱复验,复验项目包括表面质量和6.1条规定的内容。附加说明:
本标准由轻工业部技术装备司提出。本标准由全国轻工机械标准化技术委员会皮革机械分技术委员会归口。本标准由重庆皮革机械厂负责起草。本标准主要起草人薛友圣、申渝明、张德民。81
小提示:此标准内容仅展示完整标准里的部分截取内容,若需要完整标准请到上方自行免费下载完整标准文档。
标准图片预览:





- 其它标准
- 上一篇: QB/T 1062-1991 挤水平展机
- 下一篇: QB/T 1065-1991 绷帮机
- 热门标准
- 轻工行业标准(QB)
- QB/T5247-2018 箱包配件塑料插扣耐 用性能试验方法
- QB/T2856-2007 毛革服装
- QB/T2425-1998 封箱用再湿性牛皮纸胶粘带
- QB/T3520-1999 500kV油纸套管绝缘纸
- QB2584-2003 蒸汽淋浴房
- QB/T1439-2005 帐册
- QB/T1584-2005 日用皮手套
- QB/T1756-1993 造纸机械湍流式中浓度浆泵
- QB/T1782-1993 苯乙醇
- QB/T1664-1998 纸板戳穿强度测定仪
- QB/T1702.2-1993 括板升运机
- QB/T2501-2000 重力式自动装料衡器
- QB/T2161-1995 儿童推车整车通用技术条件
- QB/T3510-1999 Y311条粗条干仪用记录纸
- QB/T3607-1999 油浸鲅鱼罐头
- 行业新闻
请牢记:“bzxz.net”即是“标准下载”四个汉字汉语拼音首字母与国际顶级域名“.net”的组合。 ©2025 标准下载网 www.bzxz.net 本站邮件:bzxznet@163.com
网站备案号:湘ICP备2025141790号-2
网站备案号:湘ICP备2025141790号-2