- 您的位置:
- 标准下载网 >>
- 标准分类 >>
- 化工行业标准(HG) >>
- HG/T 2648-2011 输送带滚筒摩擦试验机技术条件
- 标准号: - HG/T 2648-2011
- 标准名称: - 输送带滚筒摩擦试验机技术条件
- 标准类别: - 化工行业标准(HG)
- 标准状态: 现行
- 出版语种: 简体中文
- 下载格式: .zip .pdf
- 下载大小: 105.13 KB
 标准简介/下载
标准简介/下载点击下载
标准简介:
					HG/T 2648-2011.Technical specifications for conveyor drum friction testing machine.
1范围
HG/T 2648规定了输送带滚筒摩擦试验机(以下简称试验机)的结构、要求、试验方法、检验规则及标志、包装、运输和贮存等。
HG/T 2648适用于通过使输送带试样在滚筒上摩擦而判定输送带的难燃性的输送带滚简摩擦试验机。
2规范性引用文件
下列文件对于本文件的应用是必不可少的。凡是注日期的引用文件,仅所注日期的版本适用于本文件。凡是不注日期的引用文件,其最新版本(包括所有的修改单)适用于本文件。
HG/T 2382橡胶测试仪器设备通用技术条件
JJG 351工作用廉金属热电偶检定规程
3结构
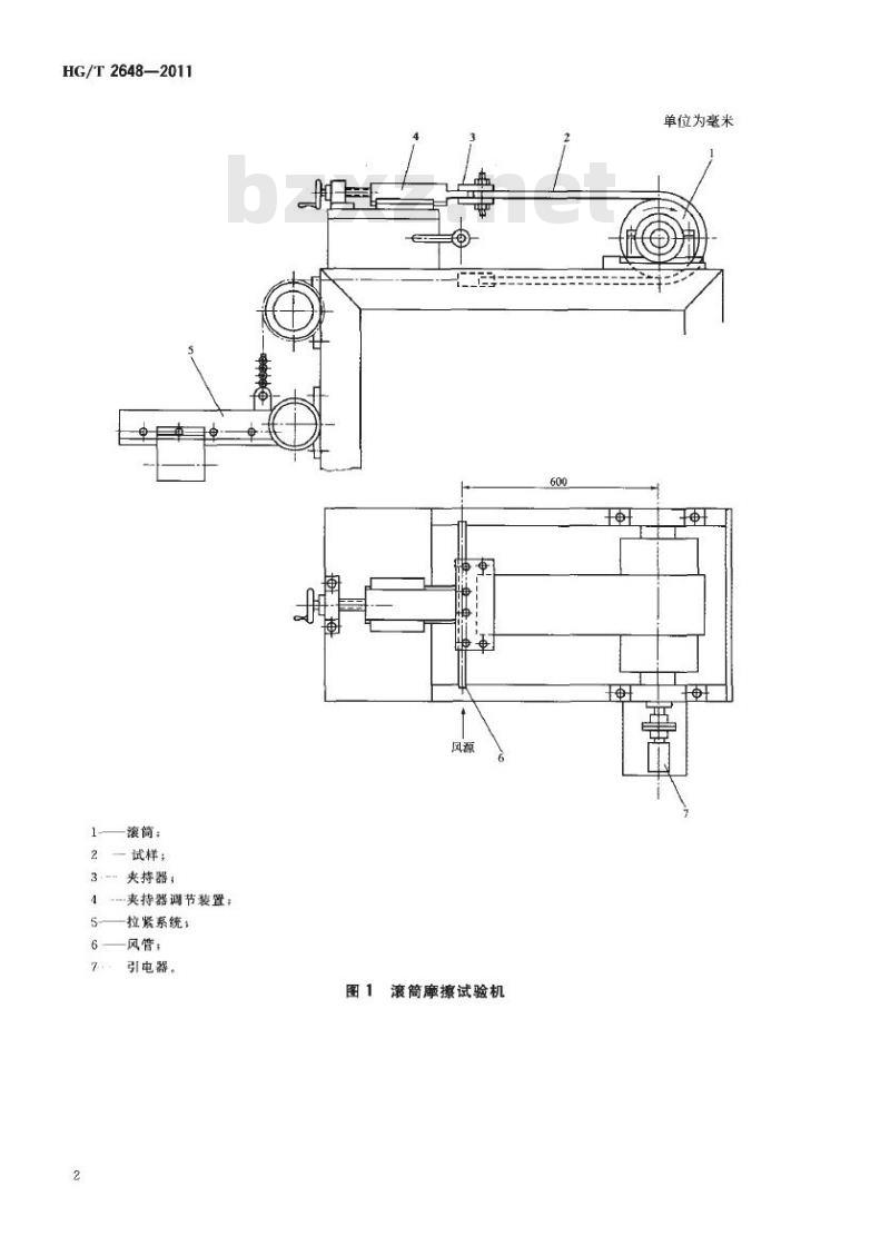
输送带滚筒摩擦试验机如图1所示,试验机包括以下主要部分。
3.1滚筒
钢制滚筒尺寸如图2所示。滚筒安装在试验机的水平轴上,并能以规定转速按图1中箭头所示方向转动,试验时试样以180°包角包绕滚筒,并与滚简相摩擦。
3.2测温系统
测温系统由热电偶、引电器和温度记录仪组成。热电偶安装方式如图2所示。
3.3拉紧系统
拉紧系统用以在试验中对试样施加拉力,主要包括一个带有滑块的杠杆和两个夹持器,通过调整滑块在杠杆上的位置,拉紧系统可对试样施加4.4规定的拉力。拉紧系统的杠杆如图3,如能对试样同样施加规定的拉力,允许使用其他的加力方式。
3.4 吹风系统
吹风系统由风源和吹风管等组成。吹风管安装在滚筒未被试样包覆的一侧,其轴线与滚筒轴线等高、平行且相距600mm。在吹风管朝向滚筒-.侧钻有一排均匀分布的吹风孔,吹风管内径和吹风孔径依风源情况而定。
3.5抽风系统
抽风系统由风机和风罩组成。
 标准内容
标准内容部分标准内容:
备案号:34724—2012
中华人民共和国化工行业标准
HG/T2648—2011
代替HG/T26181994
输送带滚简摩擦试验机技术条件Technical specifications for conveyor drum friction testing machine2011-12-20发布
2012-07-01实施
中华人民共和国工业和信息化部发布前言
2009给出的规则起草。
本标准按照GB/T1.1
本标准代替HG/T2648-
比,主要技术变化如下:
HG/T2648—2011
1994《输送带滚筒摩擦试验机技术条件》,与HG/T2648-1994相修改了规范性引用文件(见2);修改了拉紧系统(见3.3);
修改了颠簸运输试验(见5.9)。请注意本文件的某些内容可能涉及专利。本文件的发布机构不承担识别这些专利的责任。本标准由中国石油和化学工业联合会提出。本标准由化学工业橡胶测试仪器设备标准化技术委员会归口。本标准起草单位:北京橡胶工业研究设计院。本标准主要起草人:何成。
本标准于1994年10月首次发布,本次为第一次修订。I
1范围
输送带滚简摩擦试验机技术条件HG/T2648—2011
本标准规定了输送带滚筒摩擦试验机(以下简称试验机)的结构、要求、试验方法、检验规则及标志、包装、运输和贮存等。
本标准适用于通过使输送带试样在滚筒上摩擦而判定输送带的难燃性的输送带滚筒摩擦试验机。2规范性引用文件
下列文件对于本文件的应用是必不可少的。凡是注日期的引用文件,仅所注日期的版本适用于本文件。凡是不注日期的引用文件,其最新版本(包括所有的修改单)适用于本文件。HG/T2382橡胶测试仪器设备通用技术条件JJG351工作用廉金属热电偶检定规程3结构
输送带滚筒摩擦试验机如图1所示,试验机包括以下主要部分。3.1滚筒
钢制滚筒尺寸如图2所示。滚筒安装在试验机的水平轴上,并能以规定转速按图1中箭头所示方向转动,试验时试样以180包角包绕滚筒,并与滚筒相摩擦。HG/T2648—2011
凌筒:
试样;
3.--夹持器;
夹持器调节装置;
拉紧系统:
风管;
引电器。
图1滚筒摩擦试验机
单位为毫米
一滚简表面;
热电偶。
3.2测温系统
355±1
图2滚筒
HG/T2648—2011
单位为毫米
热电偶室放大
测温系统由热电偶、引电器和温度记录仪组成。热电偶安装方式如图2所示。3.3拉紧系统
拉紧系统用以在试验中对试样施加拉力,主要包括一个带有滑块的杠杆和两个夹持器,通过调整滑块在杠杆上的位置,拉紧系统可对试样施加4.4规定的拉力。拉紧系统的杠杆如图3,如能对试样同样施加规定的拉力,允许使用其他的加力方式。3.4吹风系统
吹风系统由风源和吹风管等组成。吹风管安装在滚筒未被试样包覆的一侧,其轴线与滚筒轴线等高、平行且相距600mm。在吹风管朝向滚简一侧钻有一排均勾分布的吹风孔,吹风管内径和吹风孔径依风源情况而定。
3.5抽风系统
抽风系统由风机和风罩组成。
HG/T2648—2011
耳孔(用来与拉紧链条相连);支点;
固定销:
一滑块。
4要求
图3拉紧系统的杠杆
4.1试验机的正常工作条件应符合HG/T2382的规定。4.2滚筒外径为210mm士1mm,圆柱度误差不大于1mm,滚筒壁厚6.50+g2\mm,滚筒的加载荷转速为200r/min士5r/min。
4.3滚筒温度的测量装置,包括矿物质绝缘层和不锈钢套。镍铬-镍铝铠装热电偶的外径为2mm,并用卡套螺纹固定于滚筒外壳上的热电偶室内,安装在滚简内部沿长度的中部,其工作端距滚简表面的间距不大于0.5mm。
注:可装3个热电偶以防偶然事故。4.4对试样施加的拉力要求为:
343N±3.5N.686N±7N、1029N±10.5N、1372N±14N.1715N±17N。4.5在试验机上装有试样的情况下在距滚简表面200mm处测得的风速为2.0m/s土0.1m/s。在风罩内测得的抽风风速应不大于0.5m/s。4.6
4.7试验机的基本要求、外观质量及电气性能应符合HG/T2382的规定。4.8试验机的运输颠策性能应符合HG/T2382的规定。5试验
5.1试验条件:试验应在4.1规定的条件下进行。试验用工具及仪器包括:
游标卡尺:分度值0.02mm;
百分表:分度值0.01mm;
转速表:测量准确度土1r/min;
测力装置;测量准确度0.5%,
风速仪:测量准确度0.05m/s;
一级热电偶:允许偏差为士1.5℃。5.3滚简的外径及壁厚用游标卡尺检查,测量3点的平均值应符合4.2的规定。用百分表在滚简两端与中间部位测量3个截面的圆柱度误差均应符合4.2的规定。滚筒的转速可用转速表测量,最小载荷测3次,最大载荷测3次,取其平均值应符合4.2的规定。5.4热电偶测量准确度的检验参照JJG351规定的方法执行,检验结果应符合4.3的规定。HG/T2648—2011
5.5对试样施加的拉力可用测力装置检验。首先将测力装置的力传感器如图4所示安装在试验机上,将试样用夹持器夹紧,调整加力杠杆基本水平,使滑块分别处于与不同拉力对应的各个位置,显示出滑块在各个位置上所测得的拉力,测量结果应符合4.4的规定。]
滚筒;
试样;
夹持器;
一测力装置:
链条或钢丝绳:
杠杆;
一滑块。
图4拉力测量方法示意图
5.6距滚筒表面200mm处的风速用风速仪测量;测量结果应符合4.5的规定。5.7风罩内的风速用风速仪测量。测量结果应符合4.6的规定。5.8试验机的基本要求、外观质量及电气性能按HG/T2382有关规定进行,其要求应符合4.7规定。5.9试验机包装后,用载重汽车以30km/h~40km/h的速度在三级公路上运行200km或在颠籁试验台上做相应的试验,其性能应符合1.8规定。6检验规则
6.1每台试验机必须经过制造厂质量检验部门检验合格,并有产品合格证方可出厂,6.2产品检验分为出厂检验和型式检验两种。出厂检验按4.2~4.7逐台进行检验。型式检验按4.2~4.8进行抽样检验。
6.3试验机应在HG/T2382规定的有关情况下进行型式检验。6.4型式检验的抽样判定规则应按HG/T2382有关规定进行。7标志、包装、运输及贮存免费标准bzxz.net
试验机的标志、包装、运输及贮存应符合HG/T2382的有关规定。8随机文件
试验机随机文件的种类、存放应符合HG/T2382的有关规定。5
中华人民共和国
化工行业标准
输送带滚筒摩擦试验机技术条件HG/T26482011
出版发行:化学广业出版礼
(北京市东城区市年湖南街13号邯政编码100011)化学工业出殷社印刷厂
880mm×1230mm1/16印张
字数11下字
2012年3月北京第1版第1次印制
号:155025·1012
购15咨询:01064518888
售后服务:010-61518899
网:http://tigp.com.cn
凡购买本书,如有缺损质量间题.本社销售中心负资调换。定价:10.00元
版权所有
违者必究
小提示:此标准内容仅展示完整标准里的部分截取内容,若需要完整标准请到上方自行免费下载完整标准文档。
 标准图片预览
标准图片预览 标准图片预览:





- 热门标准
- HG化工标准
- HG/T20592-2009 钢制管法兰(PN系列)
- HG/T20518-2008 化工粉体工程设计通用规范
- HG∕T5056-2016 GB 7544在天然橡胶胶乳避孕套质量管理中的使用指南
- HG/T3985-2007 聚四氟乙烯波纹管膨胀节
- HG/T3219-2009 代替 HG/T 3219-1999 搪玻璃平面阀
- HG/T3459-2003 化学试剂 顺丁烯二酸酐
- HG/T2017-2011 代替 HG/T 2017-2000 普通运动鞋
- HG/T2956.5-2001 硼镁矿石中氧化亚铁含量的测定重铬酸钾 容量法
- HG/T2257-2011 代替 HG/T 2257-1991 照相化学品 成色剂挥发分的测定
- HG/T21529-2014 代替 HG/T 21529-2005 板式平焊法兰手孔
- HG/T4243-2011 医用干银胶片中银含量测定
- HG/T2371-2003 代替 HG/T 2371-1992 搪玻璃开式搅拌容器
- HG/T2225-2010 代替 HG/T 2225-2001 工业硫酸铝
- HG/T2044-2020 代替 HG/T 2044-2003 机械密封用喷涂氧化铬密封环技术条件
- HG/T2343-2012 硫化促进剂 ETU
- 行业新闻
网站备案号:湘ICP备2025141790号-2
