- 您的位置:
- 标准下载网 >>
- 标准分类 >>
- 国家标准(GB) >>
- GB/T 11364-2008 钎料润湿性试验方法
标准号:
GB/T 11364-2008
标准名称:
钎料润湿性试验方法
标准类别:
国家标准(GB)
标准状态:
现行-
发布日期:
2008-05-06 -
实施日期:
2008-11-01 出版语种:
简体中文下载格式:
.rar.pdf下载大小:
2.29 MB
替代情况:
替代GB/T 11364-1989采标情况:
NEQ ISO 5179:1983

点击下载
标准简介:
标准下载解压密码:www.bzxz.net
本标准规定了测定硬钎料润湿性能的铺展试验方法及填缝试验方法。本标准适用于硬钎料润湿性能的评定。 GB/T 11364-2008 钎料润湿性试验方法 GB/T11364-2008

部分标准内容:
ICS25.160.50
中华人民共和国国家标准
GB/T11364—2008
代替GB/T11364-1989
钎料润湿性试验方法
Test method of wettability for brazing filler metals(ISO 5179:1983,Investigation of brazeability usinga varying gap test piece,NEQ)2008-05-06发布
中华人民共和国国家质量监督检验检疫总局中国国家标准化管理委员会
2008-11-01实施
GB/T11364—2008
本标准对应于ISO5179:1983《变间隙试件的可钎焊性研究》英文版),与ISO5179的一致性程度为非等效,主要差异如下:
增加了第3章“术语和定义”、第6章“加热装置”和7.1“铺展试验”。本标准代替GB/T11364--1989《钎料铺展性及填缝性试验方法》,与GB/T11364—1989相比主要变化如下:
标准名称修改为“钎料润湿性试验方法”;修改了范围的表述内容;
—一增加了“规范性引用文件”;一删掉了“填缝性”的定义,增加了“润湿性”、“铺展系数”的定义;修改了填缝性试验的技术要求(4.2.2和7.2);增加了铺展性试验结果的评价指标(7.1.5);修改了试验结果的记录(第8章)。本标准由中国机械工业联合会提出。本标准由全国焊接标准化技术委员会(SAC/TC55)归口。本标准起草单位:哈尔滨工业大学、深圳亿铖达工业有限公司、北京航空材料研究院、日东电子科技(深圳)有限公司、常熟市华银焊料有限公司、哈尔滨焊接研究所。本标准主要起草人:何鹏、马鑫、程耀永、史建卫、顾文华、吕晓春。本标准所代替标准的历次版本发布情况为:GB/T11364—1989。
1范围
钎料润湿性试验方法
本标准规定了测定硬钎料润湿性能的铺展试验方法及填缝试验方法。本标准适用于硬钎料润湿性能的评定。2规范性引用文件
GB/T11364—2008
下列文件中的条款通过本标准的引用而成为本标准的条款。凡是注日期的引用文件,其随后所有的修改单(不包括勘误的内容)或修订版均不适用于本标准,然而,鼓励根据本标准达成协议的各方研究是否可使用这些文件的最新版本。凡是不注日期的引用文件,其最新版本适用于木标准。GB/T8170
数值修约规则
3术语和定义
下列术语和定义适用于本标准。3.1
润湿性
wettability
在钎焊时,液态钎料对母材浸润和附着的能力。3.2
coefficient of spreading
铺展系数
评定钎料润湿性的一个判据。
4试件
4.1一般要求
试件的试验面应光洁,无毛边、毛刺。试验面应用适当方法清理,去除油污及氧化物杂质。4.2形状及尺寸
4.2.1钎料铺展试验用试件的形状及尺寸如图1所示。单位为毫米wwW.bzxz.Net
图1钎料铺展试件形状及尺寸示意图1
GB/T11364—2008
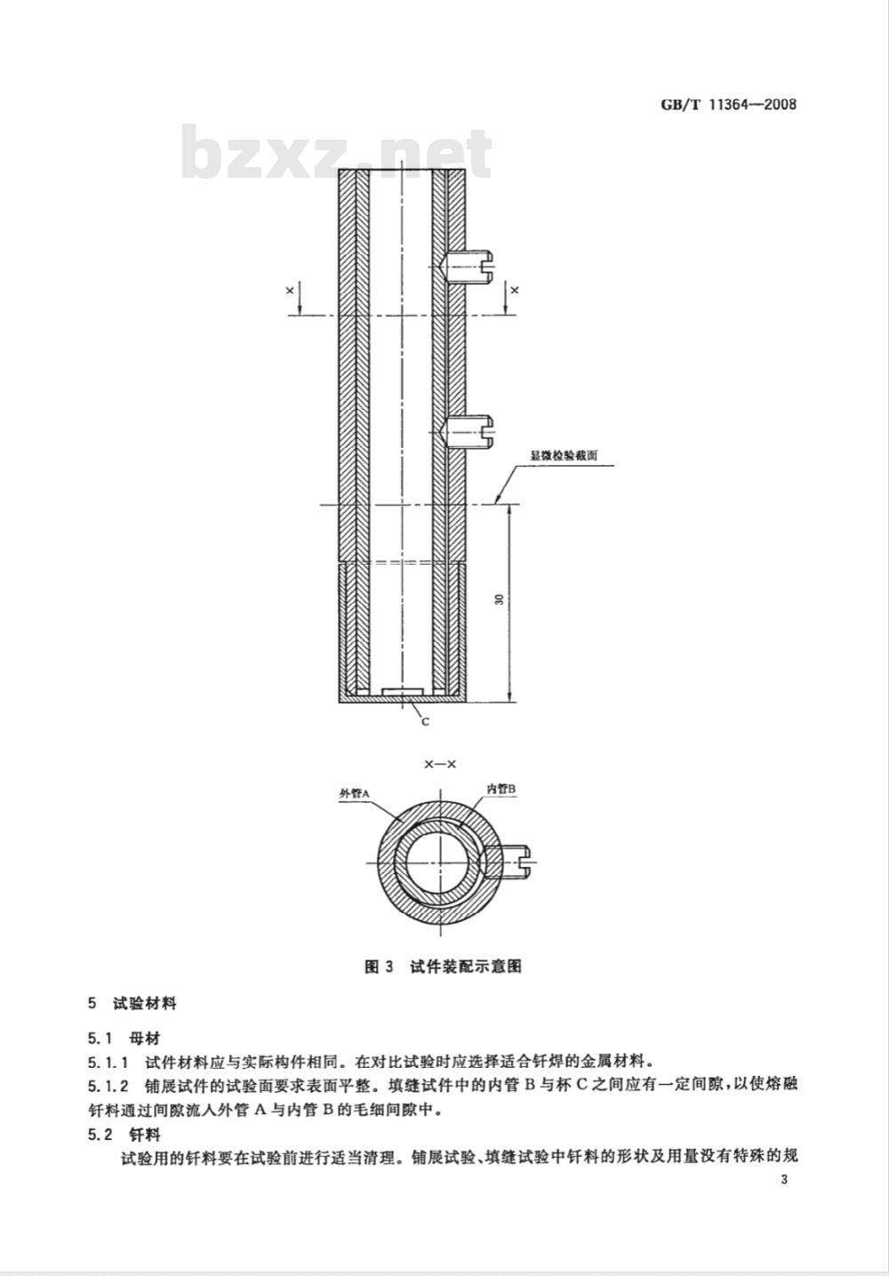
4.2.2钎料填缝试验用试件的形状及尺寸如图2所示,试件装配示意图如图3所示外管A
500F08
0.5±0.05
a杯C为试件的基座。
内管B
13.5±0.02
S00干08
b内管B的端部按图示加工深1+g\mm,宽6士0.05mm的四个等同的矩形沟槽。图2钎料填缝试件的形状及尺寸示意图2
单位为毫米
5试验材料
5.1母材
外管A
内管B
图3试件装配示意图
显微检验截面
5.1.1试件材料应与实际构件相同。在对比试验时应选择适合钎焊的金属材料。GB/T11364-2008
5.1.2铺展试件的试验面要求表面平整。填缝试件中的内管B与杯C之间应有一定间隙,以使熔融钎料通过间隙流入外管A与内管B的毛细间隙中。5.2钎料
试验用的钎料要在试验前进行适当清理。铺展试验、填缝试验中钎料的形状及用量没有特殊的规3
GB/T11364—-2008
定,但在对比试验的情况下应保证钎料形状、钎料用量的一致性。5.3钎剂及保护气体
如需使用钎剂时,试验用钎剂种类没有特殊规定,应选择在钎焊温度区间具有较高活性的钎剂。针剂使用量无特殊规定,但应保证钎料及母材在钎焊过程中不发生二次氧化。在对比试验的情况下,应保证钎剂种类及其用量的一致性。可使用真空或保护气氛进行铺展及填缝试验。6加热装置
6.1推荐加热装置为箱式电炉,示例见图4。也可采用满足试验条件的其他加热方式。6.2电炉应有足够的均温区,将试件均匀加热至钎焊温度。6.3加热装置应具有测量炉温及试件温度的测量装置。6.4试验平台需水平放置,试验平台及其支撑杆应选用耐高温的金属材料。B
89999999899669999999998999
a)使用钎剂的情况
F电炉;
一试验件;
保护气体进气管及出气管;
7试验方法
7.1铺展试验
7.1.1试验温度为相应的钎焊温度。o
5999999999969999999999988
b)使用保护气体或真空的情况
试验平台;
N--热电偶;
P石英管。
图4加热装置示意图
7.1.2试验前,钎料置于试件的上表面中心位置,如需使用钎剂,应将其覆盖于钎料上,然后将试件平放在试验平台上。
7.1.3采用快速加热工艺时,试验平台应先预热到试验温度,经预热的试验平台在炉外停留的时间不得超过15S。
7.1.4试件达到试验温度后,板厚为1mm的试件推荐保温30s;板厚1mm以上的试件推荐保温50s。采用真空钎焊等慢速升温钎焊工艺时,可采用较长保温时间。7.1.5试验结束时,应使试件静止,并冷却至室温,试验结果通过铺展面积和铺展系数来表达。采用适当的仪器测量钎料铺展面积(推荐使用求积仪),以cm2为单位。采用适当的仪器测量钎料铺展之后的高度,根据式(1)计算铺展系数。本试验需要重复5次,结果取其平均值,试验结果表示到小数点后两位,数值修约规则按照GB/T8170中的规定进行。
D-H×100%
式中:
K—铺展系数;
H钎料在母材表面铺展后的高度的数值,单位为毫米(mm);D-与钎料体积相等的球体的直径的数值,单位为毫米(mm);D=1.24V/3
V—试验中使用的钎料的质量与密度的比值。7.2填缝试验
7.2.1试验温度为相应的钎焊温度。GB/T11364—2008
7.2.2试验前,将钎料(切成15mm~20mm小段)尽可能放置在内管B内腔中,如需用钎剂,应将钎剂置于内腔中。钎料与钎剂的混合方法依据它们的特性,推荐使用1400mm2钎料和适量钎剂。7.2.3填缝性试验的保温时间推荐为试件达到试验温度后50s,采用真空钎焊等慢速升温钎焊工艺时,可采用较长保温时间。
7.2.4如图5所示,至少从2个或更多方向对试管中钎料填缝横截面进行X射线透视,并如图6所示记录钎料角度与填缝高度的关系曲线。7.2.5在距试管底部30mm处横截面处进行显微组织观察,如果想获得更多的数据,也可取更多的横截面。显微组织观察时,可获得钎料填缝宽度,钎料与母材的合金化情况及钎料与母材的相互扩散情况的数据。
沿轴1方向
轴1方向
图5射线透视检查示意图
沿轴2方向
GB/T11364--2008
8试验结果的记录
铺展性试验结果的记录
试验名称、试验编号;
母材型号、牌号及尺寸;
图6角度与钎料填缝高度的关系
钎料型号、牌号、规格、用量;钎剂种类、用量及保护气体;
针焊温度、加热方法、保温时间;铺展面积、铺展率。
填缝性试验结果的记录
试验名称、试验编号;
母材型号、牌号及尺寸;
钎料型号、牌号、规格、用量;钎剂种类、用量及保护气体;
钎焊温度、加热方法、保温时间;X射线透视检查结果;
显微组织分析结果。
GB/T11364-2008
中华人民共和
国家标准
钎料润湿性试验方法
GB/T11364—2008
中国标准出版社出版发行
北京复兴门外三里河北街16号
邮政编码:100045
网址www.spc.net.cn
电话:6852394668517548
中国标准出版社秦皇岛印刷厂印刷各地新华书店经销
开本880×12301/16
2008年7月第一版
5字数14千字
印张0.75
2008年7月第一次印刷
书号:155066·1-32068
如有印装差错
由本社发行中心调换
版权专有侵权必究
举报电话:(010)68533533
小提示:此标准内容仅展示完整标准里的部分截取内容,若需要完整标准请到上方自行免费下载完整标准文档。
中华人民共和国国家标准
GB/T11364—2008
代替GB/T11364-1989
钎料润湿性试验方法
Test method of wettability for brazing filler metals(ISO 5179:1983,Investigation of brazeability usinga varying gap test piece,NEQ)2008-05-06发布
中华人民共和国国家质量监督检验检疫总局中国国家标准化管理委员会
2008-11-01实施
GB/T11364—2008
本标准对应于ISO5179:1983《变间隙试件的可钎焊性研究》英文版),与ISO5179的一致性程度为非等效,主要差异如下:
增加了第3章“术语和定义”、第6章“加热装置”和7.1“铺展试验”。本标准代替GB/T11364--1989《钎料铺展性及填缝性试验方法》,与GB/T11364—1989相比主要变化如下:
标准名称修改为“钎料润湿性试验方法”;修改了范围的表述内容;
—一增加了“规范性引用文件”;一删掉了“填缝性”的定义,增加了“润湿性”、“铺展系数”的定义;修改了填缝性试验的技术要求(4.2.2和7.2);增加了铺展性试验结果的评价指标(7.1.5);修改了试验结果的记录(第8章)。本标准由中国机械工业联合会提出。本标准由全国焊接标准化技术委员会(SAC/TC55)归口。本标准起草单位:哈尔滨工业大学、深圳亿铖达工业有限公司、北京航空材料研究院、日东电子科技(深圳)有限公司、常熟市华银焊料有限公司、哈尔滨焊接研究所。本标准主要起草人:何鹏、马鑫、程耀永、史建卫、顾文华、吕晓春。本标准所代替标准的历次版本发布情况为:GB/T11364—1989。
1范围
钎料润湿性试验方法
本标准规定了测定硬钎料润湿性能的铺展试验方法及填缝试验方法。本标准适用于硬钎料润湿性能的评定。2规范性引用文件
GB/T11364—2008
下列文件中的条款通过本标准的引用而成为本标准的条款。凡是注日期的引用文件,其随后所有的修改单(不包括勘误的内容)或修订版均不适用于本标准,然而,鼓励根据本标准达成协议的各方研究是否可使用这些文件的最新版本。凡是不注日期的引用文件,其最新版本适用于木标准。GB/T8170
数值修约规则
3术语和定义
下列术语和定义适用于本标准。3.1
润湿性
wettability
在钎焊时,液态钎料对母材浸润和附着的能力。3.2
coefficient of spreading
铺展系数
评定钎料润湿性的一个判据。
4试件
4.1一般要求
试件的试验面应光洁,无毛边、毛刺。试验面应用适当方法清理,去除油污及氧化物杂质。4.2形状及尺寸
4.2.1钎料铺展试验用试件的形状及尺寸如图1所示。单位为毫米wwW.bzxz.Net
图1钎料铺展试件形状及尺寸示意图1
GB/T11364—2008
4.2.2钎料填缝试验用试件的形状及尺寸如图2所示,试件装配示意图如图3所示外管A
500F08
0.5±0.05
a杯C为试件的基座。
内管B
13.5±0.02
S00干08
b内管B的端部按图示加工深1+g\mm,宽6士0.05mm的四个等同的矩形沟槽。图2钎料填缝试件的形状及尺寸示意图2
单位为毫米
5试验材料
5.1母材
外管A
内管B
图3试件装配示意图
显微检验截面
5.1.1试件材料应与实际构件相同。在对比试验时应选择适合钎焊的金属材料。GB/T11364-2008
5.1.2铺展试件的试验面要求表面平整。填缝试件中的内管B与杯C之间应有一定间隙,以使熔融钎料通过间隙流入外管A与内管B的毛细间隙中。5.2钎料
试验用的钎料要在试验前进行适当清理。铺展试验、填缝试验中钎料的形状及用量没有特殊的规3
GB/T11364—-2008
定,但在对比试验的情况下应保证钎料形状、钎料用量的一致性。5.3钎剂及保护气体
如需使用钎剂时,试验用钎剂种类没有特殊规定,应选择在钎焊温度区间具有较高活性的钎剂。针剂使用量无特殊规定,但应保证钎料及母材在钎焊过程中不发生二次氧化。在对比试验的情况下,应保证钎剂种类及其用量的一致性。可使用真空或保护气氛进行铺展及填缝试验。6加热装置
6.1推荐加热装置为箱式电炉,示例见图4。也可采用满足试验条件的其他加热方式。6.2电炉应有足够的均温区,将试件均匀加热至钎焊温度。6.3加热装置应具有测量炉温及试件温度的测量装置。6.4试验平台需水平放置,试验平台及其支撑杆应选用耐高温的金属材料。B
89999999899669999999998999
a)使用钎剂的情况
F电炉;
一试验件;
保护气体进气管及出气管;
7试验方法
7.1铺展试验
7.1.1试验温度为相应的钎焊温度。o
5999999999969999999999988
b)使用保护气体或真空的情况
试验平台;
N--热电偶;
P石英管。
图4加热装置示意图
7.1.2试验前,钎料置于试件的上表面中心位置,如需使用钎剂,应将其覆盖于钎料上,然后将试件平放在试验平台上。
7.1.3采用快速加热工艺时,试验平台应先预热到试验温度,经预热的试验平台在炉外停留的时间不得超过15S。
7.1.4试件达到试验温度后,板厚为1mm的试件推荐保温30s;板厚1mm以上的试件推荐保温50s。采用真空钎焊等慢速升温钎焊工艺时,可采用较长保温时间。7.1.5试验结束时,应使试件静止,并冷却至室温,试验结果通过铺展面积和铺展系数来表达。采用适当的仪器测量钎料铺展面积(推荐使用求积仪),以cm2为单位。采用适当的仪器测量钎料铺展之后的高度,根据式(1)计算铺展系数。本试验需要重复5次,结果取其平均值,试验结果表示到小数点后两位,数值修约规则按照GB/T8170中的规定进行。
D-H×100%
式中:
K—铺展系数;
H钎料在母材表面铺展后的高度的数值,单位为毫米(mm);D-与钎料体积相等的球体的直径的数值,单位为毫米(mm);D=1.24V/3
V—试验中使用的钎料的质量与密度的比值。7.2填缝试验
7.2.1试验温度为相应的钎焊温度。GB/T11364—2008
7.2.2试验前,将钎料(切成15mm~20mm小段)尽可能放置在内管B内腔中,如需用钎剂,应将钎剂置于内腔中。钎料与钎剂的混合方法依据它们的特性,推荐使用1400mm2钎料和适量钎剂。7.2.3填缝性试验的保温时间推荐为试件达到试验温度后50s,采用真空钎焊等慢速升温钎焊工艺时,可采用较长保温时间。
7.2.4如图5所示,至少从2个或更多方向对试管中钎料填缝横截面进行X射线透视,并如图6所示记录钎料角度与填缝高度的关系曲线。7.2.5在距试管底部30mm处横截面处进行显微组织观察,如果想获得更多的数据,也可取更多的横截面。显微组织观察时,可获得钎料填缝宽度,钎料与母材的合金化情况及钎料与母材的相互扩散情况的数据。
沿轴1方向
轴1方向
图5射线透视检查示意图
沿轴2方向
GB/T11364--2008
8试验结果的记录
铺展性试验结果的记录
试验名称、试验编号;
母材型号、牌号及尺寸;
图6角度与钎料填缝高度的关系
钎料型号、牌号、规格、用量;钎剂种类、用量及保护气体;
针焊温度、加热方法、保温时间;铺展面积、铺展率。
填缝性试验结果的记录
试验名称、试验编号;
母材型号、牌号及尺寸;
钎料型号、牌号、规格、用量;钎剂种类、用量及保护气体;
钎焊温度、加热方法、保温时间;X射线透视检查结果;
显微组织分析结果。
GB/T11364-2008
中华人民共和
国家标准
钎料润湿性试验方法
GB/T11364—2008
中国标准出版社出版发行
北京复兴门外三里河北街16号
邮政编码:100045
网址www.spc.net.cn
电话:6852394668517548
中国标准出版社秦皇岛印刷厂印刷各地新华书店经销
开本880×12301/16
2008年7月第一版
5字数14千字
印张0.75
2008年7月第一次印刷
书号:155066·1-32068
如有印装差错
由本社发行中心调换
版权专有侵权必究
举报电话:(010)68533533
小提示:此标准内容仅展示完整标准里的部分截取内容,若需要完整标准请到上方自行免费下载完整标准文档。

标准图片预览:





- 其它标准
- 热门标准
- 国家标准(GB)
- GB/T50062-2008 电力装置的继电保护和自动装置设计规范
- GB50090-2006 铁路线路设计规范
- GB/T228.1-2021 金属材料 拉伸试验 第1部分:室温试验方法
- GB/T2828.1-2012 计数抽样检验程序 第1部分:按接收质量限(AQL)检索的逐批检验抽样计划
- GB/T6682-2008 分析实验室用水规格和试验方法
- GB/T37649-2019 化妆品中硫柳汞和苯基汞的测定高效液相色谱-电感耦合等离子体质谱法
- GB/T11132-2008 液体石油产品烃类的测定 荧光指示剂吸附法
- GB/T3289.26-1982 可锻铸铁管路连接件型式尺寸 内接头
- GB50508-2010 涤纶工厂设计规范
- GB/T21666-2008 尿吸收辅助器具 评价的一般指南
- GB/T33049-2016 偏光片用光学薄膜 涂层附着力的测定方法
- GB/T11982.2-1996 聚氯乙烯卷材地板 第2部分:有基材有背涂层聚氯乙烯卷材地板
- GB4623-1994 环形预应力混凝土电杆
- GB/T14929.2-1994 花生仁、棉籽油、花生油中涕灭威残留量测定方法
- GB/T22807-2008 皮革和毛皮 化学试验 六价铬含量的测定
- 行业新闻
请牢记:“bzxz.net”即是“标准下载”四个汉字汉语拼音首字母与国际顶级域名“.net”的组合。 ©2025 标准下载网 www.bzxz.net 本站邮件:bzxznet@163.com
网站备案号:湘ICP备2025141790号-2
网站备案号:湘ICP备2025141790号-2