- 您的位置:
- 标准下载网 >>
- 标准分类 >>
- 国家标准(GB) >>
- GB/T 4458.1-1984 机械制图 图样画法
标准号:
GB/T 4458.1-1984
标准名称:
机械制图 图样画法
标准类别:
国家标准(GB)
标准状态:
已作废-
实施日期:
1985-07-01 -
作废日期:
2003-04-01 出版语种:
简体中文下载格式:
.rar.pdf下载大小:
830.54 KB
替代情况:
GB 128-1974;被GB/T 4458.1-2002代替 被GB/T 4458.6-2002代替 部分被GB/T 4459.7-1998代替采标情况:
ISO 128-1982 NEQ

部分标准内容:
1引言
中华人民共和国国家标准
机械制图
图样画法
Mechanical drawings
Representation of drawings
1.1本标准规定了绘制机械图样的基本方法。1.2本标准参照采用国际标准ISO128—1982《技术制图-1.3与本标准有关的国家标准:
GB4457.1—84《机械制图
GB4457.2—84《机械制图
GB4457.3—84《机械制图
GB4457.4—84《机械制图
GB4457.5—84《机械制图
2总则
图纸幅面及格式》
比例》
字体》
图线》
剖面符号》
画法通则》。
UDC621.71:744
GB4458.1—84
代替GB128—74
2.1绘制机械图样时,应首先考虑看图方便。根据机件的结构特点,选用适当的表达方法。在完整、清晰地表达机件各部分形状的前提下,力求制图简便。
2.2机件的图形按正投影法绘制,并采用第3视图
3.1视图一—机件向投影面投影所得的图形。一角投影法。
视图一般只画机件的可见部分,必要时才画出其不可见部分。3.2基本视图
3.2.1基本视图一一机件向基本投影面投影所得的视图。基本投影面规定为正六面体的六个面,各投影面的展开方法见图1。3.2.2基本视图名称及其投影方向的规定主视图-
由前向后投影所得的视图,俯视图一一由上向下投影所得的视图;
左视图一一由左向右投影所得的视图;右视图-一由右向左投影所得的视图;
仰视图一
由下向上投影所得的视图;后视图一国家标准局1984-07-11发布
一由后向前投影所得的视图。
1985-07-01实施
3.2.3基本视图的配置关系见图2。GB4458.1—84
(抑视围)
(右槐图)
(主视留)
(输视图)
在同一张图纸内按图2配置视图时,图2
(左视图)
一律不标注视图的名称。
(后靓图)
如不能按图2配置视图时,应在视图的上方标出视图的名称“×向”*,在相应的视图附近用箭头指明投影方向,并注上同样的字母(图3)。A间
“×向”中的“×”为大写拉丁字母的代号。2
3.3斜视图-
GB4458.1—84
一机件向不平行于任何基本投影面的平面投影所得的视图。画斜视图时,必须在视图的上方标出视图的名称“×向”,在相应的视图附近用箭头指明投影方向,并注上同样的字母(图4)。
斜视图一般按投影关系配置(图4),必要时也可配置在其它适当位置。在不致引起误解时,允许将图形旋转,标注形式为“×向旋转”(图5:A向旋转、图31:B向旋转)。A 向蕨特
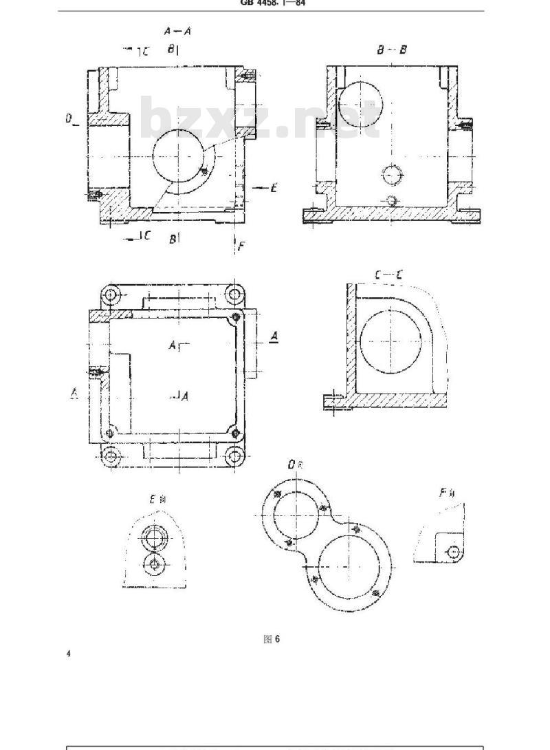
3.4局部视图一一将机件的某一部分向基本投影面投影所得的视图。画局部视图时,一般在局部视图上方标出视图的名称“×向”,在相应的视图附近用箭头指明投影方向,并注上同样的字母(图6)。3
GB4458.1—84
GB4458.1—84
当局部视图按投影关系配置,中间又没有其它图形隔开时,可省略标注(图4、5中局部视图)。3.5局部视图和局部的斜视图的断裂边界应以波浪线表示(图4、5)。当所表示的局部结构是完整的,且外轮廓线又成封闭时,波浪线可省略不画(图6:D向)。3.6旋转视图一一假想将机件的倾斜部分旋转到与某一选定的基本投影面平行后再向该投影面投影所得的视图(图7)。
4剖视
4.1剖视图一一假想用剖切面剖开机件,将处在观察者和剖切面之间的部分移去,而将其余部分向投影面投影所得的图形(图8)。4.2剖切面
注:各种剖切面亦适用于画剖面图。4.2.1单一剖切面(图8、9、10))一般用平面切机件,也可用柱面剖切机件。采用柱面部切机件时,视图应按展开绘制(图11:B—B)。
GB4458.184
4.2.2两相交的剖切平面(交线垂直于某一基本投影面)Al
88展开
用两相交的剖切平面(交线垂直于某一基本投影面)剖开机件的方法称为旋转剖(图12~16)。6
GB4458.1—84
GB 4458.1—84
采用这种方法画剖视图时,先假想按剖切位置部开机件,然后将被剖切平面剖开的结构及其有关部分旋转到与选定的投影面平行再进行投的其它结构一般仍按原来位置投影(图17:,如图18中的臂。
油孔)。当剖切后产生不完整要素时,应将此部分按不部绘制,
4.2.3几个平行的剖切平面
用几个平行的部切平面部开机件的方法称为阶梯剖(图19)。图18
采用这种方法画视图时,在图形内不应出现不完整的要素,仅当两个要素在图形上具有公共对称中心线或轴线时,可以各画一半,此时应以对称中心线或轴线为界(图20)。8www.bzxz.net
4.2.4组合的剖切平面
GB4458.1—84
除旋转、阶梯剖以外,用组合的部切平面剖开机件的方法称为复合剖(图21、22)。图21
GB 4458.1—84
此时应标注“×一×展开”(图23)。采用这种方法画剖视图时,可采用展开画法,A一A展开
4.2.5不平行于任何基本投影面的部切平面用不平行于任何基本投影面的剖切平面剖开机件的方法称为斜部(图8:A一A;图24:B一B;图25:A—A旋转)。
采用这种方法画剖视图,在不致引起误解时,允许将图形旋转,标注形式为“×一×旋转”(图25:A一A 旋转)。
GB4458.1—84
4.3全剖视图—一用部切平面完全地剖开机件所得的视图(图8:主视图、图10:A一A、图12:A—A、图19:A—A、图21:A—A、图24:B—B)。4.4半部视图一一当机件具有对称平面时,在垂直于对称平面的投影面上投影所得的图形,可以对称中心线为界,一半画成剖视,另一半画成视图(图9)。机件的形状接近于对称,且不对称部分已另有图形表达清楚时,也可以画成半剖视(图26、27)。11
GB4458.1—84
4.5局部剖视图
一用剖切平面局部地部开机件所得的剖视图(图6:C—C、图8:A一A、图28)。
局部剖视图用波浪线分界,波浪线不应和图样上其它图线重合。当被结构为回转体时,允许将该结构的中心线作为局部剖视与视图的分界线(图29)。图28
4.6剖切符号(线宽1~1.56,断开的粗实线)尽可能不与图形的轮廓线相交,在它的起、迄和转折处应用相同的字母标出,但当转折处地位有限又不致引起误解时允许省略标注(图17、20、23)。两组或两组以上相交的剖切平面,其剖切符号相交处用大写字母“0”标注(图16)。4.7基本视图配置的规定(见3.2条)同样适用于剖视图(图30:B一B、图31:A一A)。剖视图也可按投影关系配置在与剖切符号相对应的位置(图30:A一A),必要时允许配置在其它适当位置。
小提示:此标准内容仅展示完整标准里的部分截取内容,若需要完整标准请到上方自行免费下载完整标准文档。
中华人民共和国国家标准
机械制图
图样画法
Mechanical drawings
Representation of drawings
1.1本标准规定了绘制机械图样的基本方法。1.2本标准参照采用国际标准ISO128—1982《技术制图-1.3与本标准有关的国家标准:
GB4457.1—84《机械制图
GB4457.2—84《机械制图
GB4457.3—84《机械制图
GB4457.4—84《机械制图
GB4457.5—84《机械制图
2总则
图纸幅面及格式》
比例》
字体》
图线》
剖面符号》
画法通则》。
UDC621.71:744
GB4458.1—84
代替GB128—74
2.1绘制机械图样时,应首先考虑看图方便。根据机件的结构特点,选用适当的表达方法。在完整、清晰地表达机件各部分形状的前提下,力求制图简便。
2.2机件的图形按正投影法绘制,并采用第3视图
3.1视图一—机件向投影面投影所得的图形。一角投影法。
视图一般只画机件的可见部分,必要时才画出其不可见部分。3.2基本视图
3.2.1基本视图一一机件向基本投影面投影所得的视图。基本投影面规定为正六面体的六个面,各投影面的展开方法见图1。3.2.2基本视图名称及其投影方向的规定主视图-
由前向后投影所得的视图,俯视图一一由上向下投影所得的视图;
左视图一一由左向右投影所得的视图;右视图-一由右向左投影所得的视图;
仰视图一
由下向上投影所得的视图;后视图一国家标准局1984-07-11发布
一由后向前投影所得的视图。
1985-07-01实施
3.2.3基本视图的配置关系见图2。GB4458.1—84
(抑视围)
(右槐图)
(主视留)
(输视图)
在同一张图纸内按图2配置视图时,图2
(左视图)
一律不标注视图的名称。
(后靓图)
如不能按图2配置视图时,应在视图的上方标出视图的名称“×向”*,在相应的视图附近用箭头指明投影方向,并注上同样的字母(图3)。A间
“×向”中的“×”为大写拉丁字母的代号。2
3.3斜视图-
GB4458.1—84
一机件向不平行于任何基本投影面的平面投影所得的视图。画斜视图时,必须在视图的上方标出视图的名称“×向”,在相应的视图附近用箭头指明投影方向,并注上同样的字母(图4)。
斜视图一般按投影关系配置(图4),必要时也可配置在其它适当位置。在不致引起误解时,允许将图形旋转,标注形式为“×向旋转”(图5:A向旋转、图31:B向旋转)。A 向蕨特
3.4局部视图一一将机件的某一部分向基本投影面投影所得的视图。画局部视图时,一般在局部视图上方标出视图的名称“×向”,在相应的视图附近用箭头指明投影方向,并注上同样的字母(图6)。3
GB4458.1—84
GB4458.1—84
当局部视图按投影关系配置,中间又没有其它图形隔开时,可省略标注(图4、5中局部视图)。3.5局部视图和局部的斜视图的断裂边界应以波浪线表示(图4、5)。当所表示的局部结构是完整的,且外轮廓线又成封闭时,波浪线可省略不画(图6:D向)。3.6旋转视图一一假想将机件的倾斜部分旋转到与某一选定的基本投影面平行后再向该投影面投影所得的视图(图7)。
4剖视
4.1剖视图一一假想用剖切面剖开机件,将处在观察者和剖切面之间的部分移去,而将其余部分向投影面投影所得的图形(图8)。4.2剖切面
注:各种剖切面亦适用于画剖面图。4.2.1单一剖切面(图8、9、10))一般用平面切机件,也可用柱面剖切机件。采用柱面部切机件时,视图应按展开绘制(图11:B—B)。
GB4458.184
4.2.2两相交的剖切平面(交线垂直于某一基本投影面)Al
88展开
用两相交的剖切平面(交线垂直于某一基本投影面)剖开机件的方法称为旋转剖(图12~16)。6
GB4458.1—84
GB 4458.1—84
采用这种方法画剖视图时,先假想按剖切位置部开机件,然后将被剖切平面剖开的结构及其有关部分旋转到与选定的投影面平行再进行投的其它结构一般仍按原来位置投影(图17:,如图18中的臂。
油孔)。当剖切后产生不完整要素时,应将此部分按不部绘制,
4.2.3几个平行的剖切平面
用几个平行的部切平面部开机件的方法称为阶梯剖(图19)。图18
采用这种方法画视图时,在图形内不应出现不完整的要素,仅当两个要素在图形上具有公共对称中心线或轴线时,可以各画一半,此时应以对称中心线或轴线为界(图20)。8www.bzxz.net
4.2.4组合的剖切平面
GB4458.1—84
除旋转、阶梯剖以外,用组合的部切平面剖开机件的方法称为复合剖(图21、22)。图21
GB 4458.1—84
此时应标注“×一×展开”(图23)。采用这种方法画剖视图时,可采用展开画法,A一A展开
4.2.5不平行于任何基本投影面的部切平面用不平行于任何基本投影面的剖切平面剖开机件的方法称为斜部(图8:A一A;图24:B一B;图25:A—A旋转)。
采用这种方法画剖视图,在不致引起误解时,允许将图形旋转,标注形式为“×一×旋转”(图25:A一A 旋转)。
GB4458.1—84
4.3全剖视图—一用部切平面完全地剖开机件所得的视图(图8:主视图、图10:A一A、图12:A—A、图19:A—A、图21:A—A、图24:B—B)。4.4半部视图一一当机件具有对称平面时,在垂直于对称平面的投影面上投影所得的图形,可以对称中心线为界,一半画成剖视,另一半画成视图(图9)。机件的形状接近于对称,且不对称部分已另有图形表达清楚时,也可以画成半剖视(图26、27)。11
GB4458.1—84
4.5局部剖视图
一用剖切平面局部地部开机件所得的剖视图(图6:C—C、图8:A一A、图28)。
局部剖视图用波浪线分界,波浪线不应和图样上其它图线重合。当被结构为回转体时,允许将该结构的中心线作为局部剖视与视图的分界线(图29)。图28
4.6剖切符号(线宽1~1.56,断开的粗实线)尽可能不与图形的轮廓线相交,在它的起、迄和转折处应用相同的字母标出,但当转折处地位有限又不致引起误解时允许省略标注(图17、20、23)。两组或两组以上相交的剖切平面,其剖切符号相交处用大写字母“0”标注(图16)。4.7基本视图配置的规定(见3.2条)同样适用于剖视图(图30:B一B、图31:A一A)。剖视图也可按投影关系配置在与剖切符号相对应的位置(图30:A一A),必要时允许配置在其它适当位置。
小提示:此标准内容仅展示完整标准里的部分截取内容,若需要完整标准请到上方自行免费下载完整标准文档。

标准图片预览:





- 其它标准
- 热门标准
- 国家标准(GB)
- GB50256-2014 电气装置安装工程 起重机电气装置施工及验收规范
- GB/T18362-2001 直燃型溴化锂吸收式冷(温)水机组
- GB/T8260-2008 卡箍式柔性管接头 型式与尺寸
- GB/T11383-1989 信息处理 信息交换用八位代码结构和编码规则
- GB4444-1984 船用钢质斜梯
- GB/T14294-2008 组合式空调机组
- GB19578-2021 乘用车燃料消耗量限值
- GB/T15063-2020 复合肥料
- GB/Z43482-2023 液压传动 软管和软管总成 收集流体样本分析清洁度的方法
- GB/T20026-2005 橡胶和塑料软管 内衬层耐磨性测定
- GB/T15729-2008 手用扭力扳手通用技术条件
- GB/T1226-2010 一般压力表
- GB/T27991-2011 河流泥沙测验及颗粒分析仪器基本技术条
- GB/T17694-2023 地理信息 术语
- GB/T17974-2000 台式喷墨打印机通用规范
- 行业新闻
请牢记:“bzxz.net”即是“标准下载”四个汉字汉语拼音首字母与国际顶级域名“.net”的组合。 ©2009 标准下载网 www.bzxz.net 本站邮件:bzxznet@163.com
网站备案号:湘ICP备2023016450号-1
网站备案号:湘ICP备2023016450号-1