- 您的位置:
- 标准下载网 >>
- 标准分类 >>
- 化工行业标准(HG) >>
- HG/T 2048.2-1991 带冷却水夹套 填料箱
标准号:
HG/T 2048.2-1991
标准名称:
带冷却水夹套 填料箱
标准类别:
化工行业标准(HG)
英文名称:
Stuffing box with cooling water jacket标准状态:
现行-
发布日期:
1991-07-06 -
实施日期:
1992-01-01 出版语种:
简体中文下载格式:
.rar.pdf下载大小:
114.44 KB
标准ICS号:
化工技术>>化工设备>>71.120.99其他化工设备中标分类号:
化工>>化工机械与设备>>G94非金属化工机械设备
部分标准内容:
中华人民共和国化工行业标准
带冷却水夹套
主题内容与适用范围
填料箱
HG/T2048.2-91
本标准规定了带冷却水夹套塘玻璃填料箱的型式。基本参数、主要尺寸及技术要求,本标准适用于公称压力小于或等于0.25MPa的塘玻璃设备搅拌轴的密封装置,适用介质温度高于100C低于或等于200℃及转轴线速度小于或等于2m/s.本填料箱不适用于易燃及毒性程度为极度、高度和中度危害的介质。
引用标准
GB899双头螺柱bm=1.5d
GB1235'O形橡胶密封圈
GB61701型六角螺母A级和B级
GB6414:铸件尺寸公差
JC341聚四氟乙烯石棉盘根
ZBG33003聚四氟乙烯棒材
ZBG94004据玻璃设备技术条件
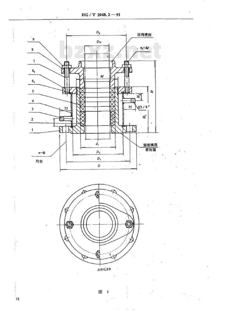
3型式、基本参数及尺寸
3.1结构型式、基本参数及尺寸见图1、图2及表1、表2规定、中华人民共和国化学工业部1991-07-06批准1992-01-01实施
HG/T2048.2-91
DN≤80
注润滑剂
撤玻璃层
密封面
HG/T 2048.2--91
注润滑剂
塘玻璃层
密封面
公称直径
标准号
ZBG33003
GB1235(参照)
GB6170
160(h8)
190(h8)
210(h8)
240(h8)
265(h8)
320(h8)
320(h8)
375(h8)
注:d为机械加工后铁坏尺寸,
3.2标记
标记示例:
HG/T2048.2--91
水夹套
O形圈
双头螺柱
明细表
见表2
见表2
表2尺寸表
125×3
Q235-A
Q235-A或10
聚四氟乙烯石棉
橡胶Ⅱ-1
软橡胶
Q235-A
Q235-A
法兰螺栓孔
公称压力PN0.25MPa,公称直径DN50mm的带冷却水夹套塘玻璃填料箱标记:填料箱PN0.25DN50HG/T2048.2—9114bzxz.net
或携玻璃铸铁
或柔性石墨填料
压盖螺栓
参考重量
4技术要求
4.1铸铁件尺寸公差按GB6414规定HG/T2048.2-91
4.2箱体法兰的密封面对轴线的垂直度应小于其外径的4/10004.3填料箱法兰螺栓中心圆直径和相邻两螺栓孔弦长极限偏差为土0.6mm;任意两螺栓孔弦长极限偏差为±1.0mm,
4.4箱体应按本标准和ZBG94004进行制造、试验及验收,4.5安装填料时,须逐层进行压紧:4.6填料箱装配完毕后,须与据玻璃设备一起进行水压试验或运转气密性试验,其试验压力、严密性要求按所在塘玻璃设备总图要求。4.7压盖油槽中应注人润滑剂,所用润滑剂应不影响容器内介质4.8按介质要求选取聚四氟艺烯纤维编织填料、浸渍特殊润滑剂的填料,柔性石墨填料或其他软质填料,但填料材料名称应在塘玻璃设备总图上注明,4.9箱体法兰与所在设备的管口活套法兰相连接,连接尺寸按HG/T2105PN0.6MPa的规定,与活套法兰公称直径相对应的填料箱的公称直径,按表3规定表3
填料箱DN
活套法兰DN
5包装、运输和贮存
5.1外露塘玻璃面用软物包扎、并在包装箱中牢靠地固定,5.2搬动与运输时必须避免碰撞,包装箱不许倒置,5.3产品应附有装箱单,产品合格证及产品使用说明书。5.4产品应存放室内,不许露天存放或堆置.附加说明:
本标准由中国化工装备总公司提出。本标准由全国塘玻璃设备标准化技术委员会归口。本标准由国家医药管理局上海医药设计院负责起草。本标准主要起草人何维良、厉益骏、鲍爱元95
小提示:此标准内容仅展示完整标准里的部分截取内容,若需要完整标准请到上方自行免费下载完整标准文档。
带冷却水夹套
主题内容与适用范围
填料箱
HG/T2048.2-91
本标准规定了带冷却水夹套塘玻璃填料箱的型式。基本参数、主要尺寸及技术要求,本标准适用于公称压力小于或等于0.25MPa的塘玻璃设备搅拌轴的密封装置,适用介质温度高于100C低于或等于200℃及转轴线速度小于或等于2m/s.本填料箱不适用于易燃及毒性程度为极度、高度和中度危害的介质。
引用标准
GB899双头螺柱bm=1.5d
GB1235'O形橡胶密封圈
GB61701型六角螺母A级和B级
GB6414:铸件尺寸公差
JC341聚四氟乙烯石棉盘根
ZBG33003聚四氟乙烯棒材
ZBG94004据玻璃设备技术条件
3型式、基本参数及尺寸
3.1结构型式、基本参数及尺寸见图1、图2及表1、表2规定、中华人民共和国化学工业部1991-07-06批准1992-01-01实施
HG/T2048.2-91
DN≤80
注润滑剂
撤玻璃层
密封面
HG/T 2048.2--91
注润滑剂
塘玻璃层
密封面
公称直径
标准号
ZBG33003
GB1235(参照)
GB6170
160(h8)
190(h8)
210(h8)
240(h8)
265(h8)
320(h8)
320(h8)
375(h8)
注:d为机械加工后铁坏尺寸,
3.2标记
标记示例:
HG/T2048.2--91
水夹套
O形圈
双头螺柱
明细表
见表2
见表2
表2尺寸表
125×3
Q235-A
Q235-A或10
聚四氟乙烯石棉
橡胶Ⅱ-1
软橡胶
Q235-A
Q235-A
法兰螺栓孔
公称压力PN0.25MPa,公称直径DN50mm的带冷却水夹套塘玻璃填料箱标记:填料箱PN0.25DN50HG/T2048.2—9114bzxz.net
或携玻璃铸铁
或柔性石墨填料
压盖螺栓
参考重量
4技术要求
4.1铸铁件尺寸公差按GB6414规定HG/T2048.2-91
4.2箱体法兰的密封面对轴线的垂直度应小于其外径的4/10004.3填料箱法兰螺栓中心圆直径和相邻两螺栓孔弦长极限偏差为土0.6mm;任意两螺栓孔弦长极限偏差为±1.0mm,
4.4箱体应按本标准和ZBG94004进行制造、试验及验收,4.5安装填料时,须逐层进行压紧:4.6填料箱装配完毕后,须与据玻璃设备一起进行水压试验或运转气密性试验,其试验压力、严密性要求按所在塘玻璃设备总图要求。4.7压盖油槽中应注人润滑剂,所用润滑剂应不影响容器内介质4.8按介质要求选取聚四氟艺烯纤维编织填料、浸渍特殊润滑剂的填料,柔性石墨填料或其他软质填料,但填料材料名称应在塘玻璃设备总图上注明,4.9箱体法兰与所在设备的管口活套法兰相连接,连接尺寸按HG/T2105PN0.6MPa的规定,与活套法兰公称直径相对应的填料箱的公称直径,按表3规定表3
填料箱DN
活套法兰DN
5包装、运输和贮存
5.1外露塘玻璃面用软物包扎、并在包装箱中牢靠地固定,5.2搬动与运输时必须避免碰撞,包装箱不许倒置,5.3产品应附有装箱单,产品合格证及产品使用说明书。5.4产品应存放室内,不许露天存放或堆置.附加说明:
本标准由中国化工装备总公司提出。本标准由全国塘玻璃设备标准化技术委员会归口。本标准由国家医药管理局上海医药设计院负责起草。本标准主要起草人何维良、厉益骏、鲍爱元95
小提示:此标准内容仅展示完整标准里的部分截取内容,若需要完整标准请到上方自行免费下载完整标准文档。
标准图片预览:





- 其它标准
- 热门标准
- 化工行业标准(HG)
- HG/T3219-2009 代替 HG/T 3219-1999 搪玻璃平面阀
- HG/T20518-2008 化工粉体工程设计通用规范
- HG/T3449-1999 化学试剂 甲基红
- HG/T2017-2011 代替 HG/T 2017-2000 普通运动鞋
- HG/T5036-2016 常温有机硫转化吸收催化剂催化性能试验方法
- HG/T2371-2003 代替 HG/T 2371-1992 搪玻璃开式搅拌容器
- HG/T4221-2011 双组分室温硫化有机硅模具胶
- HG/T4323-2012 循环冷却水中军团菌的检测与计数
- HG/T4019-2008 化学试剂 间甲酚紫
- HG/T4987-2016 工业燃气天然气为原料的增效燃气
- HG/T3431-2010 代替 HG/T 3431-2001 酸性红 R(C. I. 酸性红 18)
- HG/T21559.1-2013 代替 HG/T 21559.1-1995 不锈钢网孔板波纹填料工程技术规范
- HG/T4900-2016 带式输送机用聚氨酯防尘带
- HG/T5377-2018 乙烯-醋酸乙烯酯(EVA)胶膜
- HG/T4995-2016 胶鞋 运动鞋附件 鞋眼
- 行业新闻
请牢记:“bzxz.net”即是“标准下载”四个汉字汉语拼音首字母与国际顶级域名“.net”的组合。 ©2025 标准下载网 www.bzxz.net 本站邮件:bzxznet@163.com
网站备案号:湘ICP备2025141790号-2
网站备案号:湘ICP备2025141790号-2