- 您的位置:
 - 标准下载网 >>
 - 标准分类 >>
 - 机械行业标准(JB) >>
 - JB/T 8537-1997 粉尘比电阻实验室测试方法
 
标准号:
JB/T 8537-1997
标准名称:
粉尘比电阻实验室测试方法
标准类别:
机械行业标准(JB)
英文名称:
Laboratory test method for dust resistivity标准状态:
现行- 
          	
发布日期:
1997-04-15 - 
		 
实施日期:
1998-01-01 出版语种:
简体中文下载格式:
.rar.pdf下载大小:
170.22 KB
替代情况:
ZB J88007-89
点击下载
标准简介:
										 标准下载解压密码:www.bzxz.net
					 					 
						 
	        
	      JB/T 8537-1997 本标准是对ZB J88 007-89《粉尘比电阻测试方法》的修订。 本标准规定了实验室粉尘比电阻测试的方法。 本标准适用于工业粉尘比电阻测定。 JB/T 8537-1997 粉尘比电阻实验室测试方法 JB/T8537-1997
部分标准内容:
					
					中华人民共和国机械行业标准
JB/F8537-1997
粉尘比电阻实验室测试方法
1.997-0-4 15 发布
中华人民共和国城工业部
1998-01-01实施
B/I6537---1997
本标准是对BJ8一89小比电阻测试法的修订。本标准偿汀时车名称上作生改,便于区别现场测试标准。本标准从生效之1距,间时代款2BJ88907·89,本标准机核工业部环保机械标注化技术委员会电院生器分提术委员会提出井口口。本标准起草年位:逝江菲达机电策团有限公司。本标准起草人:冯小合、周钩飞。木标准于1989年片达发布,
!范由
中华人民共和国机械行业标准
粉尘比电阻实验室测试方法
本示准规京「实验实粉尘比电阻测试的方法。本准造用于工业扫头比电医测实,2定义
2.1实验定粉尘比电4..m
在物尘压两带面的超验度与感应流密度的此室:3.2电5强度.kV/cm
加在物本层两端直的电压与受小层更的比率2.3粉尘
J8/T 8537-1997
代 2B [83 07-60
在机热力作同下产生1~204m粒径固体微轻叫粉尘,如粉,而效。1.4非积密度·g/c1*
指学出盘内自自然准积面成的尘粒质章与粉尘盘容积之比。2.5粉尘层孔就索.cmm
按中层的空极比困烈试盘咨积的比率2.6烧火豆.9
粉尘性品烧兴且是对然料燃烩程变的测定,空是经:燥的份少拉生75心点燃后新尖去的重与C干燥后的期样品单量的比率,2.了测试代筑
实军电阳池试新环境
3测试置
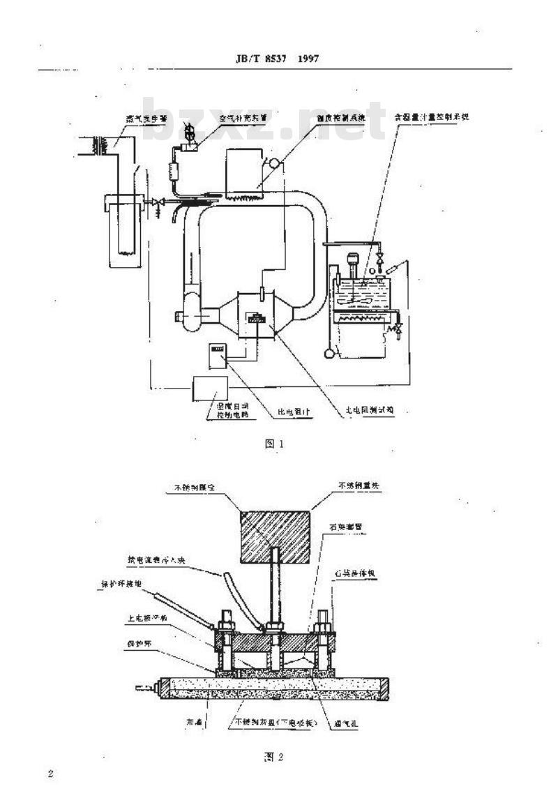
3.1比也明值应在模抵工品务件下来制定,需要月有调温,调原,自动控制系销.其测试装雷按图1的视。
3.2实验室比电限测式电极按2的轨定:.测试设咨及其性能要求
3.3.1摄约件
)导性能好:
热后不会形变
)觉桃与东化些气接钟不起化学反座)环境气象滤送平通快:
心)绝缘发轻要带退文费范缘好:“)极百费平整,光滑.消涂高压尖端放电助象,机械工业部1997-14-15批准
1998-01-01实剪
拖电流迎市人变
保扩环持地
上电报单
保护牙
JB/T85371997
空社充东管
控制电内
比电E
创内差制低液wwW.bzxz.Net
含阻量计量垫制系税
北风洲
不然拥益共
石央普管
心桌品评权
锈(电板)
3.3.2剂试仪按表1的定,
电源表
3. 3. 3换试箱
JB/T 8537.1997
n~2nkv
10---3X1D-\ A
16--4000
(6--1515
梗度丝出
测试箱的溢率可调范围从常温到400<测试学温试验能保持在0.017\乙内,自势对流冷却要求内从40下降到s0
注:T为测决温度。下向,
3.3.4商压直统共给
同统岛臣输出以~20 kV,电流为 --10 mA,输出电采的最人对方根渡动应小于 0. 2炎。3.3.5湿度系统
望庆的供给用酬腾的蒸陷永汽通过调阅输入测试箍内靠度的控制电光电媒点仪进行临视、其量公析法进行校准。用汽调范阀和控制水刘热器的电正收调节知移定所需要的湿度,测试步骤
4.!试样的制备
试样应经无刷轻轻碎结块经1711出日分摔筛过逆.除去外来将质.装瓶贴上标券4.2测试准备
试样装入解半盘时·要求份牛厚变为5m,粉尖层密实度分布均可,四个整粉尘盘装氧粉尘样的重差不大于不,载样的扮主盘放为出匝试豹时不能有娠动。谢然与负离照要接能良好。上电轻效心树变层上附不能存证何通击为其位百是龄尘的证中心尘陷不得赶过(5叫,上中提与转池保护环之间软孔晾内不能充满检尘,保护环按地良好,手心电极按电流表后再通地。4.3电步当度和击穿电压的闭试
当试计电阳与所划电务为两数关系时,提度应收15CC或35C。这要报据收计电除尘器温度杀4而定,而月应做一~或几个不同含混量的试验,做此试验时一升始所如电均慢度应小十2V/m.以后场驾店的增量以2kV/em原一谨子测定,克则抢尘层被出穿步止。记下各点电场强度上的比电曲值和击等山压,
4.4比电阻沈试
比电阳测试从常混开婚时热,始热惠必然高干路点温序。对于煤求,从90C无始划试,每个测点间的益度间漏为0,流到210心止,特疾商要可测到330或4CC.1他的粉个样要根据况条件的需变而克,
试时所收的电正必领取主穿出压的85%~95不,但购加的电压不能传电请密度媒过3%10:A/测试约活度必效达到预期的状态且稳定(10rn内温度的政变要小于0.01F亡),提度的变化也要控制在要求适的5必以内,待温度,起度配达刘要求的状态月稳定,再经施加电乐到测出电未点,稳定30%,不能超过1m,读出电压,电流值。燃后按式算出比电组值:P-
式中,
此电阻·cm:
4—上电极面积,cm
-—测试电压.hv;
粉尘厚度.cm
[—-利试国渐,八
JR/T 8537—.1997
相同方法测定120,-6、180.210C客点等全部测试完后,待冷取出盘扮尘盘,币测一次物少是质度,如果构层享盘减小0.5m上,则热实际部尘房厚度计算电场强度和比电阳。5测试报告
)比阻与温、谨度之间的关多图)比电账在特定避度、湿上与电项逆度的关系已座4小
宾育公员会
JB/门8537—1997
TB/T6537-199
水分体程百(%)
由穿电乐:kViem?
gh(Visn)
国4电场度
小提示:此标准内容仅展示完整标准里的部分截取内容,若需要完整标准请到上方自行免费下载完整标准文档。
	 
	        
	      JB/F8537-1997
粉尘比电阻实验室测试方法
1.997-0-4 15 发布
中华人民共和国城工业部
1998-01-01实施
B/I6537---1997
本标准是对BJ8一89小比电阻测试法的修订。本标准偿汀时车名称上作生改,便于区别现场测试标准。本标准从生效之1距,间时代款2BJ88907·89,本标准机核工业部环保机械标注化技术委员会电院生器分提术委员会提出井口口。本标准起草年位:逝江菲达机电策团有限公司。本标准起草人:冯小合、周钩飞。木标准于1989年片达发布,
!范由
中华人民共和国机械行业标准
粉尘比电阻实验室测试方法
本示准规京「实验实粉尘比电阻测试的方法。本准造用于工业扫头比电医测实,2定义
2.1实验定粉尘比电4..m
在物尘压两带面的超验度与感应流密度的此室:3.2电5强度.kV/cm
加在物本层两端直的电压与受小层更的比率2.3粉尘
J8/T 8537-1997
代 2B [83 07-60
在机热力作同下产生1~204m粒径固体微轻叫粉尘,如粉,而效。1.4非积密度·g/c1*
指学出盘内自自然准积面成的尘粒质章与粉尘盘容积之比。2.5粉尘层孔就索.cmm
按中层的空极比困烈试盘咨积的比率2.6烧火豆.9
粉尘性品烧兴且是对然料燃烩程变的测定,空是经:燥的份少拉生75心点燃后新尖去的重与C干燥后的期样品单量的比率,2.了测试代筑
实军电阳池试新环境
3测试置
3.1比也明值应在模抵工品务件下来制定,需要月有调温,调原,自动控制系销.其测试装雷按图1的视。
3.2实验室比电限测式电极按2的轨定:.测试设咨及其性能要求
3.3.1摄约件
)导性能好:
热后不会形变
)觉桃与东化些气接钟不起化学反座)环境气象滤送平通快:
心)绝缘发轻要带退文费范缘好:“)极百费平整,光滑.消涂高压尖端放电助象,机械工业部1997-14-15批准
1998-01-01实剪
拖电流迎市人变
保扩环持地
上电报单
保护牙
JB/T85371997
空社充东管
控制电内
比电E
创内差制低液wwW.bzxz.Net
含阻量计量垫制系税
北风洲
不然拥益共
石央普管
心桌品评权
锈(电板)
3.3.2剂试仪按表1的定,
电源表
3. 3. 3换试箱
JB/T 8537.1997
n~2nkv
10---3X1D-\ A
16--4000
(6--1515
梗度丝出
测试箱的溢率可调范围从常温到400<测试学温试验能保持在0.017\乙内,自势对流冷却要求内从40下降到s0
注:T为测决温度。下向,
3.3.4商压直统共给
同统岛臣输出以~20 kV,电流为 --10 mA,输出电采的最人对方根渡动应小于 0. 2炎。3.3.5湿度系统
望庆的供给用酬腾的蒸陷永汽通过调阅输入测试箍内靠度的控制电光电媒点仪进行临视、其量公析法进行校准。用汽调范阀和控制水刘热器的电正收调节知移定所需要的湿度,测试步骤
4.!试样的制备
试样应经无刷轻轻碎结块经1711出日分摔筛过逆.除去外来将质.装瓶贴上标券4.2测试准备
试样装入解半盘时·要求份牛厚变为5m,粉尖层密实度分布均可,四个整粉尘盘装氧粉尘样的重差不大于不,载样的扮主盘放为出匝试豹时不能有娠动。谢然与负离照要接能良好。上电轻效心树变层上附不能存证何通击为其位百是龄尘的证中心尘陷不得赶过(5叫,上中提与转池保护环之间软孔晾内不能充满检尘,保护环按地良好,手心电极按电流表后再通地。4.3电步当度和击穿电压的闭试
当试计电阳与所划电务为两数关系时,提度应收15CC或35C。这要报据收计电除尘器温度杀4而定,而月应做一~或几个不同含混量的试验,做此试验时一升始所如电均慢度应小十2V/m.以后场驾店的增量以2kV/em原一谨子测定,克则抢尘层被出穿步止。记下各点电场强度上的比电曲值和击等山压,
4.4比电阻沈试
比电阳测试从常混开婚时热,始热惠必然高干路点温序。对于煤求,从90C无始划试,每个测点间的益度间漏为0,流到210心止,特疾商要可测到330或4CC.1他的粉个样要根据况条件的需变而克,
试时所收的电正必领取主穿出压的85%~95不,但购加的电压不能传电请密度媒过3%10:A/测试约活度必效达到预期的状态且稳定(10rn内温度的政变要小于0.01F亡),提度的变化也要控制在要求适的5必以内,待温度,起度配达刘要求的状态月稳定,再经施加电乐到测出电未点,稳定30%,不能超过1m,读出电压,电流值。燃后按式算出比电组值:P-
式中,
此电阻·cm:
4—上电极面积,cm
-—测试电压.hv;
粉尘厚度.cm
[—-利试国渐,八
JR/T 8537—.1997
相同方法测定120,-6、180.210C客点等全部测试完后,待冷取出盘扮尘盘,币测一次物少是质度,如果构层享盘减小0.5m上,则热实际部尘房厚度计算电场强度和比电阳。5测试报告
)比阻与温、谨度之间的关多图)比电账在特定避度、湿上与电项逆度的关系已座4小
宾育公员会
JB/门8537—1997
TB/T6537-199
水分体程百(%)
由穿电乐:kViem?
gh(Visn)
国4电场度
小提示:此标准内容仅展示完整标准里的部分截取内容,若需要完整标准请到上方自行免费下载完整标准文档。
标准图片预览:





- 其它标准
 
- 热门标准
 - 机械行业标准(JB)
 
- JB/T10288-2001 连栋温室结构
 - JB/T10056-1999 直流电流互感器 技术条件
 - JB/T7895-2008 永磁筒式磁选机
 - JB/T8679-2008 炭弧气刨炭棒 物理及使用性能试验方法
 - JB/T2756-2006 无轨电车用炭滑块
 - JB/T8082-2010 护指键式和护罩式木工平刨床 安全
 - JB/T9580-2008 炭石墨 产品分类及型号编制方法
 - JB/T9713-1999 工程机械 湿式铜基摩擦件 技术条件
 - JB/T3411.50-1999 两爪顶拔器 尺寸
 - JB/T8840-2013 电热器具用电源开关
 - JB/T11340.3-2012 阀控式铅酸蓄电池安全阀 第3部分:橡胶帽、阀芯
 - JB3704-1984 特种调压器用碳电阻片柱电气机械性能试验方法
 - JB/T7140.1-1993 牲畜药浴机械 型式与基本参数
 - JB/T20086-2006 药用容器 料斗
 - JB2664-1980 自动电压调整器用碳电阻片柱
 
- 行业新闻
 
请牢记:“bzxz.net”即是“标准下载”四个汉字汉语拼音首字母与国际顶级域名“.net”的组合。 ©2025 标准下载网 www.bzxz.net 本站邮件:bzxznet@163.com
网站备案号:湘ICP备2025141790号-2
网站备案号:湘ICP备2025141790号-2