- 您的位置:
- 标准下载网 >>
- 标准分类 >>
- 国家标准(GB) >>
- GB 8410-1994 汽车内饰材料的燃烧特性
标准号:
GB 8410-1994
标准名称:
汽车内饰材料的燃烧特性
标准类别:
国家标准(GB)
英文名称:
Combustion characteristics of automotive interior materials标准状态:
已作废-
发布日期:
1994-05-03 -
实施日期:
1995-01-01 -
作废日期:
2006-07-01 出版语种:
简体中文下载格式:
.rar.pdf下载大小:
227.34 KB
标准ICS号:
环保、保健与安全>>消防>>13.220.40材料和制品的阻燃性和燃烧性能中标分类号:
车辆>>车辆综合>>T09卫生、安全、劳动保护
替代情况:
替代GB 8410-1987;ZB T09001-1989;被GB 8410-2006代替采标情况:
FMVSS 302(89),MOD
点击下载
标准简介:
标准下载解压密码:www.bzxz.net
本标准规定了汽车驾驶室和乘客舱用内饰材料水平燃烧特性的技术要求及试验方法。本标准适用于鉴别汽车(轿车、多用乘客车、载货汽车和客车)内饰材料水平燃烧特性。 GB 8410-1994 汽车内饰材料的燃烧特性 GB8410-1994
部分标准内容:
中华人民共和国国家标准
汽车内饰材料的燃烧特性
Flammahility of autonotive interior materials1主题内容与适用范围
GB 8410- 94
代替GB841087
本标准规定了汽车驾驶室和乘客舱用内饰材料水平燃烧特性的技术要求及试验方法。本标准适用于鉴别汽车(轿车、多用乘客车、载货汽车和客车)内饰材料水平燃烧特性。鉴于各种汽车内饰零件实际情况(零件应用部位、布置方法、使用条件、引火源等)和本标准中规定“的试验条件之间有许多差别,本标准不适用于评价汽车内饰材料所有真实的车内燃烧特性。2术语
2.1燃烧速度
按本标准规定测得的燃烧距离与燃烧此离所用时间的比值。单位以mm/min表示。2.2层积复合材料
若干层相似或不同材料,其表面之间由烧结、粘结、焊接等不同方法使全面紧密结合在起的材料。2.3单一材料
由同种材料构成均匀的整体材料。若不同材料断续连结在起(例如由缝纫、高频焊接、铆接),这种材料垃认为不是层积复合材料,每种材料均属单材料。
2.4暴露面www.bzxz.net
零件装配在车内面向乘贯的那一面。2.5内饰材料
驾驶室及乘客舱内零件所用的单一型或层积复合型有机材料,包括:座垫、座椅靠背、座椅套、安全带、头枕、扶手、活动式折叠车顶、所有装饰性衬板(包括门内护板、前围护板、侧围护板、后翻护板、车顶棚衬里等)、仪表板、杂物箱、室内货架板(包括后窗台板)、窗帘、地板覆盖层、遮阳板、轮罩盖物、发动机罩覆盖物和撞车时吸收碰撞能量的填料、缓冲装置等所用有机材料。3技术要求
内饰材料的燃烧特性必须满足3.13.3的要求之3.1不燃烧。
3.2可以燃烧,但燃烧速度不大于100mm/min,燃烧速度的要求不适用于切割试样所形成的表面。3.3如果从试验计时开始,火焰在60s内自行熄灭,且燃烧距离不大于50mm,也被认为满足第3.2条的燃烧速度要求。
4试验方法
4.1原理
国家技术监督局1994-05-30批准1995-01-01实施
GB8410—94
将试样水平地夹持在U形支架上,在燃烧箱中受小火焰点燃15s,火焰在试样的自由端点燃。试验确定火焰是否熄灭,或何时熄灭,以及试样燃烧的距离和燃烧该距离所用时间。4.2试验装置及器具
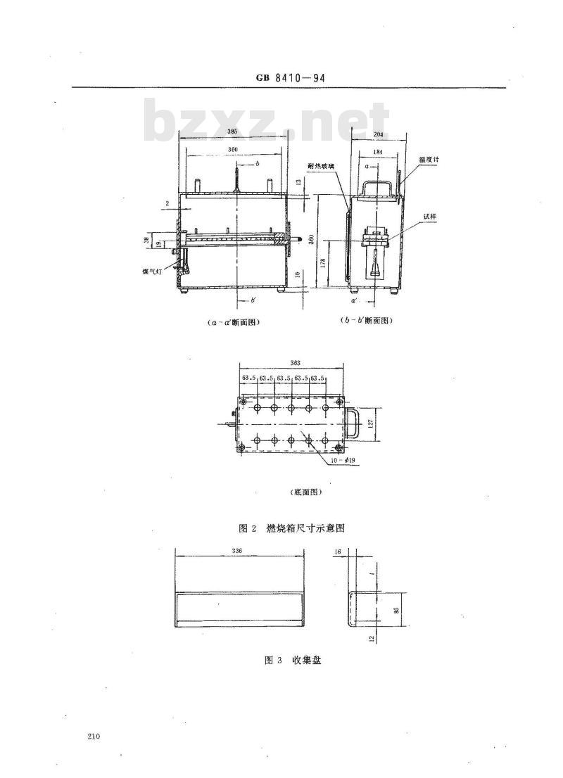
4.2.1燃烧箱(见图1)用钢板制成,尺寸见图2。燃烧箱的前部设有一个耐热玻璃观察窗,该窗可整块盖住前面,也可做成小型观察窗。燃烧箱底部设10个直径19mm的通风孔,四壁靠近顶部四周有宽13mm的通风槽。整个燃烧箱由4只高10mm的支脚支承着。在燃烧箱顶部设有安插温度计的小孔,此孔设在顶部靠后中快部位,中心距后面板内侧20mm。
燃烧箱端设有可将装有试样的支架放入的可封闭的开孔,另一端则设个小门,门上有通燃气管用的小孔,支承煤气灯的支座及火焰高度标志板。燃烧箱内部从左至右贯穿两条便于支承试样支架的水平导轨。燃烧箱底部设有一只用于收集熔融滴落物的收集盘(见图3)。此盘放置在两排通风孔之间而又不影响通风孔的通风。
4.2.2试样支架由两块U形腐蚀金属板制成的框架组成,尺寸见图4。支架下板装有6只销子,上板相应设有销孔,以保证均匀夹持试样。销子也作为燃烧距离的起点(第标线)和终点(第二标线)的标记。另一种支架的下板不仅设有6只销子,面里支架下板布有距离为25m的耐热金属支承线,线径0.25mm(见图5)。该种支架在特定情况下使用。安装后的试样底面应在燃烧箱底板之上178mm。试样支架前端距燃烧箱的内表面距离应为22mm,试验支架两纵外侧离燃烧箱内表面距离为50mm(见图2和图4)。4.2.3煤气灯是试验用火源,煤气灯喷咀内径为9.5mm。当煤气灯置于燃烧箱内时其喷咀口部中心处于试样自由端中心以下19mm处(见图2)。4.2.4供给煤气灯试验用可燃性气体燃烧后的热值约为38MJ/m(例如天然气,城市煤气,液化气)。4.2.5金属梳的长度至少为110mm,每25mm内有7~8个光滑圆齿。4.2.6测量时间所用秒表精度不低于0.5s。4.2.7温度计量程应为150℃以上,精度为1℃。4.2.8钢板尺精度1mm。
4.2.9通风:燃烧箱应放在通风橱中,通风橱内部容积为燃烧箱体积的20~110倍,而且通风橱的长、宽、高的任…尺寸不得超过另外两尺寸中任尺寸的2.5借。试验前在燃烧箱最终确定位置的前后各100mm处测量空气流过通风橱的垂直速度,该速度必须在0.10~0.30m/s之间。
GB8410—94
图1燃烧箱
1—煤气灯底座;2---煤气灯;3—试样支架导轨;4-火焰高度标志板,5—门;6—门框;7--燃烧箱本体;8-通风槽;9—温度计;10—-燃烧室提手11—观察窗窗框;12--支架销;13—上支架;14—试样;15--下支架;16-玻璃观察窗;17—收集盘;18--支脚209
GB8410---94
蔚热玻璃
(aα断面图)
63.5,63.5
11 63 .5/63.5
(6~存断面图)
(底面图)
图2燃烧箱尺寸示意图
图3收集盘
4.3试样
4.3.1形状和尺寸
100 ±0.2
GB8410--94
254 ±0.2
试样支架
支架外侧面
图5下支架截面图
长度方向
标准试样形状和尺寸见图6。试样的厚度为所试零件厚度,但不超过13mm。以不同种类材料进行燃烧性能比较时,试样必须具有相同尺寸(长、宽、厚)。通常采样时必须使试样沿全长有相同横截面。
若零件的形状和尺寸不足以制成规定尺寸的标准试样时,则应保证下列最小尺寸试样,但要记录。a,·如果试样宽度介于.3~60mm,长度应至少为356mm。在这种情况下试样要尽量做成接近零件的宽度:
b,如果试样宽度大于60mm,长度应至少为138mm,此时,可能的燃烧距离相当于从第一条标线到火焰熄灭时的距离或从第一条标线开始至试样末端的距离;c.若宽度小于60mm,且长度小于356mm或宽度大于60mm,长度小于138mm的试样,则不能按本标准试验;宽度小于3mm的试样也不能按本标准进行试验。211
4.3.2取样
GB8410—94
第一标线
图6试样
第二标线
应从被试材料上取下至少5块试样。如果沿不同方向有不同燃烧速度的材料,则应在不同方向截取试样,并且要将5块(或更多)试样在燃烧箱中分别试验,以测得最高燃烧速度。当材料按整幅宽度供应时,应截取包含全宽并且长度至少为500mm的样品,并将距边缘100mm的材料切掉,然后在其余部分上被此等距、均匀取样。若零件的形状和尺寸符合取样要求,试样应从零件上截取。若零件厚度大于13mm,应用机械方法从非暴露面切削,使包括暴露面在内的试样厚度为13mm。层积复合材料应视为单一材料进行试验。若材料是由若干层叠合而成,但又不属于层积复合材料,则应由暴露面起13mm厚之内所有各层单一材料分别取样进行试验。
4.3.3预处理
试验前试样应在温度23±2℃和相对湿度45%~~55%的标准状态下存放24h以上,且应一直保持到试验前的片刻,但不超过168h。4.4试验程序
4.4.1将预处理过的试样取出,把表面起毛或簇绒的试样平放在平整的台面上,用4.2.5规定金属梳子在起毛面上沿绒毛方向平整梳两次,4.4.2在煤气灯的空气进口关闭状态下点燃煤气灯,将火焰按火焰高度标志板调整,使火焰高度为38mm。在开始第一次试验前,火焰应在此状态下至少稳定地燃烧1min,然后熄灭。注:阀门结构应易于控制火焰高度,并易于调整火焰高度。4.4.3将试样暴露面朝下装入试样支架。安装试样使其两边和一端被U型支架夹住,自由端与U形支架开口对齐。仅当试样宽度不足,U形支架不能夹住试样时,或试样自由端柔软和易弯曲会造成不稳定燃烧时,才将试样放在带耐热金属线的试样支架上进行燃烧试验。4.4.4将试样支架推进燃烧箱,试样放在燃烧箱中央,置于水平位置。在煤气灯空气进口关闭状态下点燃煤气灯,并使火焰高度为38mm,使试样自由端处于火焰中引燃15s,然后熄掉火焰(关闭煤气灯阀门)。
4.4.5火焰从试样自由端起向前燃烧,在传播火焰根部通过第一标线的瞬间开始计时。注意观察燃烧较快一面的火焰传播情况。
4.4.6当火焰达到第二标线或者火焰在达到第二标线前熄灭时,同时停止计时。若火焰在达到第二标线之前熄灭,则测量从第一标线起到火焰熄灭时的燃烧距离。燃烧距离是指试样表面或内部已经烧损部分的长度。212
G8410—94
4.4.7当进行系列试验或重复试验时,要保证下-次试验前燃烧箱内和试样支架最高温度不超过30℃。
4.5计算
4.5.1燃烧速度V(mm/min)按下式计算:V 60 X (L/T)
式中L燃烧距离,mm;
燃烧距离L所用的时间,s。
以燃烧速度最大值为试验结果。4.5.2如果试样暴露在火焰中15,熄灰火源试样仍未燃烧,或试样能燃烧,但火焰达到第一测量标线之前熄灭,无燃烧时间可计,劍燃烧速度均记为0mm/mina5试验报告
试验报告应包括下列内容:
材料种类、零件名称、来源、试验日期、试验者:样品颜色、编号;
材料组成;
试样尺寸、层积复合材料各层厚度。试样在产品中方向:试样数量;
试验结果:燃烧距离、燃烧时间、燃烧速度。燃烧特性值是否符合标准要求;是否用支撑线;
与本标准规定不同的试验条件的记载。附加说明:
本标准由中国汽车工业总公司提出。本标准由全国汽车标准化技术委员会归口。本标准由长春汽车研究所负责起草。本标准主要起草人刘明觉。
自本标准生效之日起原行业标准ZBT09001-89废止。213
小提示:此标准内容仅展示完整标准里的部分截取内容,若需要完整标准请到上方自行免费下载完整标准文档。
汽车内饰材料的燃烧特性
Flammahility of autonotive interior materials1主题内容与适用范围
GB 8410- 94
代替GB841087
本标准规定了汽车驾驶室和乘客舱用内饰材料水平燃烧特性的技术要求及试验方法。本标准适用于鉴别汽车(轿车、多用乘客车、载货汽车和客车)内饰材料水平燃烧特性。鉴于各种汽车内饰零件实际情况(零件应用部位、布置方法、使用条件、引火源等)和本标准中规定“的试验条件之间有许多差别,本标准不适用于评价汽车内饰材料所有真实的车内燃烧特性。2术语
2.1燃烧速度
按本标准规定测得的燃烧距离与燃烧此离所用时间的比值。单位以mm/min表示。2.2层积复合材料
若干层相似或不同材料,其表面之间由烧结、粘结、焊接等不同方法使全面紧密结合在起的材料。2.3单一材料
由同种材料构成均匀的整体材料。若不同材料断续连结在起(例如由缝纫、高频焊接、铆接),这种材料垃认为不是层积复合材料,每种材料均属单材料。
2.4暴露面www.bzxz.net
零件装配在车内面向乘贯的那一面。2.5内饰材料
驾驶室及乘客舱内零件所用的单一型或层积复合型有机材料,包括:座垫、座椅靠背、座椅套、安全带、头枕、扶手、活动式折叠车顶、所有装饰性衬板(包括门内护板、前围护板、侧围护板、后翻护板、车顶棚衬里等)、仪表板、杂物箱、室内货架板(包括后窗台板)、窗帘、地板覆盖层、遮阳板、轮罩盖物、发动机罩覆盖物和撞车时吸收碰撞能量的填料、缓冲装置等所用有机材料。3技术要求
内饰材料的燃烧特性必须满足3.13.3的要求之3.1不燃烧。
3.2可以燃烧,但燃烧速度不大于100mm/min,燃烧速度的要求不适用于切割试样所形成的表面。3.3如果从试验计时开始,火焰在60s内自行熄灭,且燃烧距离不大于50mm,也被认为满足第3.2条的燃烧速度要求。
4试验方法
4.1原理
国家技术监督局1994-05-30批准1995-01-01实施
GB8410—94
将试样水平地夹持在U形支架上,在燃烧箱中受小火焰点燃15s,火焰在试样的自由端点燃。试验确定火焰是否熄灭,或何时熄灭,以及试样燃烧的距离和燃烧该距离所用时间。4.2试验装置及器具
4.2.1燃烧箱(见图1)用钢板制成,尺寸见图2。燃烧箱的前部设有一个耐热玻璃观察窗,该窗可整块盖住前面,也可做成小型观察窗。燃烧箱底部设10个直径19mm的通风孔,四壁靠近顶部四周有宽13mm的通风槽。整个燃烧箱由4只高10mm的支脚支承着。在燃烧箱顶部设有安插温度计的小孔,此孔设在顶部靠后中快部位,中心距后面板内侧20mm。
燃烧箱端设有可将装有试样的支架放入的可封闭的开孔,另一端则设个小门,门上有通燃气管用的小孔,支承煤气灯的支座及火焰高度标志板。燃烧箱内部从左至右贯穿两条便于支承试样支架的水平导轨。燃烧箱底部设有一只用于收集熔融滴落物的收集盘(见图3)。此盘放置在两排通风孔之间而又不影响通风孔的通风。
4.2.2试样支架由两块U形腐蚀金属板制成的框架组成,尺寸见图4。支架下板装有6只销子,上板相应设有销孔,以保证均匀夹持试样。销子也作为燃烧距离的起点(第标线)和终点(第二标线)的标记。另一种支架的下板不仅设有6只销子,面里支架下板布有距离为25m的耐热金属支承线,线径0.25mm(见图5)。该种支架在特定情况下使用。安装后的试样底面应在燃烧箱底板之上178mm。试样支架前端距燃烧箱的内表面距离应为22mm,试验支架两纵外侧离燃烧箱内表面距离为50mm(见图2和图4)。4.2.3煤气灯是试验用火源,煤气灯喷咀内径为9.5mm。当煤气灯置于燃烧箱内时其喷咀口部中心处于试样自由端中心以下19mm处(见图2)。4.2.4供给煤气灯试验用可燃性气体燃烧后的热值约为38MJ/m(例如天然气,城市煤气,液化气)。4.2.5金属梳的长度至少为110mm,每25mm内有7~8个光滑圆齿。4.2.6测量时间所用秒表精度不低于0.5s。4.2.7温度计量程应为150℃以上,精度为1℃。4.2.8钢板尺精度1mm。
4.2.9通风:燃烧箱应放在通风橱中,通风橱内部容积为燃烧箱体积的20~110倍,而且通风橱的长、宽、高的任…尺寸不得超过另外两尺寸中任尺寸的2.5借。试验前在燃烧箱最终确定位置的前后各100mm处测量空气流过通风橱的垂直速度,该速度必须在0.10~0.30m/s之间。
GB8410—94
图1燃烧箱
1—煤气灯底座;2---煤气灯;3—试样支架导轨;4-火焰高度标志板,5—门;6—门框;7--燃烧箱本体;8-通风槽;9—温度计;10—-燃烧室提手11—观察窗窗框;12--支架销;13—上支架;14—试样;15--下支架;16-玻璃观察窗;17—收集盘;18--支脚209
GB8410---94
蔚热玻璃
(aα断面图)
63.5,63.5
11 63 .5/63.5
(6~存断面图)
(底面图)
图2燃烧箱尺寸示意图
图3收集盘
4.3试样
4.3.1形状和尺寸
100 ±0.2
GB8410--94
254 ±0.2
试样支架
支架外侧面
图5下支架截面图
长度方向
标准试样形状和尺寸见图6。试样的厚度为所试零件厚度,但不超过13mm。以不同种类材料进行燃烧性能比较时,试样必须具有相同尺寸(长、宽、厚)。通常采样时必须使试样沿全长有相同横截面。
若零件的形状和尺寸不足以制成规定尺寸的标准试样时,则应保证下列最小尺寸试样,但要记录。a,·如果试样宽度介于.3~60mm,长度应至少为356mm。在这种情况下试样要尽量做成接近零件的宽度:
b,如果试样宽度大于60mm,长度应至少为138mm,此时,可能的燃烧距离相当于从第一条标线到火焰熄灭时的距离或从第一条标线开始至试样末端的距离;c.若宽度小于60mm,且长度小于356mm或宽度大于60mm,长度小于138mm的试样,则不能按本标准试验;宽度小于3mm的试样也不能按本标准进行试验。211
4.3.2取样
GB8410—94
第一标线
图6试样
第二标线
应从被试材料上取下至少5块试样。如果沿不同方向有不同燃烧速度的材料,则应在不同方向截取试样,并且要将5块(或更多)试样在燃烧箱中分别试验,以测得最高燃烧速度。当材料按整幅宽度供应时,应截取包含全宽并且长度至少为500mm的样品,并将距边缘100mm的材料切掉,然后在其余部分上被此等距、均匀取样。若零件的形状和尺寸符合取样要求,试样应从零件上截取。若零件厚度大于13mm,应用机械方法从非暴露面切削,使包括暴露面在内的试样厚度为13mm。层积复合材料应视为单一材料进行试验。若材料是由若干层叠合而成,但又不属于层积复合材料,则应由暴露面起13mm厚之内所有各层单一材料分别取样进行试验。
4.3.3预处理
试验前试样应在温度23±2℃和相对湿度45%~~55%的标准状态下存放24h以上,且应一直保持到试验前的片刻,但不超过168h。4.4试验程序
4.4.1将预处理过的试样取出,把表面起毛或簇绒的试样平放在平整的台面上,用4.2.5规定金属梳子在起毛面上沿绒毛方向平整梳两次,4.4.2在煤气灯的空气进口关闭状态下点燃煤气灯,将火焰按火焰高度标志板调整,使火焰高度为38mm。在开始第一次试验前,火焰应在此状态下至少稳定地燃烧1min,然后熄灭。注:阀门结构应易于控制火焰高度,并易于调整火焰高度。4.4.3将试样暴露面朝下装入试样支架。安装试样使其两边和一端被U型支架夹住,自由端与U形支架开口对齐。仅当试样宽度不足,U形支架不能夹住试样时,或试样自由端柔软和易弯曲会造成不稳定燃烧时,才将试样放在带耐热金属线的试样支架上进行燃烧试验。4.4.4将试样支架推进燃烧箱,试样放在燃烧箱中央,置于水平位置。在煤气灯空气进口关闭状态下点燃煤气灯,并使火焰高度为38mm,使试样自由端处于火焰中引燃15s,然后熄掉火焰(关闭煤气灯阀门)。
4.4.5火焰从试样自由端起向前燃烧,在传播火焰根部通过第一标线的瞬间开始计时。注意观察燃烧较快一面的火焰传播情况。
4.4.6当火焰达到第二标线或者火焰在达到第二标线前熄灭时,同时停止计时。若火焰在达到第二标线之前熄灭,则测量从第一标线起到火焰熄灭时的燃烧距离。燃烧距离是指试样表面或内部已经烧损部分的长度。212
G8410—94
4.4.7当进行系列试验或重复试验时,要保证下-次试验前燃烧箱内和试样支架最高温度不超过30℃。
4.5计算
4.5.1燃烧速度V(mm/min)按下式计算:V 60 X (L/T)
式中L燃烧距离,mm;
燃烧距离L所用的时间,s。
以燃烧速度最大值为试验结果。4.5.2如果试样暴露在火焰中15,熄灰火源试样仍未燃烧,或试样能燃烧,但火焰达到第一测量标线之前熄灭,无燃烧时间可计,劍燃烧速度均记为0mm/mina5试验报告
试验报告应包括下列内容:
材料种类、零件名称、来源、试验日期、试验者:样品颜色、编号;
材料组成;
试样尺寸、层积复合材料各层厚度。试样在产品中方向:试样数量;
试验结果:燃烧距离、燃烧时间、燃烧速度。燃烧特性值是否符合标准要求;是否用支撑线;
与本标准规定不同的试验条件的记载。附加说明:
本标准由中国汽车工业总公司提出。本标准由全国汽车标准化技术委员会归口。本标准由长春汽车研究所负责起草。本标准主要起草人刘明觉。
自本标准生效之日起原行业标准ZBT09001-89废止。213
小提示:此标准内容仅展示完整标准里的部分截取内容,若需要完整标准请到上方自行免费下载完整标准文档。
标准图片预览:





- 其它标准
- 热门标准
- 国家标准(GB)
- GB∕T38992-2020 军民通用资源 语义关系分类与表示
- GB/T32383-2020 城市轨道交通直线电机车辆通用技术条件
- GBZ/T240.20-2011 化学品毒理学评价程序和试验方法 第20部分:亚慢性吸入毒性试验
- GB/T22264.5-2022 安装式数字显示电测量仪表 第5部分:相位表和功率因数表的特殊要求
- GB∕T38117-2019 电动汽车产品使用说明 应急救援
- GB/T42459-2023 信息技术 系统间远程通信和信息交换 局域网和城域网 特定要求 站点和媒体访问控制连通性发现
- GB16487.9-2017 进口可用作原料的固体废物环境保护控制标准—废电线电缆
- GB∕T29428.2-2014 地震灾害紧急救援队伍救援行动 第2部分:程序和方法
- GB/T16606.3-2009 快递封装用品 第3部分:包装袋
- GB/T24496-2009 钢筋混凝土大板间有连接筋并用混凝土浇灌的键槽式竖向接缝 实验室力学试验 平面内切向荷载的影响
- GB/T14506.25-1993 硅酸盐岩石化学分析方法 硫酸-苯羟乙酸-辛可宁-氯酸钾底液极谱法连续测定钼量和钨量
- GB/T43831-2024 棉及化纤纯纺、混纺本色布检验、标志与包装
- GB/T5694-1985 CAMAC系统中的块传送
- GB/T14506.24-1993 硅酸盐岩石化学分析方法 盐酸-碘化钾-四乙基溴(碘)化铵底液极谱法测定镉量
- GB/T28606-2012 涂料中全氟辛酸及其盐的测定 高效液相色谱-串联质谱法
- 行业新闻
请牢记:“bzxz.net”即是“标准下载”四个汉字汉语拼音首字母与国际顶级域名“.net”的组合。 ©2025 标准下载网 www.bzxz.net 本站邮件:bzxznet@163.com
网站备案号:湘ICP备2025141790号-2
网站备案号:湘ICP备2025141790号-2