- 您的位置:
- 标准下载网 >>
- 标准分类 >>
- 化工行业标准(HG) >>
- HG/T 2058.2-1991 搪玻璃翅片式温度计套
标准号:
HG/T 2058.2-1991
标准名称:
搪玻璃翅片式温度计套
标准类别:
化工行业标准(HG)
英文名称:
Glass-lined finned thermometer sleeve标准状态:
已作废-
发布日期:
1991-07-06 -
实施日期:
1992-01-01 -
作废日期:
2009-07-01 出版语种:
简体中文下载格式:
.rar.pdf下载大小:
156.75 KB
标准ICS号:
化工技术>>71.120化工设备中标分类号:
化工>>化工机械与设备>>G94非金属化工机械设备
替代情况:
被HG/T 2058.2-2009代替
部分标准内容:
中华人民共和国化工行业标准
玻璃翅片式温度计套
主题内容与适用范围
HG/T2058.2-91
本标准规定了塘玻璃翅片式温度计套的结构及组配型式、参数、主要尺寸和技术要求,本标准适用于公称压力小于或等于1.0MPa,介质温度高于-20C低于或等于200C,配置浆式或叶轮式搅拌器的塘玻璃搅拌容器用翅片式温度计套,2引用标准
GB700碳素结构钢
GB5679
可锻铸铁
塘玻璃设备水压试验方法
GB7994
GB7996塘玻璃容器公称容积与公称直径GB8163输送流体用无缝钢管
ZBG94004塘玻璃设备技术条件
HG2-538聚四氟乙烯板棒、填料、制图规格及用途HG/T2050塘玻璃设备垫片
HG/T2105据玻璃设备活套法兰
3型式、基本参数及主要尺寸
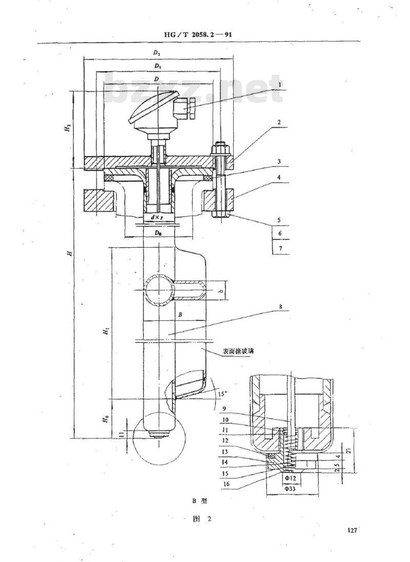
3.1翅片式温度计套结构分A型及B型两种型式,A型为不带测溢头装置的翅片式温度计套,其基本参数及尺寸见图1、表1、表2、表4。B型为带测温头装置的温度计套,其基本参数及尺寸见,图2、表2、表3、表4,
3.2标记:
标准号
温度计套管长度L
温度计套公称直径dN
所置容器公称压力PN
温度计套型式
名称:温度计套
示例:
不带测温头装置的翅片式温度计套,所置容器公称压力PN为0.6MPa,温度计套公称直径dN为65mm,高度H为1350mm.
标记:
温度计套A0.6×65-1350HG/T2058.2--91.中华人民共和国化学工业部1991-07-06批准1992-01-01实施
表面糖玻璃
HG/T 2058.291
M27×2
HG/T2058.2-91
表面搏玻璃
HG/T2050-91
HG/T2105--91
GB5782—86
GB617086
GB 97.1—85
温度计套公称直径
所配管口
公称直径
HG/T2058.2—91
活套法兰
明细表
表2尺寸表
KTH350或Q235-A
组合件
Q235-A
糖玻璃件
见表2
①A型翅片式溢度计套dN32规格。端部变径段@25×3.5可取消,内@32×4管于直接封口制造,但高度H不注:
③B型翅片式温度计套无dN32规格。128
HG/T205091
HG/T2105-91
GB5782-86
GB6170-86
GB 97.1—85
GB985.1-86
GB123576
WEPM-0.18
HG / T 2058.2-- 91
明细表
接线盒
活套法兰
钢丝档圈
0形密封圈28×3.5
测温头套管
压缩弹簧0.8×8×30
陶瓷端面铂电阻
组合件
KTH350或Q235-AwwW.bzxz.Net
组合件
Q235-A
谱玻璃件
Q235-A
聚四氮乙烯
红纸柏
组合件
见表2
公称直径
所配搅拌容器
容积VN
公称直径DN
L系列
S系列
HG/T2058.2-91
表4尺寸表
参考重量,kg
公称压力,MPa
配桨式搅择器
配叶轮式搅拌器
公称直径
所配揽拌容器
容积VN
4技术要求
公称直径DN
L系列
S系列
HG/T2058.291
续表4
4.1塘玻璃套管所用钢管材料为10号钢,按GB8163规定验收,4.2据玻璃翅片式温度计套的技术条件按ZBG94004要求进行,参考重量,kg
公称压力,MPa
4.3B型翅片式温度计套组装后,按GB7994标准中表1规定的掂玻璃后试验压力与所置设备一起进行水压试验,试验压力为所置容器公称压力,试验结果应无渗漏,测温头套管的材质可根据用户需要提供,但必须耐工作介质腐蚀。4.4
5包装、运输和贮存
5.1糖玻璃面均应用软物包扎,装人木箱内牢靠固定。5.2搬运或运输时禁止碰撞,包装箱不得倒置,5.3产品应附有装箱单,合格证及使用说明书。5.4产品应存放室内,不准露天堆放、倒置。131
附加说明:
HG/T2058.2—91
本标准由中国化工装备总公司提出。本标准由全国塘玻璃设备标准化技术委员会归口.本标准由上海工业塘瓷厂负责起草,国家医药管理局上海医药设计院参加起草,本标准主要起草人顾国扬,参加起草人鲍爱元、黄寅华132
小提示:此标准内容仅展示完整标准里的部分截取内容,若需要完整标准请到上方自行免费下载完整标准文档。
玻璃翅片式温度计套
主题内容与适用范围
HG/T2058.2-91
本标准规定了塘玻璃翅片式温度计套的结构及组配型式、参数、主要尺寸和技术要求,本标准适用于公称压力小于或等于1.0MPa,介质温度高于-20C低于或等于200C,配置浆式或叶轮式搅拌器的塘玻璃搅拌容器用翅片式温度计套,2引用标准
GB700碳素结构钢
GB5679
可锻铸铁
塘玻璃设备水压试验方法
GB7994
GB7996塘玻璃容器公称容积与公称直径GB8163输送流体用无缝钢管
ZBG94004塘玻璃设备技术条件
HG2-538聚四氟乙烯板棒、填料、制图规格及用途HG/T2050塘玻璃设备垫片
HG/T2105据玻璃设备活套法兰
3型式、基本参数及主要尺寸
3.1翅片式温度计套结构分A型及B型两种型式,A型为不带测溢头装置的翅片式温度计套,其基本参数及尺寸见图1、表1、表2、表4。B型为带测温头装置的温度计套,其基本参数及尺寸见,图2、表2、表3、表4,
3.2标记:
标准号
温度计套管长度L
温度计套公称直径dN
所置容器公称压力PN
温度计套型式
名称:温度计套
示例:
不带测温头装置的翅片式温度计套,所置容器公称压力PN为0.6MPa,温度计套公称直径dN为65mm,高度H为1350mm.
标记:
温度计套A0.6×65-1350HG/T2058.2--91.中华人民共和国化学工业部1991-07-06批准1992-01-01实施
表面糖玻璃
HG/T 2058.291
M27×2
HG/T2058.2-91
表面搏玻璃
HG/T2050-91
HG/T2105--91
GB5782—86
GB617086
GB 97.1—85
温度计套公称直径
所配管口
公称直径
HG/T2058.2—91
活套法兰
明细表
表2尺寸表
KTH350或Q235-A
组合件
Q235-A
糖玻璃件
见表2
①A型翅片式溢度计套dN32规格。端部变径段@25×3.5可取消,内@32×4管于直接封口制造,但高度H不注:
③B型翅片式温度计套无dN32规格。128
HG/T205091
HG/T2105-91
GB5782-86
GB6170-86
GB 97.1—85
GB985.1-86
GB123576
WEPM-0.18
HG / T 2058.2-- 91
明细表
接线盒
活套法兰
钢丝档圈
0形密封圈28×3.5
测温头套管
压缩弹簧0.8×8×30
陶瓷端面铂电阻
组合件
KTH350或Q235-AwwW.bzxz.Net
组合件
Q235-A
谱玻璃件
Q235-A
聚四氮乙烯
红纸柏
组合件
见表2
公称直径
所配搅拌容器
容积VN
公称直径DN
L系列
S系列
HG/T2058.2-91
表4尺寸表
参考重量,kg
公称压力,MPa
配桨式搅择器
配叶轮式搅拌器
公称直径
所配揽拌容器
容积VN
4技术要求
公称直径DN
L系列
S系列
HG/T2058.291
续表4
4.1塘玻璃套管所用钢管材料为10号钢,按GB8163规定验收,4.2据玻璃翅片式温度计套的技术条件按ZBG94004要求进行,参考重量,kg
公称压力,MPa
4.3B型翅片式温度计套组装后,按GB7994标准中表1规定的掂玻璃后试验压力与所置设备一起进行水压试验,试验压力为所置容器公称压力,试验结果应无渗漏,测温头套管的材质可根据用户需要提供,但必须耐工作介质腐蚀。4.4
5包装、运输和贮存
5.1糖玻璃面均应用软物包扎,装人木箱内牢靠固定。5.2搬运或运输时禁止碰撞,包装箱不得倒置,5.3产品应附有装箱单,合格证及使用说明书。5.4产品应存放室内,不准露天堆放、倒置。131
附加说明:
HG/T2058.2—91
本标准由中国化工装备总公司提出。本标准由全国塘玻璃设备标准化技术委员会归口.本标准由上海工业塘瓷厂负责起草,国家医药管理局上海医药设计院参加起草,本标准主要起草人顾国扬,参加起草人鲍爱元、黄寅华132
小提示:此标准内容仅展示完整标准里的部分截取内容,若需要完整标准请到上方自行免费下载完整标准文档。
标准图片预览:





- 其它标准
- 热门标准
- 化工行业标准(HG)
- HG/T3985-2007 聚四氟乙烯波纹管膨胀节
- HG/T20518-2008 化工粉体工程设计通用规范
- HG∕T5056-2016 GB 7544在天然橡胶胶乳避孕套质量管理中的使用指南
- HG/T3219-2009 代替 HG/T 3219-1999 搪玻璃平面阀
- HG/T3459-2003 化学试剂 顺丁烯二酸酐
- HG/T2017-2011 代替 HG/T 2017-2000 普通运动鞋
- HG/T2257-2011 代替 HG/T 2257-1991 照相化学品 成色剂挥发分的测定
- HG/T21529-2014 代替 HG/T 21529-2005 板式平焊法兰手孔
- HG/T2956.5-2001 硼镁矿石中氧化亚铁含量的测定重铬酸钾 容量法
- HG/T2371-2003 代替 HG/T 2371-1992 搪玻璃开式搅拌容器
- HG/T2044-2020 代替 HG/T 2044-2003 机械密封用喷涂氧化铬密封环技术条件
- HG/T2343-2012 硫化促进剂 ETU
- HG/T3531-2011 代替 HG/T 3531-2003 工业循环冷却水污垢和腐蚀产物中水分含量的测定
- HG/T3415-2010 代替 HG/T 3415-2001 红色基 B(2-甲氧基-4-硝基苯胺)
- HG/T3276-2019 代替 HG/T 3276-2012 腐植酸铵肥料分析方法
- 行业新闻
请牢记:“bzxz.net”即是“标准下载”四个汉字汉语拼音首字母与国际顶级域名“.net”的组合。 ©2025 标准下载网 www.bzxz.net 本站邮件:bzxznet@163.com
网站备案号:湘ICP备2025141790号-2
网站备案号:湘ICP备2025141790号-2