- 您的位置:
- 标准下载网 >>
- 标准分类 >>
- 化工行业标准(HG) >>
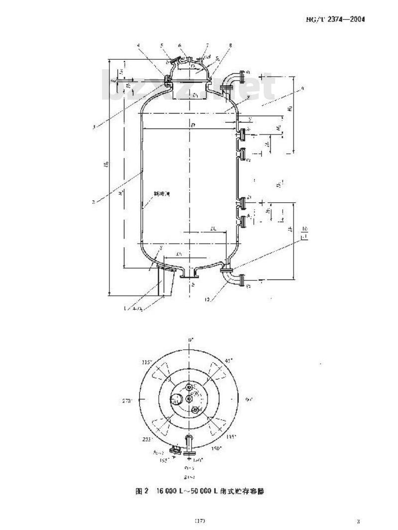
- HG/T 2374-2004 搪玻璃闭式贮存容器
标准号:
HG/T 2374-2004
标准名称:
搪玻璃闭式贮存容器
标准类别:
化工行业标准(HG)
标准状态:
现行-
发布日期:
2004-12-14 -
实施日期:
2005-06-01 出版语种:
简体中文下载格式:
.rar.pdf下载大小:
143.85 KB
标准ICS号:
化工技术>>71.120 化工设备机械制造>>表面处理和涂覆>>25.220.50搪瓷中标分类号:
化工>>化工机械与设备>>G94非金属化工机械设备
替代情况:
HG/T 2374-1992采标情况:
DIN 28130-1984 NEQ DIN 28131-1984 NEQ DIN 28132-1984 NEQ DIN 28133~28136-1984 NEQ

标准图片预览:





- 其它标准
- 热门标准
- 化工行业标准(HG)
- HG/T2273.4-2006 nbsp;代替 HG/T 2273.4-1992 天然气一、二段转化催化剂试验方法
- HG/T2660-1995 各色聚氨酯磁漆(双组分)
- HG/T4070-2008 硅橡胶板
- HG20581-1998 钢制化工容器材料选用规定
- HG20583-1998 钢制化工容器结构设计规定
- HG/T2089-1991 硫酸生产用钒催化剂试验方法
- HG/T2218.3-1991 灭害灵气雾剂C型
- HG/T2810-2008 往复运动橡胶密封圈材料
- HG/T20584-2011 代替 HG 20584-1998 钢制化工容器制造技术要求
- HG3286-2002 异稻瘟净乳油
- HG2204-1991 莠去津水悬浮剂
- HG/T21531-2014 带颈对焊法兰手孔
- HG/T20592-2009 钢制管法兰(PN系列)
- HG/T2028-1991 工业二甲基甲酰胺
- HG/T4214-2011 脲铵氮肥
- 行业新闻
请牢记:“bzxz.net”即是“标准下载”四个汉字汉语拼音首字母与国际顶级域名“.net”的组合。 ©2009 标准下载网 www.bzxz.net 本站邮件:bzxznet@163.com
网站备案号:湘ICP备2023016450号-1
网站备案号:湘ICP备2023016450号-1