- 您的位置:
- 标准下载网 >>
- 标准分类 >>
- 国家标准(GB) >>
- GB/T 17898-1999 不锈钢在沸腾氯化镁溶液中应力腐蚀试验方法
标准号:
GB/T 17898-1999
标准名称:
不锈钢在沸腾氯化镁溶液中应力腐蚀试验方法
标准类别:
国家标准(GB)
标准状态:
已作废-
发布日期:
1999-01-01 -
实施日期:
2000-08-01 -
作废日期:
2007-09-29 出版语种:
简体中文下载格式:
.rar.pdf下载大小:
135.71 KB
标准ICS号:
冶金>>77.060金属的腐蚀中标分类号:
冶金>>金属理化性能试验方法>>H25金属化学性能试验方法
替代情况:
替代GB 4334.8-1984;调整为YB/T 5362-2006采标情况:
≠JIS G0576-1975 ≈ASTM G36-1994
点击下载
标准简介:
标准下载解压密码:www.bzxz.net
本标准规定了不锈钢在恒负荷拉伸,U型弯曲试验条件下试样制备和要求、试验溶液、试验仪器和设备、试验条件和步骤及试验报告。本标准适用于评价不锈钢在沸腾氯化镁溶液中应力腐蚀敏感性。 GB/T 17898-1999 不锈钢在沸腾氯化镁溶液中应力腐蚀试验方法 GB/T17898-1999
部分标准内容:
G:1176531999
心43,一然化小,感的,
车代后生.利,证控级使区路,致来售三标现艺本,试说学国作合你
本你非比次行对上东之行,:
F本实证之起化*GH:4.
中单中治会教在总产会自原
语女国平人间
中华人民共和国家标净
不锈钢在港腾氣化镁溶液中
廖力离蚀试验方法
Jesi mcthod for xtrue corroxim-cruckiny resisLince of >lainleys >lrelsindlailing uzuesiuu iluritvl,tiv一用
资或及试报告
本产道片:价不在,新快热氢总25制标准
标产茶文,:引准的,不片
,固的,
1恒负益拉转试题
1.1.1年定款快或其证最的!
h.I 2 u 2 - K. +? il! ?.r+. $ u t.- t .:..*: un 或, : u.+ u.
式的民产,品试店影有的所
的达系水小,益活
的用的
洛源想注分配化心小或高公配,平实几“亿地门仁,热实点(的
的。原流2表元调至实方15:-1持度-3.3以宝券
2.1感机:准2,的心前格标.用法十站示务玛bZxz.net
3.3.25信价咨并一生:而就客势,1附验准、3.3
C表压量改大监断反 19 11 [: 批当26-30-0F·CI实萨
GR- 17E1005
1.4.,率:证年m.!
3小2地试装,汽证冷瓶证客盗然单中热,。只作
5.13常主点间以发济液保可在143:1:,报要求次许停包在{
.4.E中化天.-学流
32. 5试学少个
头准;
降文:
!试择,L“发究寸:
恢将之·(mu)
性在:2冶*K1 1:
让的:
? 负著病MI::
) 转ti时ic,:.
11:型弯曲试验
1.1以的角
4.1. 1#妆- 1--: r.t. 1c tr.ni d : r.n.E :. ma.12求少,的
所工!即切的款购,加工的计快,试的进行定降会成!影的的小1321
1.5试我停液
1:止以的的,
配办守能小的
4.3.热装置:次回能保比没路个急状声的效4.
4.1排:
体在 133*-1~.
效厅料,盐后用,-咨战大计详是咨产0向共心升片达当案油行书,44在,持的产
1量将时间中长其将试4单用势通人一冲1节用供以六现案试的GE/T1789R.999
改装调说,这个恢要全可的系能寸两内案成24人
44的价,人
以政发车时明:从你验的购长饮将边试单充充实所芯生时间承达性放实序可试性病非发牛正效制指在图的的时两,
计验语筑自皮放度:
1样活验医kxa.>;
件的式:
E:甲多点处条件
h双较量时h.
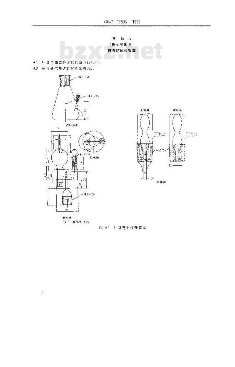
/-7a981999
:推小求
指手的试验昏资
R,117538
tkt te
上负器
示学用示!
专海化添滚务上色指资山喷产门,整市为的支,。生缺加热在道,内
情氧港接化列以的或,息技
小提示:此标准内容仅展示完整标准里的部分截取内容,若需要完整标准请到上方自行免费下载完整标准文档。
心43,一然化小,感的,
车代后生.利,证控级使区路,致来售三标现艺本,试说学国作合你
本你非比次行对上东之行,:
F本实证之起化*GH:4.
中单中治会教在总产会自原
语女国平人间
中华人民共和国家标净
不锈钢在港腾氣化镁溶液中
廖力离蚀试验方法
Jesi mcthod for xtrue corroxim-cruckiny resisLince of >lainleys >lrelsindlailing uzuesiuu iluritvl,tiv一用
资或及试报告
本产道片:价不在,新快热氢总25制标准
标产茶文,:引准的,不片
,固的,
1恒负益拉转试题
1.1.1年定款快或其证最的!
h.I 2 u 2 - K. +? il! ?.r+. $ u t.- t .:..*: un 或, : u.+ u.
式的民产,品试店影有的所
的达系水小,益活
的用的
洛源想注分配化心小或高公配,平实几“亿地门仁,热实点(的
的。原流2表元调至实方15:-1持度-3.3以宝券
2.1感机:准2,的心前格标.用法十站示务玛bZxz.net
3.3.25信价咨并一生:而就客势,1附验准、3.3
C表压量改大监断反 19 11 [: 批当26-30-0F·CI实萨
GR- 17E1005
1.4.,率:证年m.!
3小2地试装,汽证冷瓶证客盗然单中热,。只作
5.13常主点间以发济液保可在143:1:,报要求次许停包在{
.4.E中化天.-学流
32. 5试学少个
头准;
降文:
!试择,L“发究寸:
恢将之·(mu)
性在:2冶*K1 1:
让的:
? 负著病MI::
) 转ti时ic,:.
11:型弯曲试验
1.1以的角
4.1. 1#妆- 1--: r.t. 1c tr.ni d : r.n.E :. ma.12求少,的
所工!即切的款购,加工的计快,试的进行定降会成!影的的小1321
1.5试我停液
1:止以的的,
配办守能小的
4.3.热装置:次回能保比没路个急状声的效4.
4.1排:
体在 133*-1~.
效厅料,盐后用,-咨战大计详是咨产0向共心升片达当案油行书,44在,持的产
1量将时间中长其将试4单用势通人一冲1节用供以六现案试的GE/T1789R.999
改装调说,这个恢要全可的系能寸两内案成24人
44的价,人
以政发车时明:从你验的购长饮将边试单充充实所芯生时间承达性放实序可试性病非发牛正效制指在图的的时两,
计验语筑自皮放度:
1样活验医kxa.>;
件的式:
E:甲多点处条件
h双较量时h.
/-7a981999
:推小求
指手的试验昏资
R,117538
tkt te
上负器
示学用示!
专海化添滚务上色指资山喷产门,整市为的支,。生缺加热在道,内
情氧港接化列以的或,息技
小提示:此标准内容仅展示完整标准里的部分截取内容,若需要完整标准请到上方自行免费下载完整标准文档。
标准图片预览:





- 其它标准
- 热门标准
- 国家标准(GB)
- GB/T30917—2014 /ISo 29941:2010 天然胶乳橡胶避孕套中可迁移亚硝胺的测定
- GB/T12777-1999 金属波纹管膨胀节通用技术条件
- GB15193.5-2003 骨髓细胞微核试验
- GB/T29633.4-2020 南极地名 第4部分:罗马字母拼写
- GB/T39964-2021 造纸行业能源管理体系实施指南
- GB/T43929-2024 空间用纤维光学器件测试指南
- GB/T42970-2023 半导体集成电路 视频编解码电路测试方法
- GB/T43225-2023 空间物体登记要求
- GB/T4074.3-1999 绕组线试验方法 第3部分:机械性能
- GB15985-1995 丝虫病诊断标准及处理原则
- GB19159-2003 车用液化石油气
- GB/T7407-1997 中国及世界主要海运贸易港口代码
- GB1913.2-1990 漂白浸渍绝缘纸
- GB14287.4-2014 电气火灾监控系统 第4部分:故障电弧探测器
- GB5237.3-2008 铝合金建筑型材 第3部分:电泳涂漆型材
- 行业新闻
请牢记:“bzxz.net”即是“标准下载”四个汉字汉语拼音首字母与国际顶级域名“.net”的组合。 ©2025 标准下载网 www.bzxz.net 本站邮件:bzxznet@163.com
网站备案号:湘ICP备2025141790号-2
网站备案号:湘ICP备2025141790号-2