- 您的位置:
- 标准下载网 >>
- 标准分类 >>
- 铁路运输行业标准(TB) >>
- TB/T 3200-2008 铁路道岔密贴检查器
标准号:
TB/T 3200-2008
标准名称:
铁路道岔密贴检查器
标准类别:
铁路运输行业标准(TB)
标准状态:
现行出版语种:
简体中文下载格式:
.zip .pdf下载大小:
1.50 MB
点击下载
标准简介:
TB/T 3200-2008.Railway point detector.
1范围
TB/T 3200规定了铁路道岔密贴检查器(以下简称密贴检查器)的产品分类、规格及参数.技术要求、试验方法、检验规则和标志包装运输、贮存。
TB/T 3200适用于密贴检查器的设计、生产、制造和检验。
2规范性引用文件
下列文件中的条款通过本标准的引用而成为本标准的条款。凡是注日期的引用文件,其随后所有的修改单(不包括勘误的内容)或修订版均不适用于本标准,然而,鼓励根据本标准达成协议的各方研究是否可使用这些文件的最新版本。凡是不注日期的引用文件,其最新版本适用于本标准。
TB/T 2613- -2005 转辙机试验方法
TB/T 2614- -2005 转辙机通用技术条件
3产品分类、规格及参数
3.1密贴检查器型号及含义:
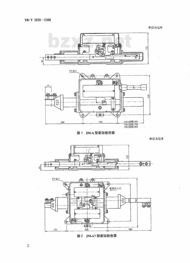
3.2密贴检查器的安装尺寸见图1和图2。
3.3密贴检查器的型号及参数见表1。
4技术要求
4.1密贴检查器应在下列环境条件下可靠地工作:
a)大气压力 :不低于70 kPa(海拔高度不超过3000 m);
b) 周围空气温度:-40℃~ + 70℃;
c)空气相对湿度 :25℃时不大于90%;
4.2密贴检查 器应符合本标准的要求,并按照经规定程序批准的设计文件制造。
4.3所有的零部件应经检验合 格,标准件、外购件和协作件应符合各自的标准方可进行装配,其中外购零部件应按设计文件的规定。
4.4密贴检查器及部件的外观应符合TB/T 2614- -2005 中5. 16的规定。
4.5密贴检查器各独立 的导电部分之间及机壳之间的绝缘电阻,用500 V兆欧表测量应符合下列规定
部分标准内容:
中华人民共和国铁道行业标准
TB/T3200—2008
铁路道岔密贴检查器
Railwaypointdetector
2008-09-06发布
2008-12-01实施
中华人民共和国铁道部发布
规范性引用文件
3产品分类、规格及参数·
4技术要求
试验方法
检验规则
标志、包装、运输、贮存
建筑321-=-标准查询下载网
TB/T3200—2008
TB/T3200—2008
本标准由西安全路通号器材研究所提出并归口。本标准起草单位:西安全路通号器材研究所。本标准主要起草人:杜元筹、华淑珍、张辉、郝丽娜。Ⅱ
铁路道岔密贴检查器
TB/T3200—2008
本标准规定了铁路道岔密贴检查器(以下简称密贴检查器)的产品分类、规格及参数、技术要求、试验方法、检验规则和标志、包装、运输、贮存。本标准适用于密贴检查器的设计、生产、制造和检验。2规范性引用文件
下列文件中的条款通过本标准的引用而成为本标准的条款。凡是注日期的引用文件,其随后所有的修改单(不包括勘误的内容)或修订版均不适用于本标准,然而,鼓励根据本标准达成协议的各方研究是否可使用这些文件的最新版本。凡是不注日期的引用文件,其最新版本适用于本标准。TB/T2613—2005转辙机试验方法TB/T2614—2005转辙机通用技术条件3产品分类、规格及参数
3.1密贴检查器型号及含义:
表示杆动程
派生顾序号
派生类型
密贴检查器的安装尺寸见图1和图2。3.2
密贴检查器的型号及参数见表1。3.3
检查器
表1密贴检查器的技术参数
JM-A/145
JM-A/170
JM-A/190
JM-A1/155
表示杆动程
65~145
65~190
65~155
密贴检查缺口(可调)
尖轨斥离检查
注:每个接点组有2组密贴表示接点和2组斥离表示接点。4技术要求
4.1密贴检查器应在下列环境条件下可靠地工作:a)大气压力:不低于70kPa(海拔高度不超过3000m);b)周围空气温度:-40℃~+70℃;c)空气相对湿度:25℃时不大于90%;建筑321
标准查询下载网
接点组数
每个检查点2台
每个检查点2台
每个检查点2台
每个检查点1台
TB/T3200—2008
中国宝
图1JM-A型密贴检查器
电线引入口
图2JM-A1型密贴检查器
145(动程145)
170(动程170)
190(动程190)
单位为毫米
单位为毫米
d)振动:按TB/T2614中5.1d)的规定;e)周围无引起爆炸危险的有害气体。TB/T3200—2008
4.2密贴检查器应符合本标准的要求,并按照经规定程序批准的设计文件制造。4.3所有的零部件应经检验合格,标准件、外购件和协作件应符合各自的标准方可进行装配,其中外购零部件应按设计文件的规定。
4.4密贴检查器及部件的外观应符合TB/T2614一2005中5.16的规定。4.5密贴检查器各独立的导电部分之间及机壳之间的绝缘电阻,用500V兆欧表测量,应符合下列规定:a)在试验的标准大气条件下,其绝缘电阻应不小于25M;b)经12d交变湿热试验后,测得的绝缘电阻应不小于1.5MQ。4.6密贴检查器的绝缘耐压应能承受50Hz正弦波,2400V有效值的交流电压1min,无击穿或闪络现象。4.7密贴检查器的防护层及塑料零件经交变湿热试验后,其外观应符合TB/T2614—2005中5.13的规定。
4.8密贴检查器的绝缘零件经长霉试验后,应符合TB/T2614-2005中5.14的规定。4.9密贴检查器的镀镍件经盐试验后,应符合TB/T26142005中5.15的规定。4.10密贴检查器的防护等级,应符合TB/T2614—2005中5.4.4的规定。4.11密贴检查器的机械试验寿命应不小于100万次(表示杆拉入或伸出各计算一次)。试验后接点压力应不小于原规定值的90%,机械部分的磨损应不影响表示接点的正常动作。4.12接点组应满足以下要求:
a)开关组接通、断开良好。
滚轮在表示杆上应滚动灵活。当滚轮在表示杆上滚动时,起动片尖端离开速动片上平面的间b)
隙应为0.3mm~0.8mm
当表示杆从密贴表示位往回移动,表示杆斜面与滚轮接触后,表示杆再移动10mm时,密贴表c)
示接点组应可靠断开。
当表示杆从密贴表示位往回移动65mm时应接通离表示接点。d
静接点组应安装牢固,绝缘件无裂纹,接点片应长短一致、不弯曲、不扭斜,补强片应有预压力;e
从动接点环接通两静接点片开始,打人深度应不小于4mm。f)各接点片的接点压力应调整至6N~10N。4.13表示杆在密贴表示接点接通后,表示杆可以再移动1.5mm一10mm,供现场调试使用。4.14密贴检查器零部件应齐全,机内无杂物,无污垢。各种衬套及机械滑动面,均涂以TR-1型转辙机润滑脂。
4.15表示杆在密贴表示位向斥离位动作时断开密贴表示接点的水平外力,从表示杆中心测量应不大于350N;当斥离表示接点接通后拉动表示杆的水平外力,从表示杆中心测量应不大于80N。5试验方法
5.1本标准所规定的各项出厂试验的大气条件,应符合TB/T2613一2005中4.1的规定。5.2密贴检查器的绝缘电阻、绝缘耐压、接点压力、寿命试验、交变湿热试验、外壳防护试验、盐雾试验、长试验、低温高温试验、振动试验的试验方法,按TB/T2613一2005的规定进行。5.3测试4.12d)动接点环打人静接点片的深度,是从动接点环接通两侧接点片开始至动接点环打入接点片的距离。
6检验规则
6.1检验分类
密贴检查器的检验分出厂检验和型式试验两种。3
建筑321---标准查询下载网
TB/T3200—2008
6.2出厂检验
6.2.1每台密贴检查器应经制造厂检验部门检验合格后才能出厂,并附有产品合格证。6.2.2密贴检查器的出厂检验项目如下:外观及装配质量检验,应符合本标准4.4(整机装配前)、4.5.1、4.6、4.12、4.14、4.15的规定。6.3型式试验
a)型式试验应检验本标准的全部技术要求。b)型式试验的抽样和判定方法按TB/T2614—2005中6.3的规定进行。型式试验的试验周期按TB/T2614—一2005中6.3的规定进行。c
经过型式试验的密贴检查器不应作为合格品出厂。d)
标志、包装、运输、贮存
密贴检查器的标志、包装、运输、贮存应符合TB/T2614一2005中第7章的规定。随机附件应包括:
合格证每台一份,放置密贴检查器内;a)
使用说明书每10台(或不足10台)1份:b)
c)其余附件按明细表,每个附件包装箱内应附装箱单。4
建筑321bzxZ.net
人民共和国
铁道行业标准
铁路道岔密贴检查器
Railway point detector
TB/T3200-2008
中国铁道出版社出版、发行
(100054,北京市宣武区右安门西街8号)读者服务部电话:市电(010)51873174,路电(021)73174北京鑫正大印刷有限公司印刷
版权专有侵权必究
开本:880mm×1230mm
2008年10月第1版
印张:0.75字数:8千字
2008年10月第1次印刷
统一书号:15113·2798
标准查询下载网
定价:7.50元
102000
小提示:此标准内容仅展示完整标准里的部分截取内容,若需要完整标准请到上方自行免费下载完整标准文档。
标准图片预览:





- 热门标准
- TB铁路运输标准
- TB/T2120-1990 铁路信号交流继电器通用技术条件
- TB/T1670-2009 15号车钩样板
- TB/T2075.20-2002 电气化铁道接触网零部件 第20部分:特型软定位器
- TB1549.21-1984 冷冲模托料滚道装置 滚道体
- TB1549.8-1984 冷冲模托料滚道装置 托料滚道轴
- TB/T3010-2001 铁道车辆滚动轴承高碳铬轴承钢订货技术条件
- TB/T2591-2007 铁路机车滚动轴承订货技术条件
- TB/T3443.3-2016 机车车辆车种、车型和车号编码规则第3部分:货车
- TB/T1596-1996 内燃、电力机车车钩用前从板
- TB1549.12-1984 冷冲模托料滚道装置 弹簧盒
- TB1549.17-1984 冷冲模托料滚道装置 上下料滚道组合
- TB1549.18-1984 冷冲模托料滚道装置 上下料滚道轴
- TB1549.3-1984 冷冲模托料滚道装置 托料滚道组合
- TB/T1669.23-1985 13号车钩钩体腔回转样板下侧曲面(R152)的校对样板
- TB/T1669.25-1985 13号车钩钩舌回转样板上侧曲面(R153)的校对样板
- 行业新闻
网站备案号:湘ICP备2025141790号-2