- 您的位置:
 - 标准下载网 >>
 - 标准分类 >>
 - 化工行业标准(HG) >>
 - HG/T 2372-1992 搪玻璃闭式搅拌容器
 
标准号:
HG/T 2372-1992
标准名称:
搪玻璃闭式搅拌容器
标准类别:
化工行业标准(HG)
英文名称:
Glass-lined closed mixing vessel标准状态:
已作废- 
          	
发布日期:
1992-09-15 - 
		 
实施日期:
1993-07-01 - 
          	
作废日期:
2004-05-01 出版语种:
简体中文下载格式:
.rar.pdf下载大小:
2.88 MB
中标分类号:
化工>>化工机械与设备>>G94非金属化工机械设备
部分标准内容:
					
					中华人民共和国化工行业标准
塘玻璃闭式搅拌容器
主题内容与适用范围
IG/T 2372—92
本标准规定了掂玻璃闭式搅拌容器\)的型式、基本参数、主要尺寸及技术要求。本标准规定的塘玻璃闭式搅拌容器适用于容器内公称压力小于或等于1.0MPa,公称容积2500L到20000L,夹套内公称压力小于或等于0.6MPa,容器及夹套内介质温度高于-20℃低于200,引用标准
GB150钢制压力容器
HG5-15掂玻璃上展式放料闻
HG5-16掂玻璃下展式放料阀
JB1165悬挂式支座
JB1166支承式支座
ZBG94004塘玻璃设备技术条件
ZBG94007携玻璃设备质量分等标准HG2036塘玻璃容器参数
HG/T2048掂玻璃填料箱
HG/T2049
HG/T2050
HG/T2051
HG/T 2052
HG/T 2054
塘玻璃设备高颈法兰
掂玻璃设备垫片
掂玻璃搅拌器
掂玻璃设备传动装罩
塘玻璃设备
·塘玻璃人孔
HG/T 2055
携玻璃揽拌容器用机械密封
HG/T 2057
HG/T 2058
HG/T 2105
HG/T 2141
塘玻璃温度计套
塘玻璃活套法兰
掂玻璃法兰盖
HG/T2143糖玻璃设备管口
HG/T2144塘玻璃视镜
3型式、基本参数及主要尺寸
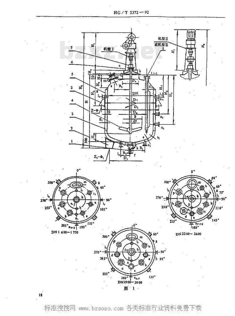
:3.1型式、基本参数及尺寸见图1、图2、表1至表4,3.2闭式搅摔容器按HG2036标准规定,相同公称容积分L系列和S系列两种公称直径(L系列和S系列分别为瘦长型和矮胖型的结构型式)。按使用条件选用,注1):糖玻璃闭式搅拌容器在原化工部标准中称之为据玻璃F型反应罐中华人民共和国化学工业部1992-09-15批准1993-07-01实施
DN16001750
HG/T 2372 -- 92
DN1900 2000
机型I
致机型
各美标准行业资料免费下载270*
机型工
DN 16 00~1750
DN 2200 ~ 26 00
机型Ⅱ
或机型
180-n3
DN19002000
WW.bzsos.com19
HG 5-15
HG5-16
JB1166
HG/T 205t. 3
HG/T 2051. 4
HG/T 2052
HG/T 2048
HG/T 2057
HG/T2058
据玻璃效料阀
支承式支座
悬挂式支座
叶轮式揽摔器
柴式搅拌器
I型传动装置
HG/T2372-92
I、型传动装意
据玻璃填料箱
明细表
塘玻璃揽挣容器用机械密封
糖玻璃湿度计套
组合件
Q235-A
·组合件
10或15
组合件
组合件
组合件:
组合件
PN≤0. 5MPa
用于 YN≤4 000 L
用于PN≤0. 25MPa
3.3塘玻璃闭式搅拌容器的传动装置有I型Ⅱ型和Ⅲ型三种机型,见HG/T2052,机型I适用于VN2500L20000.机型Ⅱ和机型Ⅲ适用于VN2500L至4000L.34塘玻璃闭式搅拌豁根据使用循要,可配量奖式或叶轮式搅拌器,按HG/T2051选用,3.5携玻璃闭式搅拌容器根据使用需要,可配置带测温头或不带测温头的翘片式温度计套管,按HG / T 2058 选用,
3.6塘玻璃闭试搅拌容器根据使用需要,可配置带视镜人孔或带视镜和平衡器人孔,按HG/T2055选用。
3.7据玻璃闭式搅拌容帮的安装形式可选用支求式支座和最挂式支座(悬挂式用于2500L至16000L),分别按JB1166和JB1165选用,3.8摘玻璃闭式搅拌容器的揽拌轴密封装盘,根据使用需耍,可配置机械密封或填料密封(填料密封只适用于PN0.25MPa以下,前且当介质温度大于100C时,必须选用带水夹套据玻璃填料箱),按HG/T2057,HG/T2048选用
3.9据玻璃闭式搅拌容器的出料口,根据使用需要,可配置上展式放料闷和下展式放料阀,按HG5-15或HG5-16选用但容器最高工作压力不大于0.6MPa,激高介质溢度0至150℃:当容器内公称压为大于0.6MPa时,可选用其它谢腐蚀胸门。20
W.容器序号
公称蓉积VNL
公称直径
L系列
s系列
计算签积VIL
容积系数VN/VJ
夹套传热面积㎡
公称医力
容器内
夹套内
介质温度(罐内及爽套内)
搅拌轴公称直径dNmm
电动机功率
叶轮式搅拌器
桨式搅拌帮
搅择轴公称转速/min
电动机型式
机型1
机型,机型Ⅱ
支座型式
规格及数量
悬挂式
支承式
离速机
温度计套组合型式
搅拌器,
填料密封
搅拌轴密封
机械密封
适用范围
效料阀
公称直径
整专量
HG/T2372-92
表2技术特性表
0. 25、G, 6 或 1. 0
当亮体材料为Q235-A,Q235-A.b时,允许介质温度为0~200,当亮体材料为20R时,允许介质温度为高于-20低于200个80
叶轮式搅拌器为125r/min,染式搅拌器为80r/mm或125/minY型或YB型禁列(同步转速15001/mi)CWS 125-300
见图 1、图 2 及表 1
CWS 160-400
携玻璃填料箱(适用于PN≤0.25MP,介质温度0℃~100℃)带冷却水夹套据玻璃填料箱(适用于PN≤0.25MPa,介质温度0℃~200t)。单端面机械密封(适用于PN≤0.6MPa),双嫩面机密封(适用于PN≤1.0MPa).
携玻璃上展式放料阀或下展式放料阀道用于PN0.6MPa,介质溢度0t-150c.
125/60
容器序
公称容积 VN L
公称宣径
L系列
s 奈刻
计算容积 VIL
容积系数 VN/VJ
夹套传热面积m
公称压力
容器内
夹套内
介溢度(罐内及夹套内)
揽摔轴公称直径dNmm
电动机功率
叶轮式揽拌器
式搅拌器
遗拌轴公称转速/ min
电动机型式
机型I
机型班
机型耳,
支座数式、
规格及数量
悬接式
支承式
减遮机
揽拌密,蕴疫计接组合型线
填料密封
搅拌轴密封
机密封
适用范圈
效料阀
公称直径
考斑量 k区
HG/T 2372-92
续表2
0.25.0.6取1.0
.2600.
.20000.
当亮体材料为Q235-A,Q235-A.b时。允许介质温度为0℃~200℃,当壳体材料为20R时,充许介质温度为高于-20亿低于20095
叶轮式搅拌器为125r/min,浆式搅拌器为80r/min或125r/minY双或YB型系列(同步转速1500:/mln)CWS160-400
A10×4
见图 1、 图 2. 及表 1
cWS 200-500
cws 200-550
a0t×4
摘玻璃填料箱(适用于PN≤0.25MPa介典溢度0~100℃)带冷却水夹强塘玻璃填料箱(适用于PN0.25MPa,介质盈0减200C)单嫩面机械密封(适用于PN≤0.6-MPa)。双端面机械密封(适用于PN<1.0MPa).
被璃上展式放料阅或下展式效料阅退用手PN0.6MPa,介质温度0130c.
125 / 60
往:参量中不包括传动装量直量及描玻璃层量,8130
·150/100
公称直径 DN
s系列
L系列
带视镜
或(带视
镜和平衡
器)人孔
400×300
400x300
400x300
400×300
400×300
400×300
400×300
400×300
400x300bzxZ.net
400×300
400300
400×300
HG/T2372—92
表3管口表
灯孔压力
温度计套
备用口
加料口
搅拌孔罐盖
W.bzsoso:com600
公称真径DN
L 系列S 系列
HG/T2372-92
续表3
燕汽进口
被体出口
65(40 A)
65(40 A)
65(40 A)
65(40 A)
65(40A)
液体喷咀
喷咀规格
65(40A)
65(40A)
65(40A)
65(40 A)
65(40 A)
65(40A)
65(40 A)
65(40 A))
65(50 A)
65(50 A))
65(50 A3)
65(50A)
65(40 A)
65(40A)
65(40 A)
65(50 A)
65(50 A))
65(50A)
65(50A)
65(50A)
6$(50.A))
80(60A)
80(60 A)
65(50 A)
80(60 A)
80(60 A)80(60 A)
80(60 A)
80(60A)
80(60 A)
80(60A)
80(60 A) 80(60 A)
B0(60A)
100(70A)[00(70A)100(70A)
100(70A)|100(70A)100(70A)
100(70A))100(70A)[00(70A)
备用口可用于安装安全阀或爆破片装笠也可用于安装压料管,注:
液体不凝性
气体排
3 / 4 *
液放料口
敬净口
Wf
·4000
公称直径DN
L系列
S系列
HG./T:237292
表4主要尺寸裘
7502001
17502045
12201900
:1330
20502355
122:.1900
13302050
22002502
45604554
M.1359
公称直径 DN
L系列
s系列
HG23722
.bzsoso.cOmm
公称直径 DN
L系列s系列
HG/T23722
揽拌叶直径 B
桨式,
叶轮式
注:表中 S、S、S,为参考名义库度,详见编制说明。16
M3. 10
HG/ T 237292.
塘玻璃闭式搅拌容器罐盖卡子数量及规格见表5.表5
公称压力
卡子种类
A数锻造卡于
B型铸造卡子
KTH 350-10
28-AM 12
36-AM 12
32-AM 16
20-E 12
32-AM I2
32-AM 16
40-AM 16
36-BM12
36-AM 12
36-AM16
36-AM20
40-BM 12
40-AM 12
40-AM 16
40-AM 20
36-BM 16
据玻璃闭式揽拌容器传动装量的安装有A、B二种型式,A型支座见图3,B型支座见图4,3.11
A 变座适用于 2 500 L~ 5 000 L,公称容积 VNL
3 000~4000
5000~8000
1000016000
B型支座适用于2500L~20000L,尺寸见表6。表6
ng-d。!
A 型支座 (VN 2 500 L~5 000 L)图3
w.bzsosocommm
支座型式
A型或B型
小提示:此标准内容仅展示完整标准里的部分截取内容,若需要完整标准请到上方自行免费下载完整标准文档。
	 
	        
	      塘玻璃闭式搅拌容器
主题内容与适用范围
IG/T 2372—92
本标准规定了掂玻璃闭式搅拌容器\)的型式、基本参数、主要尺寸及技术要求。本标准规定的塘玻璃闭式搅拌容器适用于容器内公称压力小于或等于1.0MPa,公称容积2500L到20000L,夹套内公称压力小于或等于0.6MPa,容器及夹套内介质温度高于-20℃低于200,引用标准
GB150钢制压力容器
HG5-15掂玻璃上展式放料闻
HG5-16掂玻璃下展式放料阀
JB1165悬挂式支座
JB1166支承式支座
ZBG94004塘玻璃设备技术条件
ZBG94007携玻璃设备质量分等标准HG2036塘玻璃容器参数
HG/T2048掂玻璃填料箱
HG/T2049
HG/T2050
HG/T2051
HG/T 2052
HG/T 2054
塘玻璃设备高颈法兰
掂玻璃设备垫片
掂玻璃搅拌器
掂玻璃设备传动装罩
塘玻璃设备
·塘玻璃人孔
HG/T 2055
携玻璃揽拌容器用机械密封
HG/T 2057
HG/T 2058
HG/T 2105
HG/T 2141
塘玻璃温度计套
塘玻璃活套法兰
掂玻璃法兰盖
HG/T2143糖玻璃设备管口
HG/T2144塘玻璃视镜
3型式、基本参数及主要尺寸
:3.1型式、基本参数及尺寸见图1、图2、表1至表4,3.2闭式搅摔容器按HG2036标准规定,相同公称容积分L系列和S系列两种公称直径(L系列和S系列分别为瘦长型和矮胖型的结构型式)。按使用条件选用,注1):糖玻璃闭式搅拌容器在原化工部标准中称之为据玻璃F型反应罐中华人民共和国化学工业部1992-09-15批准1993-07-01实施
DN16001750
HG/T 2372 -- 92
DN1900 2000
机型I
致机型
各美标准行业资料免费下载270*
机型工
DN 16 00~1750
DN 2200 ~ 26 00
机型Ⅱ
或机型
180-n3
DN19002000
WW.bzsos.com19
HG 5-15
HG5-16
JB1166
HG/T 205t. 3
HG/T 2051. 4
HG/T 2052
HG/T 2048
HG/T 2057
HG/T2058
据玻璃效料阀
支承式支座
悬挂式支座
叶轮式揽摔器
柴式搅拌器
I型传动装置
HG/T2372-92
I、型传动装意
据玻璃填料箱
明细表
塘玻璃揽挣容器用机械密封
糖玻璃湿度计套
组合件
Q235-A
·组合件
10或15
组合件
组合件
组合件:
组合件
PN≤0. 5MPa
用于 YN≤4 000 L
用于PN≤0. 25MPa
3.3塘玻璃闭式搅拌容器的传动装置有I型Ⅱ型和Ⅲ型三种机型,见HG/T2052,机型I适用于VN2500L20000.机型Ⅱ和机型Ⅲ适用于VN2500L至4000L.34塘玻璃闭式搅拌豁根据使用循要,可配量奖式或叶轮式搅拌器,按HG/T2051选用,3.5携玻璃闭式搅拌容器根据使用需要,可配置带测温头或不带测温头的翘片式温度计套管,按HG / T 2058 选用,
3.6塘玻璃闭试搅拌容器根据使用需要,可配置带视镜人孔或带视镜和平衡器人孔,按HG/T2055选用。
3.7据玻璃闭式搅拌容帮的安装形式可选用支求式支座和最挂式支座(悬挂式用于2500L至16000L),分别按JB1166和JB1165选用,3.8摘玻璃闭式搅拌容器的揽拌轴密封装盘,根据使用需耍,可配置机械密封或填料密封(填料密封只适用于PN0.25MPa以下,前且当介质温度大于100C时,必须选用带水夹套据玻璃填料箱),按HG/T2057,HG/T2048选用
3.9据玻璃闭式搅拌容器的出料口,根据使用需要,可配置上展式放料闷和下展式放料阀,按HG5-15或HG5-16选用但容器最高工作压力不大于0.6MPa,激高介质溢度0至150℃:当容器内公称压为大于0.6MPa时,可选用其它谢腐蚀胸门。20
W.容器序号
公称蓉积VNL
公称直径
L系列
s系列
计算签积VIL
容积系数VN/VJ
夹套传热面积㎡
公称医力
容器内
夹套内
介质温度(罐内及爽套内)
搅拌轴公称直径dNmm
电动机功率
叶轮式搅拌器
桨式搅拌帮
搅择轴公称转速/min
电动机型式
机型1
机型,机型Ⅱ
支座型式
规格及数量
悬挂式
支承式
离速机
温度计套组合型式
搅拌器,
填料密封
搅拌轴密封
机械密封
适用范围
效料阀
公称直径
整专量
HG/T2372-92
表2技术特性表
0. 25、G, 6 或 1. 0
当亮体材料为Q235-A,Q235-A.b时,允许介质温度为0~200,当亮体材料为20R时,允许介质温度为高于-20低于200个80
叶轮式搅拌器为125r/min,染式搅拌器为80r/mm或125/minY型或YB型禁列(同步转速15001/mi)CWS 125-300
见图 1、图 2 及表 1
CWS 160-400
携玻璃填料箱(适用于PN≤0.25MP,介质温度0℃~100℃)带冷却水夹套据玻璃填料箱(适用于PN≤0.25MPa,介质温度0℃~200t)。单端面机械密封(适用于PN≤0.6MPa),双嫩面机密封(适用于PN≤1.0MPa).
携玻璃上展式放料阀或下展式放料阀道用于PN0.6MPa,介质溢度0t-150c.
125/60
容器序
公称容积 VN L
公称宣径
L系列
s 奈刻
计算容积 VIL
容积系数 VN/VJ
夹套传热面积m
公称压力
容器内
夹套内
介溢度(罐内及夹套内)
揽摔轴公称直径dNmm
电动机功率
叶轮式揽拌器
式搅拌器
遗拌轴公称转速/ min
电动机型式
机型I
机型班
机型耳,
支座数式、
规格及数量
悬接式
支承式
减遮机
揽拌密,蕴疫计接组合型线
填料密封
搅拌轴密封
机密封
适用范圈
效料阀
公称直径
考斑量 k区
HG/T 2372-92
续表2
0.25.0.6取1.0
.2600.
.20000.
当亮体材料为Q235-A,Q235-A.b时。允许介质温度为0℃~200℃,当壳体材料为20R时,充许介质温度为高于-20亿低于20095
叶轮式搅拌器为125r/min,浆式搅拌器为80r/min或125r/minY双或YB型系列(同步转速1500:/mln)CWS160-400
A10×4
见图 1、 图 2. 及表 1
cWS 200-500
cws 200-550
a0t×4
摘玻璃填料箱(适用于PN≤0.25MPa介典溢度0~100℃)带冷却水夹强塘玻璃填料箱(适用于PN0.25MPa,介质盈0减200C)单嫩面机械密封(适用于PN≤0.6-MPa)。双端面机械密封(适用于PN<1.0MPa).
被璃上展式放料阅或下展式效料阅退用手PN0.6MPa,介质温度0130c.
125 / 60
往:参量中不包括传动装量直量及描玻璃层量,8130
·150/100
公称直径 DN
s系列
L系列
带视镜
或(带视
镜和平衡
器)人孔
400×300
400x300
400x300
400×300
400×300
400×300
400×300
400×300
400x300bzxZ.net
400×300
400300
400×300
HG/T2372—92
表3管口表
灯孔压力
温度计套
备用口
加料口
搅拌孔罐盖
W.bzsoso:com600
公称真径DN
L 系列S 系列
HG/T2372-92
续表3
燕汽进口
被体出口
65(40 A)
65(40 A)
65(40 A)
65(40 A)
65(40A)
液体喷咀
喷咀规格
65(40A)
65(40A)
65(40A)
65(40 A)
65(40 A)
65(40A)
65(40 A)
65(40 A))
65(50 A)
65(50 A))
65(50 A3)
65(50A)
65(40 A)
65(40A)
65(40 A)
65(50 A)
65(50 A))
65(50A)
65(50A)
65(50A)
6$(50.A))
80(60A)
80(60 A)
65(50 A)
80(60 A)
80(60 A)80(60 A)
80(60 A)
80(60A)
80(60 A)
80(60A)
80(60 A) 80(60 A)
B0(60A)
100(70A)[00(70A)100(70A)
100(70A)|100(70A)100(70A)
100(70A))100(70A)[00(70A)
备用口可用于安装安全阀或爆破片装笠也可用于安装压料管,注:
液体不凝性
气体排
3 / 4 *
液放料口
敬净口
Wf
·4000
公称直径DN
L系列
S系列
HG./T:237292
表4主要尺寸裘
7502001
17502045
12201900
:1330
20502355
122:.1900
13302050
22002502
45604554
M.1359
公称直径 DN
L系列
s系列
HG23722
.bzsoso.cOmm
公称直径 DN
L系列s系列
HG/T23722
揽拌叶直径 B
桨式,
叶轮式
注:表中 S、S、S,为参考名义库度,详见编制说明。16
M3. 10
HG/ T 237292.
塘玻璃闭式搅拌容器罐盖卡子数量及规格见表5.表5
公称压力
卡子种类
A数锻造卡于
B型铸造卡子
KTH 350-10
28-AM 12
36-AM 12
32-AM 16
20-E 12
32-AM I2
32-AM 16
40-AM 16
36-BM12
36-AM 12
36-AM16
36-AM20
40-BM 12
40-AM 12
40-AM 16
40-AM 20
36-BM 16
据玻璃闭式揽拌容器传动装量的安装有A、B二种型式,A型支座见图3,B型支座见图4,3.11
A 变座适用于 2 500 L~ 5 000 L,公称容积 VNL
3 000~4000
5000~8000
1000016000
B型支座适用于2500L~20000L,尺寸见表6。表6
ng-d。!
A 型支座 (VN 2 500 L~5 000 L)图3
w.bzsosocommm
支座型式
A型或B型
小提示:此标准内容仅展示完整标准里的部分截取内容,若需要完整标准请到上方自行免费下载完整标准文档。
标准图片预览:





- 其它标准
 
- 热门标准
 - 化工行业标准(HG)
 
- HG/T20518-2008 化工粉体工程设计通用规范
 - HG/T3459-2003 化学试剂 顺丁烯二酸酐
 - HG∕T5056-2016 GB 7544在天然橡胶胶乳避孕套质量管理中的使用指南
 - HG/T3219-2009 代替 HG/T 3219-1999 搪玻璃平面阀
 - HG/T2017-2011 代替 HG/T 2017-2000 普通运动鞋
 - HG/T2956.5-2001 硼镁矿石中氧化亚铁含量的测定重铬酸钾 容量法
 - HG/T3276-2019 代替 HG/T 3276-2012 腐植酸铵肥料分析方法
 - HG/T5036-2016 常温有机硫转化吸收催化剂催化性能试验方法
 - HG/T4752-2014 整体浇铸乙烯基树脂混凝土电解槽
 - HG/T3449-1999 化学试剂 甲基红
 - HG/T2371-2003 代替 HG/T 2371-1992 搪玻璃开式搅拌容器
 - HG/T4221-2011 双组分室温硫化有机硅模具胶
 - HG/T3459-2003 化学试剂 顺丁烯二酸酐
 - HG/T4323-2012 循环冷却水中军团菌的检测与计数
 - HG/T3431-2010 代替 HG/T 3431-2001 酸性红 R(C. I. 酸性红 18)
 
- 行业新闻
 
请牢记:“bzxz.net”即是“标准下载”四个汉字汉语拼音首字母与国际顶级域名“.net”的组合。 ©2025 标准下载网 www.bzxz.net 本站邮件:bzxznet@163.com
网站备案号:湘ICP备2025141790号-2
网站备案号:湘ICP备2025141790号-2