- 您的位置:
- 标准下载网 >>
- 标准分类 >>
- 船舶行业标准(CB) >>
- CB/T 254-1997 船底放泄螺塞
标准号:
CB/T 254-1997
标准名称:
船底放泄螺塞
标准类别:
船舶行业标准(CB)
英文名称:
Ship bottom drain plug标准状态:
现行-
发布日期:
1997-10-17 -
实施日期:
1998-06-01 出版语种:
简体中文下载格式:
.rar.pdf下载大小:
1.88 MB
替代情况:
CB 254-82采标情况:
JIS F3005-82 NEQ
起草人:
吴月娟、陈宝沛、顾金元、邵金华、童自荣起草单位:
江南造船集团有限(责任)公司、沪东造船厂归口单位:
江南造船集团有限(责任)公司提出单位:
全国船舶舾装标准化技术委员会发布部门:
中国船舶工业总公司相关标签:
螺塞
点击下载
标准简介:
标准下载解压密码:www.bzxz.net
本标准规定了船底放泄螺塞的产品分类、技术要求和标志。本标准适用于钢质船底油、水舱、放泄油,水用的螺塞。本标准不适用于船底板厚度小于6mm的小船。 CB/T 254-1997 船底放泄螺塞 CB/T254-1997
部分标准内容:
ICS.47.U2U.1U
中华人民共和国船舶行业标准
CB/T254--1997Www.bzxZ.net
船底放泄螺塞
Ship's bottom plugs and spanners1997-10-17发布
中国船舶工业总公司发布
1998-06-01实施
CB/T254-1997
本标准是对CB254一82的修订。修订中参照采用了日本JISF3005一1982《船底放泄螺塞》\D”、E”两种放泄螺塞的结构型式。并根据我国实际情况,保留了CB\254--82《船底放泄螺塞》中A30规格,同时,在此规格中增加了无肩放泄螺塞。两种形式均适用于油水舱,扩大了标准的通用性和系列性。方便了螺塞加工及船体安装。
本标准从生效之日起,同时代替CB*254一82。本标准由全国船舶牺装标准化技术委员会提出。本标准由江南造船集团有限(责任)公司归口。本标准起草单位:沪东造船厂、江南造船集团有限(责任公司。本标准主要起草人:昊月娟、陈宝沛、顾金元、邵金华、童自荣。1范围
中华人民共和国船舶行业标准
船底放泄螺塞
Ship'sbottomplugsandspanners本标准规定了船底放泄螺塞的产品分类、技术要求和标志。本标准适用于钢质船底油、水舱,放泄油,水用的螺塞。本标准不适用于船底板厚度小于6mm的小船。2产品分类
船底放泄螺塞的型式见表1。
表1船底放泄螺塞型式
型式及代号
无肩船底
放泄螺塞
有肩船底
放泄螺塞
中国船舶工业总公司1997-10-17批准六角型(O)
方型(W)
角型(0)
方型(W)
材料代号
不锈对酸锅
CB/T254-1997
分类号:U26
代替CB254-82
适用范
船底油舱
船底水舱
船底油舱
船底水舱
1998-06-01实施
CB/T254-1997
2.2船底放泄螺塞的结构型式及基本尺寸。2.2.1A型螺塞的结构型式及基本尺寸按图1和表2。D
1—旋塞;2--座板;3—垫料
图1A型螺塞
打标记处
船底板
船底板
CB/T254--1997
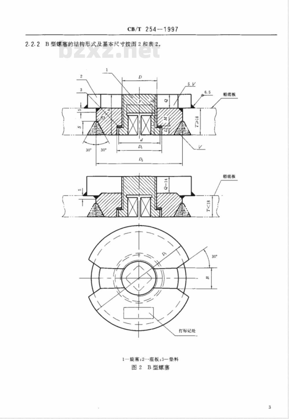
2.2.2B型螺塞的结构形式及基本尺寸按图2和表2。30
1-旋塞;2--座板;3-垫料
图2B型螺塞
打标记处
船底板
船底板
CB/T254-—1997
2.2.3旋塞的结构型式及主要尺寸见图3和表2。图3
2541997
8x要事
2.3扳手结构形式及尺寸按图4和表3。名义尺寸
2.4标记示例
CB/T254—1997
图4扳手
表3扳手尺寸
旋塞为六角型,名义尺寸为42mm,座板h=35mm,油舱用不锈钢无肩船底放泄螺塞:放泄螺寒AO42-35NCB/T254—1997旋塞为方型,名义尺寸为52mm,座板h=45mm,水舱用黄铜有肩船底放泄螺塞:放泄螺塞BW52-45HCB/T254-1997mm
重量,kg
3技术要求
CB/T2541997
船底放泄螺塞的主要零件材料按表4。表4零件材料
优质碳素结构钢
不锈耐酸钢
普通碳素结构钢
氯丁橡胶
1Cr18Ni9Ti
HPb59-1
Q235-A
扳手应镀锌,每10只放泄螺塞配一把,或按订货方要求配备。3.2
3.3船底放泄螺塞制造完毕后,应有制造厂技术检查部门验收并出具合格证书。3.4船底放泄螺塞安装后,与船体油水舱一并进行密性试验。4标志
每个船底放泄螺塞,应具有下列标志:a)螺塞的标记;
b)检查合格印章。
标准号
GB699—88
GB1220—84
GB4425—84
GB700—88
GB469—83
小提示:此标准内容仅展示完整标准里的部分截取内容,若需要完整标准请到上方自行免费下载完整标准文档。
中华人民共和国船舶行业标准
CB/T254--1997Www.bzxZ.net
船底放泄螺塞
Ship's bottom plugs and spanners1997-10-17发布
中国船舶工业总公司发布
1998-06-01实施
CB/T254-1997
本标准是对CB254一82的修订。修订中参照采用了日本JISF3005一1982《船底放泄螺塞》\D”、E”两种放泄螺塞的结构型式。并根据我国实际情况,保留了CB\254--82《船底放泄螺塞》中A30规格,同时,在此规格中增加了无肩放泄螺塞。两种形式均适用于油水舱,扩大了标准的通用性和系列性。方便了螺塞加工及船体安装。
本标准从生效之日起,同时代替CB*254一82。本标准由全国船舶牺装标准化技术委员会提出。本标准由江南造船集团有限(责任)公司归口。本标准起草单位:沪东造船厂、江南造船集团有限(责任公司。本标准主要起草人:昊月娟、陈宝沛、顾金元、邵金华、童自荣。1范围
中华人民共和国船舶行业标准
船底放泄螺塞
Ship'sbottomplugsandspanners本标准规定了船底放泄螺塞的产品分类、技术要求和标志。本标准适用于钢质船底油、水舱,放泄油,水用的螺塞。本标准不适用于船底板厚度小于6mm的小船。2产品分类
船底放泄螺塞的型式见表1。
表1船底放泄螺塞型式
型式及代号
无肩船底
放泄螺塞
有肩船底
放泄螺塞
中国船舶工业总公司1997-10-17批准六角型(O)
方型(W)
角型(0)
方型(W)
材料代号
不锈对酸锅
CB/T254-1997
分类号:U26
代替CB254-82
适用范
船底油舱
船底水舱
船底油舱
船底水舱
1998-06-01实施
CB/T254-1997
2.2船底放泄螺塞的结构型式及基本尺寸。2.2.1A型螺塞的结构型式及基本尺寸按图1和表2。D
1—旋塞;2--座板;3—垫料
图1A型螺塞
打标记处
船底板
船底板
CB/T254--1997
2.2.2B型螺塞的结构形式及基本尺寸按图2和表2。30
1-旋塞;2--座板;3-垫料
图2B型螺塞
打标记处
船底板
船底板
CB/T254-—1997
2.2.3旋塞的结构型式及主要尺寸见图3和表2。图3
2541997
8x要事
2.3扳手结构形式及尺寸按图4和表3。名义尺寸
2.4标记示例
CB/T254—1997
图4扳手
表3扳手尺寸
旋塞为六角型,名义尺寸为42mm,座板h=35mm,油舱用不锈钢无肩船底放泄螺塞:放泄螺寒AO42-35NCB/T254—1997旋塞为方型,名义尺寸为52mm,座板h=45mm,水舱用黄铜有肩船底放泄螺塞:放泄螺塞BW52-45HCB/T254-1997mm
重量,kg
3技术要求
CB/T2541997
船底放泄螺塞的主要零件材料按表4。表4零件材料
优质碳素结构钢
不锈耐酸钢
普通碳素结构钢
氯丁橡胶
1Cr18Ni9Ti
HPb59-1
Q235-A
扳手应镀锌,每10只放泄螺塞配一把,或按订货方要求配备。3.2
3.3船底放泄螺塞制造完毕后,应有制造厂技术检查部门验收并出具合格证书。3.4船底放泄螺塞安装后,与船体油水舱一并进行密性试验。4标志
每个船底放泄螺塞,应具有下列标志:a)螺塞的标记;
b)检查合格印章。
标准号
GB699—88
GB1220—84
GB4425—84
GB700—88
GB469—83
小提示:此标准内容仅展示完整标准里的部分截取内容,若需要完整标准请到上方自行免费下载完整标准文档。
标准图片预览:





- 其它标准
- 热门标准
- 船舶行业标准(CB)
- CB/Z280-2011 海船艏锚泊设计导则
- CB667-1968 铝质通风法兰
- CB/Z145-1977 船模阻力与推进试验资料卡格式
- CB/Z266-98 水面舰艇风浪稳性计算方法
- CB/T3879-1999 船用混油装置技术条件
- CB/T4154-2011 船用不锈钢管简选系列
- CB/T4160-2011 锚修理技术要求
- CB/T3380-2013 船用钢材焊接接头宏观组织及缺欠酸蚀试验方法
- CB/T3852.8-2008 船用照明灯具类型、参数和主要尺寸 第8部分:台灯
- CB/T4130-2011 液化石油气船用加热器
- CB409-65 传话管路聘动接头
- CB888-1980 潜艇手术台
- CB/T3852.9-2008 船用照明灯具类型、参数和主要尺寸 第9部分:海图灯
- CB/T3379-91 船用Z型推进装置修理技术要求
- CB/T4009-2005 J类法兰铸铁0.5 MPa止回阀
- 行业新闻
请牢记:“bzxz.net”即是“标准下载”四个汉字汉语拼音首字母与国际顶级域名“.net”的组合。 ©2025 标准下载网 www.bzxz.net 本站邮件:bzxznet@163.com
网站备案号:湘ICP备2025141790号-2
网站备案号:湘ICP备2025141790号-2