- 您的位置:
- 标准下载网 >>
- 标准分类 >>
- 化工行业标准(HG) >>
- HG/T 2374-2011 代替 HG/T 2374-2004 搪玻璃闭式贮存容器
- 标准号: - HG/T 2374-2011
- 标准名称: - 代替 HG/T 2374-2004 搪玻璃闭式贮存容器
- 标准类别: - 化工行业标准(HG)
- 标准状态: 现行
- 出版语种: 简体中文
- 下载格式: .zip .pdf
- 下载大小: 113.44 KB
 标准简介/下载
标准简介/下载点击下载
标准简介:
					HG/T 2374-2011.One piece glass-lined steel vessels for storage.
1范围
HG/T 2374规定了搪玻璃闭式贮存容器的型式、基本参数、主要尺寸及技术要求。
HG/T 2374适用于容器内设计压力小于等于0.6MPa,公称容积3000L~80000L,设计温度高于-20℃低于或等于200℃的搪玻璃闭式贮存容器。
2规范性引用文件
下列文件对于本文件的应用是必不可少的。凡是注日期的引用文件,仅注日期的版本适用于本文件。凡是不注8期的引用文件,其最新版本(包括所有的修改单)适用于本文件。
GB 25025搪玻璃设备技术条件
HG/T 2036搪玻 璃容器参数
HG/T 2050搪玻璃设备垫片
HG/T 2053搪玻璃设备人孔法兰
HG/T 2054搪玻璃设备卡子
HG/T 2105搪玻璃设备活套法兰
HG/T 2134搪玻璃90°弯头
HG/T 2143搪玻璃设备管口
HG/T 2433搪玻璃液面计
JB/T 4712.4容器支座第4部分:支承式支座
3术语和定义
下列术语和定义适用于本文件。
3.1
搪玻璃闭式贮存容器 One piece glass-lined steel vessels for storage
容器上封头设置小于等于二分之一封头直径的高颈法兰的立式搪玻璃贮存容器。
4型式、基本参数及主要尺寸
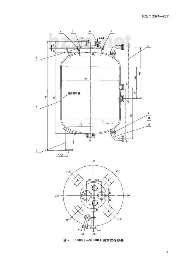
4.1搪玻璃闭式贮存容器的型式、基本参数及主要尺寸按HG/T 2036的有关规定,见图1、图2、图3和表1、表2。
 标准内容
标准内容部分标准内容:
备案号:34699-2012
中华人民共和国化工行业标准
HG/T2374—2011
代替HG/T2374--2004
玻璃闭式贮存容器
Onepieceglass-lined steel vesselsforstorage2011-12-20发布
2012-07-01实施
中华人民共和国工业和信息化部发布前言
本标准按照GB/T1.1一2009给出的规则起草。本标准代替HG/T2374—2004《塘玻璃闭式贮存容器》。本标准与HG/T2374--2004相比主要变化如下:HG/T2374—2011
公称容积由3000L~50000L调整为3000L~80000L,增加了63000L、80000L的公称容积,公称容积12500L容器的直径由2400mm调整为2200mm;“范围”中“公称压力”修改为“设计压力”,“介质温度”修改为“设计温度”,并调整了范围;一上封头中心孔尺寸修订为500mm和600mm,改用人孔盖结构,并修改了管口规格,一对液面计的规格和数量进行调整一-修订了部分参数;
一取消金属基体壁厚值的规定,相应地取消了设备的参考质量。本标准由中国石油和化学工业联合会提出。本标准由全国塘玻璃设备标准化技术委员会归口。本标准起草单位:江苏省漂阳市云龙设备制造有限公司。本标准主要起草人:潘俊杰、雍兆铭、周浩、张建。本标准代替了HG/T2374—2004。HG/T2374-2004的历次版本发布情况为:HG5-253—1965、HG5-253—1969,HG5-253-1979,HG/T2374-—1992。I
1范围
糖玻璃闭式存容器
本标准规定了据玻璃闭式贮存容器的型式、基本参数、主要尺寸及技术要求。HG/T2374—2011
本标准适用于容器内设计压力小于等于0.6MPa,公称容积3000L~80000L,设计温度高于\一20℃低于或等于200℃的糖玻璃闭式贮存容器。2规范性引用文件
下列文件对于本文件的应用是必不可少的。凡是注日期的引用文件,仅注日期的版本适用于本文件。凡是不注日期的引用文件,其最新版本(包括所有的修改单)适用于本文件。糖玻璃设备技术条件
GB25025
HG/T2036
HG/T2050
HG/T2053
HG/T2054
HG/T2105
HG/T2134
HG/T2143
HG/T2433
JB/T4712.4
3术语和定义
塘玻璃容器参数
塘玻璃设备垫片
据玻璃设备
人孔法兰
携玻璃设备卡子
塘玻璃设备活套法兰
塘玻璃90°弯头
塘玻璃设备管口
塘玻璃液面计
容器支座第4部分:支承式支座
下列术语和定义适用于本文件。3.1
塘玻璃闭式贮存容器Onepieceglass-lined steelvesselsforstorage容器上封头设置小于等于二分之一封头直径的高颈法兰的立式玻璃贮存容器。4型式、基本参数及主要尺寸
4.1塘玻璃闭式贮存容器的型式、基本参数及主要尺寸按HG/T2036的有关规定,见图1、图2、图3和表1、表2。
HG/T2374—2011免费标准bzxz.net
表面搏玻璃
图13000L~12500L闭式贮存容器
表面摘玻璃
图216000L~50000L闭式购存容器90°
HG/T2374—2011
HG/T2374—2011
6-D。
表面玻璃
图363000L~80000L闭式贮存容器10
全容积
13 644
进口a
出口b
表1尺寸表
管口公称直径,DN
工艺口
备用口
工艺口h
液面计
HG/T23742011
液面计
公称长度文数量
1400×2
1600×2
1800×2
1900×2
2000×2
2000×2
2200×2
2400×2
2500×2
2700×2
2800×2
3200×2
3400×2
8050×1
9020×1
HG/T2374—2011
16 000
标准号
参照JB/T4712.4
HG/T2050
HG/T2054
HG/T2143
HG/T2053
HG/T2433
HG/T2105
HG/T2050
参照HG/T2134
人孔法兰
表1(续)
摘玻璃液面计
活套法兰
90°不等长弯头
尺寸表
明细表
参照JB/T4712.4
见表1
组合件
软质垫片
组合件
组合件
符合GB25025
符合GB25025
组合件
组合件
软质垫片
组合件
卡子数量及规格
设计压力/MPa
24-BM12
224-AM12
28-BM1236-AM12
按设备工况要求
供参考
按设备工况要求
据玻璃闭式贮存容器的标记。以符合HG/T2371,设计压力为0.6MPa,公称容积为5000L的4.2
据玻璃闭式贮存容器为例,其标记为:塘玻璃闭式贮存容器HG/T2374-F0.6-50006
标记中各要素的含义如下:
F0.6-—-·设计压力为0.6MPa的糖玻璃闭式贮存容器;5000公称容积为5000L。
5技术要求
塘玻璃闭式贮存容器按本标准和GB25025进行设计、制造、检验和验收连接塘玻璃液面计的管口应在同一垂直面上,垂直中心线偏差为士1.0mm。HG/T2374—2011
5.3对长度大于1500mm的玻璃液面计,在液面计中间需增加支点,支点在烧前焊于筒体上。5.4
设计、制造单位应优先选用新型的液面计,并符合相关标准的规定。5.5
设备烧前,在支承位置先焊上支座连接件,在塘烧完毕后,再安装支座。应设置吊耳,其数量、位置应满足吊装、安装要求。铭牌、出厂文件及包装、运输
铭牌内容、出厂文件及包装、运输按GB25025的有关规定。6.2所有管口及外露塘玻璃面必须采取有效的保护。3容器出厂前应要善保管,不宜露天存放。6.3
小提示:此标准内容仅展示完整标准里的部分截取内容,若需要完整标准请到上方自行免费下载完整标准文档。
 标准图片预览
标准图片预览 标准图片预览:





- 热门标准
- HG化工标准
- HG/T20518-2008 化工粉体工程设计通用规范
- HG/T3985-2007 聚四氟乙烯波纹管膨胀节
- HG∕T5056-2016 GB 7544在天然橡胶胶乳避孕套质量管理中的使用指南
- HG/T4243-2011 医用干银胶片中银含量测定
- HG/T3219-2009 代替 HG/T 3219-1999 搪玻璃平面阀
- HG/T3459-2003 化学试剂 顺丁烯二酸酐
- HG/T21598-2014 水平吊盖衬不锈钢人孔
- HG/T2017-2011 代替 HG/T 2017-2000 普通运动鞋
- HG/T2257-2011 代替 HG/T 2257-1991 照相化学品 成色剂挥发分的测定
- HG/T21529-2014 代替 HG/T 21529-2005 板式平焊法兰手孔
- HG/T2956.5-2001 硼镁矿石中氧化亚铁含量的测定重铬酸钾 容量法
- HG/T5105-2016 搅拌传动装置轮毂
- HG/T2371-2003 代替 HG/T 2371-1992 搪玻璃开式搅拌容器
- HG/T2128-2009 代替 HG/T 2128-1991 改性酚醛玻璃纤维增强塑料管技术条件
- HG/T2225-2010 代替 HG/T 2225-2001 工业硫酸铝
- 行业新闻
网站备案号:湘ICP备2025141790号-2
