- 您的位置:
- 标准下载网 >>
- 标准分类 >>
- 国家标准(GB) >>
- GB/T 28956.1-2012 道路车辆 商用车用空气滤清器滤芯尺寸 第1部分:A型和B型
标准号:
GB/T 28956.1-2012
标准名称:
道路车辆 商用车用空气滤清器滤芯尺寸 第1部分:A型和B型
标准类别:
国家标准(GB)
标准状态:
现行出版语种:
简体中文下载格式:
.rar .pdf下载大小:
点击下载
标准简介:
标准下载解压密码:www.bzxz.net
GB/T 28956.1-2012 道路车辆 商用车用空气滤清器滤芯尺寸 第1部分:A型和B型 GB/T28956.1-2012
部分标准内容:
ICS 43.060.20
中华人民共和国国家标准
GB/T 28956. 1—2012/1ISO 7750-1 : 1992道路车辆
商用车用空气滤清器滤芯尺寸
第1部分:A型和B型
Commercial Vehicles--Dimenions of air filter elements-Part 1:Types A and B
(ISO 7750-1:1992,IDT)
2012-12-31发布
中华人民共和国国家质量监督检验检疫总局中国国家标准化管理委员会
2013-07-01实施
GB/T 28956.1—2012/IS0 7750-1:1992GB/T28956&道路车辆商用车用空气滤清器滤芯尺寸分为两个部分:第1部分:A型和B型;
~第 2 部分:C型和 D型。
本部分是GB/T28956的第1部分。本部分按照GB/T1.12009给出的规则起草。本部分使用翻译法等向采用ISO7750-1:1992道路车辆商用车用空气滤清器滤芯尺寸第1部分:A型和B型》(英文版)。
本部分由国家发展和改革委员会提出。本部分由全国汽车标准化技术委员会(SAC/TC114)归口。本部分起草单位:中国第一汽车集团公司技术中心。本部分主要起草人:曹立新、柳国立,贾晶。本部分是首次发布。
1范围
GB/T 28956.1--2012/JS0 7750-1:1992道路车辆商用车用空气滤清器滤芯尺寸第1部分:A型和B型
本标准规定了商用车辆用空气滤清器滤芯尺寸。也适用于其他滤清器滤芯。2尺寸规范
2,1A型一一带有止推面的圆简形滤芯见表1和图1。安装参见图A.1。
表1A型
单位为旁米
GB/T28956.1—2012/IS07750-1:1992气流方向
说明:
密封垫的自由高度,由制造厂家根据材料及形状自行确定,密封垫应具各足够的压缩性,以满足规定的装配关系。密封垫装配后,在滤芯使用寿命期限内,应能保持规定要求的瘀封性。9
密封垫的直径应在d~d之间。
3一一滤芯和密封垫应粘结为一体,两者同时更换。图1A型
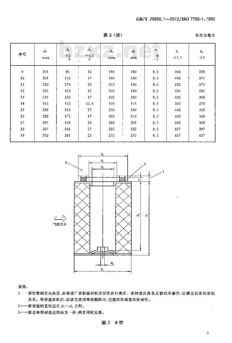
2.2B型-没有止推面的圆簡形滤芯见表2和图 2。安装参见图 A.2。表2B型
KicaoaaiKAca-
单位为旁米
说明:
气流方向
表2(续)
GB/T28956.1—2012/IS07750-1:1992单位为旁米
1密封垫的自出高度,山制造厂家根据材料及形状自行确定。密封垫应具备足够的压缩性,以满足规定的装配关系。密封垫装配后,在滤芯使用寿命期限内,,应能保持满态的密封性。2-密封垫的直径应在dds之间。
3一滤芯和密封垫应粘结为·体两者同时更换。图2B型
GB/T28956.1—2012/ISO7750-1:19923
标记方法此内容来自标准下载网
以尺寸 di=166 mm,d,-86 mm,及 h一340 mm 的 A 型滤芯标记为例:3.11
滤芯GB/T28956.1-A166X86X340
以尺寸d1-155mm,dz=88mm,及hi=332mm的B型滤芯标记为例:崽芯GB/T28956.1-B
8155x88X332
iiKicaiaikAca=
A.1A型滤芯装配注意事项
附录A
(资料性附录)
滤芯装配注意事项
GB/T28956.1—2012/IS07750-1:1992图A.1为A型空气滤清器滤芯的典型安装情况,A型空气滤清器滤芯,利用旋紧螺母的方法,将滤芯固定在止推台肩和定位面上。止推面和止推台肩可自由设计,但应保证不同厂家生产的滤芯能充分互换。止推台肩
被限位置
图A.1A型滤芯的装配
A.2B型滤芯装配注案事项
蝶形螺母
止推台肩任选
图 A.2B型滤芯的装配
图A,2为B型空气滤清器滤芯的典型安装情况。乃型空气滤清器滤芯,利用旋紧螺母的方法,将滤芯压紧在密封面上。
止推面和止推台肩可自由设计,但应保证不同广家生产的滤芯能充分互换。5
GB/T 28956. 1-2012
打印日期:2013年4月24日F009
中华人民共和国
国家标推
道路车辆商用车用空气滤清器滤芯尺寸第 1部分:A型和 B型
GB/T 28956.1—2012/ISO 7750-1,1992*
中国标雅出版社出版发行
北京市朝阳区和平里西街甲2号(1c0013)北京市西城区三里河北街16号(100045)网址 spc. net. cn
总编室:(010)64275323发行中心:((10)51780235读者服务部,(010)68523946
中国标准出版社秦皇岛印刷厂印刷各地新华书店经销
开本 880×1230 1/16
印张 0.75字11千字
12013年4月第一次印刷
2013年4月第一版
书号:155066·1-46671定价16.00元如有印装差错由本社发行中心调换版权专有侵权必究
举报电话:(010)68510107
riKicaaiKAca
小提示:此标准内容仅展示完整标准里的部分截取内容,若需要完整标准请到上方自行免费下载完整标准文档。
中华人民共和国国家标准
GB/T 28956. 1—2012/1ISO 7750-1 : 1992道路车辆
商用车用空气滤清器滤芯尺寸
第1部分:A型和B型
Commercial Vehicles--Dimenions of air filter elements-Part 1:Types A and B
(ISO 7750-1:1992,IDT)
2012-12-31发布
中华人民共和国国家质量监督检验检疫总局中国国家标准化管理委员会
2013-07-01实施
GB/T 28956.1—2012/IS0 7750-1:1992GB/T28956&道路车辆商用车用空气滤清器滤芯尺寸分为两个部分:第1部分:A型和B型;
~第 2 部分:C型和 D型。
本部分是GB/T28956的第1部分。本部分按照GB/T1.12009给出的规则起草。本部分使用翻译法等向采用ISO7750-1:1992道路车辆商用车用空气滤清器滤芯尺寸第1部分:A型和B型》(英文版)。
本部分由国家发展和改革委员会提出。本部分由全国汽车标准化技术委员会(SAC/TC114)归口。本部分起草单位:中国第一汽车集团公司技术中心。本部分主要起草人:曹立新、柳国立,贾晶。本部分是首次发布。
1范围
GB/T 28956.1--2012/JS0 7750-1:1992道路车辆商用车用空气滤清器滤芯尺寸第1部分:A型和B型
本标准规定了商用车辆用空气滤清器滤芯尺寸。也适用于其他滤清器滤芯。2尺寸规范
2,1A型一一带有止推面的圆简形滤芯见表1和图1。安装参见图A.1。
表1A型
单位为旁米
GB/T28956.1—2012/IS07750-1:1992气流方向
说明:
密封垫的自由高度,由制造厂家根据材料及形状自行确定,密封垫应具各足够的压缩性,以满足规定的装配关系。密封垫装配后,在滤芯使用寿命期限内,应能保持规定要求的瘀封性。9
密封垫的直径应在d~d之间。
3一一滤芯和密封垫应粘结为一体,两者同时更换。图1A型
2.2B型-没有止推面的圆簡形滤芯见表2和图 2。安装参见图 A.2。表2B型
KicaoaaiKAca-
单位为旁米
说明:
气流方向
表2(续)
GB/T28956.1—2012/IS07750-1:1992单位为旁米
1密封垫的自出高度,山制造厂家根据材料及形状自行确定。密封垫应具备足够的压缩性,以满足规定的装配关系。密封垫装配后,在滤芯使用寿命期限内,,应能保持满态的密封性。2-密封垫的直径应在dds之间。
3一滤芯和密封垫应粘结为·体两者同时更换。图2B型
GB/T28956.1—2012/ISO7750-1:19923
标记方法此内容来自标准下载网
以尺寸 di=166 mm,d,-86 mm,及 h一340 mm 的 A 型滤芯标记为例:3.11
滤芯GB/T28956.1-A166X86X340
以尺寸d1-155mm,dz=88mm,及hi=332mm的B型滤芯标记为例:崽芯GB/T28956.1-B
8155x88X332
iiKicaiaikAca=
A.1A型滤芯装配注意事项
附录A
(资料性附录)
滤芯装配注意事项
GB/T28956.1—2012/IS07750-1:1992图A.1为A型空气滤清器滤芯的典型安装情况,A型空气滤清器滤芯,利用旋紧螺母的方法,将滤芯固定在止推台肩和定位面上。止推面和止推台肩可自由设计,但应保证不同厂家生产的滤芯能充分互换。止推台肩
被限位置
图A.1A型滤芯的装配
A.2B型滤芯装配注案事项
蝶形螺母
止推台肩任选
图 A.2B型滤芯的装配
图A,2为B型空气滤清器滤芯的典型安装情况。乃型空气滤清器滤芯,利用旋紧螺母的方法,将滤芯压紧在密封面上。
止推面和止推台肩可自由设计,但应保证不同广家生产的滤芯能充分互换。5
GB/T 28956. 1-2012
打印日期:2013年4月24日F009
中华人民共和国
国家标推
道路车辆商用车用空气滤清器滤芯尺寸第 1部分:A型和 B型
GB/T 28956.1—2012/ISO 7750-1,1992*
中国标雅出版社出版发行
北京市朝阳区和平里西街甲2号(1c0013)北京市西城区三里河北街16号(100045)网址 spc. net. cn
总编室:(010)64275323发行中心:((10)51780235读者服务部,(010)68523946
中国标准出版社秦皇岛印刷厂印刷各地新华书店经销
开本 880×1230 1/16
印张 0.75字11千字
12013年4月第一次印刷
2013年4月第一版
书号:155066·1-46671定价16.00元如有印装差错由本社发行中心调换版权专有侵权必究
举报电话:(010)68510107
riKicaaiKAca
小提示:此标准内容仅展示完整标准里的部分截取内容,若需要完整标准请到上方自行免费下载完整标准文档。
标准图片预览:





- 热门标准
- 国家标准
- GB/T2828.1-2012 计数抽样检验程序 第1部分:按接收质量限(AQL)检索的逐批检验抽样计划
- GB/T7534-1987 工业用挥发性有机液体沸程的测定
- GB/T228.1-2021 金属材料 拉伸试验 第1部分:室温试验方法
- GB/T3836.1-2021 爆炸性环境 第1部分:设备 通用要求
- GB/T10125-2021 人造气氛腐蚀试验 盐雾试验
- GB/T50772-2012 木结构工程施工规范
- GB/T4100-2015 陶瓷砖
- GB/T15449-1995 管壳额定开关用场效应晶体管空白详细规范
- GB/T18204.4-2000 公共场所毛巾、床上卧具微生物检验方法细菌总数测定
- GB8552-1987 电子器件详细规范 低功率非线绕固定电阻器 RJ13型金属膜固定电阻器评定水平E(可供认证用)
- GB/T20976-2023 软冰淇淋预拌粉质量要求
- GB/T15917.3-1995 金属镝及氧化镝化学分析方法 对氯苯基荧光酮--溴化十六烷基三甲基胺分光光度法测定钽量
- GB/T11839-1989 二氧化铀芯块中硼的测定 姜黄素萃取光度法
- GB/T6122.1-2002 圆角铣刀 第1部分:型式和尺寸
- GB/T7433-1987 对称电缆载波通信系统抗无线电广播和通信干扰的指标
- 行业新闻
请牢记:“bzxz.net”即是“标准下载”四个汉字汉语拼音首字母与国际顶级域名“.net”的组合。 ©2025 标准下载网 www.bzxz.net 本站邮件:bzxznet@163.com
网站备案号:湘ICP备2025141790号-2
网站备案号:湘ICP备2025141790号-2