【国家标准(GB)】 信息处理 数据交换用90mm改进调频制记录的位密度为15916磁通翻转/弧度、每面80条磁道的软磁盘 第一部分:尺寸、物理性能和磁性能
本网站 发布时间:
2024-08-09 00:56:11
- GB/T15130.1-1994
- 现行
- 点击下载此标准
标准号:
GB/T 15130.1-1994
标准名称:
信息处理 数据交换用90mm改进调频制记录的位密度为15916磁通翻转/弧度、每面80条磁道的软磁盘 第一部分:尺寸、物理性能和磁性能
标准类别:
国家标准(GB)
英文名称:
90 mm floppy disks with a bit density of 15916 flux reversals/radian and 80 tracks per side, for information processing data exchange, using the modified frequency modulation system Part 1: Dimensions, physical properties and magnetic properties标准状态:
现行-
发布日期:
1994-12-13 -
实施日期:
1995-03-01 出版语种:
简体中文下载格式:
.rar.pdf下载大小:
516.50 KB
标准ICS号:
信息技术、办公机械设备>>数据存储设备>>35.220.20磁存储设备综合中标分类号:
电子元器件与信息技术>>计算机>>L64数据媒体
点击下载
标准简介:
标准下载解压密码:www.bzxz.net
本标准规定了软磁盘的尺寸、物理性能和磁性能,这样就为数据处理系统之间提供了物理交换的可能性。 GB/T 15130.1-1994 信息处理 数据交换用90mm改进调频制记录的位密度为15916磁通翻转/弧度、每面80条磁道的软磁盘 第一部分:尺寸、物理性能和磁性能 GB/T15130.1-1994
部分标准内容:
GB/T15130.1--94
GB/T13703信息处理信息交换用软磁盘盘卷和文卷结构GB/T13719信息处理数据交换用90mm改进调频制记录的位密度为7958磁通翻转/弧度、每面80条磁道的软磁盘第一部分:尺寸、物理性能和磁性能4术语
本标准采用下述术语:
4.1 记录磁盘 recording disk
它是一种在特定的一面或两面上接受并保持磁信号的部件,在信息数据处理及有关系统中用于输入/输出和存储信息。
4.2盘毂hub
它是装在盘的中心,带动磁盘转动,起中心定位和基准作用的部件。它确保软磁盘中心以特定的角度在驱动器转轴上定位。
4.3 快门 shutter
它是磁盘插入驱动器时就露出磁头窗口,磁盘取出时就自动遮盖磁头窗口的部件。4.4里衬liner
位于罩壳和磁盘之间起清洁和防止磨损作用的一种合适的材料。4.5罩壳case
它是一个保护性外壳,包括快门机构和禁写孔。4.6 主标准基准软磁盘 master standard reference flexible disk cartridge选来作为定标基准磁场、信号幅度、分辨率、峰值漂移和重写的基准软磁盘。把两面上的00磁道和79磁道定为基准磁道。
在300r/min转速下定标基准磁道。注:由联邦德国不伦瑞克市D-3300本德萨利街100号物理技术研究院(PTB)制定了主标准。4. 7 二级标准基准软磁盘 secondary standard reference flexible disk cartridge其特性是已知的,并已标明相对于主基准软磁盘的特性。注:能够从PTB1.41实验室获得编号为 RM 9529的二级基准软磁盘。用它进一步校准三级基准软磁盘,4.8典型磁场强度typical field在指定磁道以指定的磁通翻转密度记录时,在平均信号幅度对记录磁场强度的曲线上,所产生的平均信号输出幅度等于最大平均信号幅度的95%时的最小磁场强度。4.9基准磁场强度reference field主标准基准软磁盘的典型磁场强度。有两个基准磁场强度,每面一个。4.10测试记录电流test recording current在00磁道上以1f测试频率产生基准磁场强度所需电流的148%~152%的电流。有两个测试记录电流,每面一个。
4.11 标准基准幅度standard reference amplitude用测试记录电流从主标准基准软磁盘的基准磁道上得到的平均信号幅度(SRA)。有四个SRA,每面有两个。
SRAu是用测试频率1f在00磁道记录时得到的平均信号幅度。SRA2t是用测试频率2f在79磁道记录时得到的平均信号幅度。4.12平均信号幅度average signal amplitude整条磁道上所测得的峰一峰输出电压的算术平均值。4.13接触式in-contact
操作时,磁盘磁表面与磁头处于实际的接触状态。388
4.14面side
GB/T 15130.1--94
嵌入心轴的一面是0面,另一面则是1面。4.15旋转方向direction of rotation往0面看,旋转方向应是逆时针的。4.16
索引index
磁道上确定该磁道开始和终止的点。存取线line of access
由读写磁头缝隙中心描述的直线,事实上是从00磁道到79磁道的一条直线。4.18 格式化 farmatting
在软磁盘表面上写入特有的控制信息,以此确定物理磁道和实际记录的地址。4.19初始化initialization
在进行一般性处理之前,在软磁盘上写入最初需要的信息,例如,盘卷标号。5一般说明
5.1总图
图10面
在图中含有:
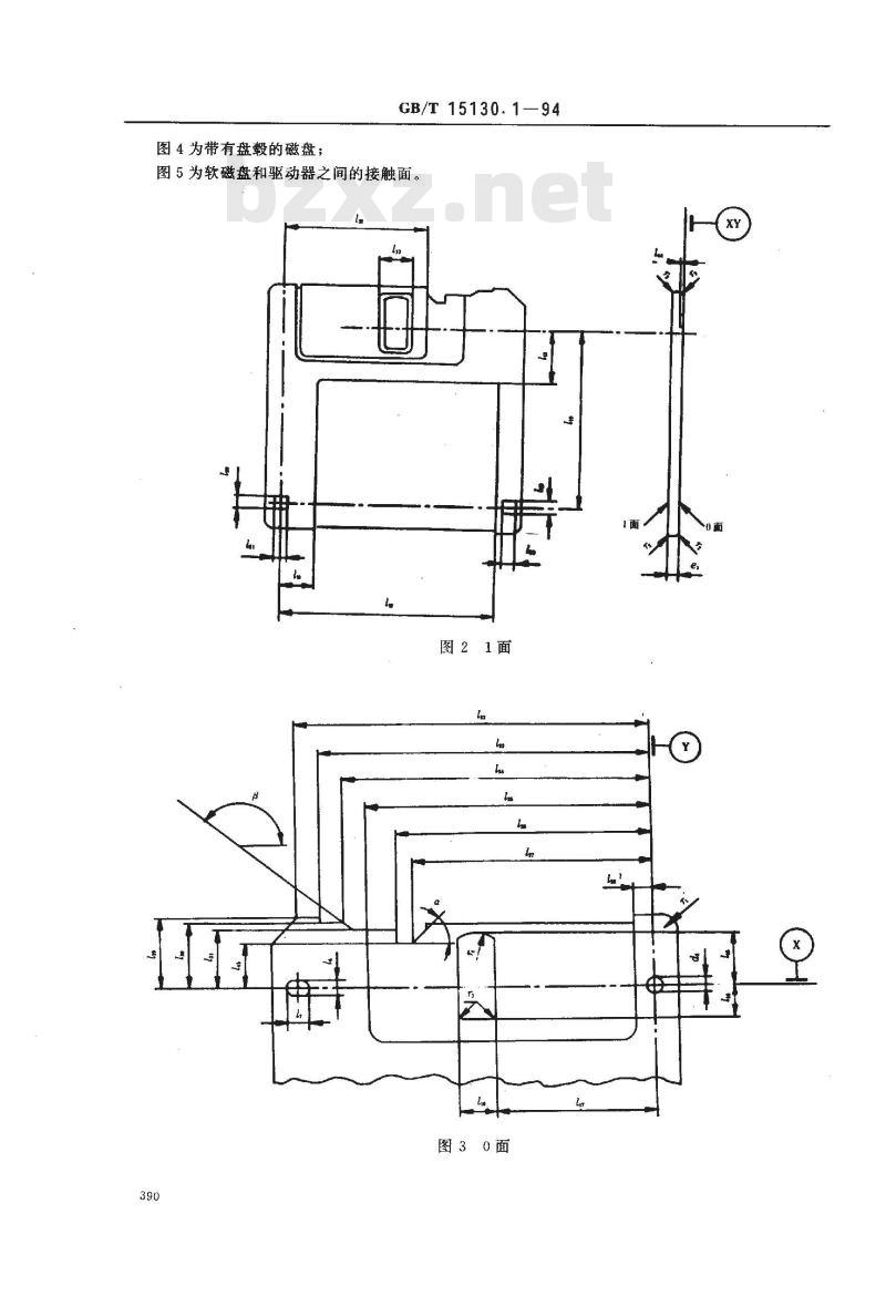
图1为0面和两个定位孔的放大的剖视图;图2为1面;
图3详细地表示去掉快门后的0面的上半部;389
图4为带有盘毂的磁盘;
GB/T15130.1—94
图5为软磁盘和驱动器之间的接触面。图21面
图30面
5.2主要组成部分
疑转方向
软磁盘的主要组成部分为:
记录磁盘;
GB/T 15130. 1--94
图4带有盘毂的磁盘
图5磁盘与驱动器的接触面
里衬;
翼壳。
5.3说明
GB/T 15130.194
罩壳基本上是正方形。在一面有一个中心孔,在两面各有一个磁头窗口、禁写孔和一个识别孔。里衬固定在罩壳和磁盘之间。它有两层,磁盘位于其间。磁盘有一个带有金属盘毂的中心孔。6—般要求
6.1环境和运输
6.1.1测试环境
为了验证软磁盘是否符合本标准的要求,应在下列条件下进行测试和测量:温度:23±2℃;
相对湿度:40%~60%;
测试前的适应:最少24h。
对于9.3条中规定的测试,温度和相对湿度的测量应在最接近软盘驱动器的周围空气中进行。对于所有的其他的测试,温度和相对湿度的测量应在最接近软磁盘的周围空气中进行。磁盘表面任一点的杂散磁场强度,包括记录磁头的集磁效应而导致的杂散磁场强度不应超过4000A/m。
6.1.2使用环境
数据交换用的软磁盘应在下列条件下使用:温度:10~51.5℃;
b.相对湿度:20%~80%;
湿球温度:低于29℃。
温度和相对湿度的测量应在最接近软磁盘的周围空气中进行。建议温度的变化率不要超过20℃/h,读出时的温度和相对湿度条件不应超过记录时的环境条件。在软磁盘上或其内部不得附着水份。磁盘表面任一点的杂散磁场强度,包括记录磁头的集磁效应而导致的杂散磁场强度不应超过4000A/m.
6.1.3存放环境
在存放期间,软磁盘应保持在下列条件:班、温度:4~53℃;
b. 相对湿度;8%~90%。
在软磁盘上或其内部不得附着水份。周围的杂散磁场强度,不应超过4000A/m。注:软磁盘存放的温度和湿度超出使用环境时,其性能可能有所降低。6.1.4运输
发货人要负责采取措施,保证软磁盘在运输期间不受损伤。软磁盘应放在保护性的封装中,避免灰尘和外来物质的侵入。建议软磁盘和外层包装箱的外表面之间要有足够的间隔,使各种杂散磁场对磁盘的损害小到忽略不计。
建议不要超出如下的条件:
温度:—40~60℃;
最大温度变化率:20℃/h;
相对湿度:8%~90%。
GB/T 15130.1-—94
在软磁盘上或其内部不得附着水份。6.2材料
6.2.1罩壳
罩壳可以用任何合适的材料制成,应满足附录A(补充件)的要求。6.2.2里衬
里衬材料应能阻挡灰尘或碎屑,又不损伤磁盘。6.2.3磁盘
磁盘可由表面涂有磁性材料的任何合适的材料(如双向拉伸聚对苯二甲酸乙二脂)制成。6.2.4盘毂
盘毂可由任何合适的材料(如按照ISO683—13要求的8型不锈钢)制成。7结构尺寸
软磁盘的尺寸以X轴和丫轴为基准,它们是在第一定位孔中心相交成直角的两条直线。它们限定的平面是软磁盘的基准面XY。
7.1罩壳
7.1.1形状(见图 1)
罩壳呈矩形,其边长为:
t=94.0±0.3mm
2= 90. 0+:1mm
其四角中三个角的半径应为:
r=2.0±1.0mm
第四角的角度应为:
w45°±2°
7.1.2厚度(见图2)
从图2所示的两边分别向内扩展8.5mm的范围内,罩壳厚度应为:e13.3±0.2mm
当软磁盘按照附录D(补充件)的规定插入检测块规时,在对边施加不超过0.2N的力,应使软磁盘通过块规。
棱角的半径应为:
rz=0.40±0.25mm
7.1.3盘毂进出孔(见图1)
在0面应有一盘毂进出孔,其直径应为:dimin =26. 50mm
进出孔的中心位置由和l确定:
13=40.00±0.15mm
l.=31.00±0.15mm
7.1.4定位孔(见图1和图3)
7.1.4.1第一定位孔
第一定位孔的中心应在基准轴X和Y的交线上,其直径应为:d2-3.6±0.1mm
其剖面(见图1A-A剖面)尺寸应为:d 3min = 1. 5mm
l: 0.2±0. 1mm
Igmin =1. Omm
l1omin =- 2. 5mm
7.1.4.2第二定位孔
GB/T 15130.1--94
第二定位孔的中心应在基准轴X上,距基准轴Y的距离应为:l,-80.0±0.2mm
第二定位孔基本上呈矩形,其短轴应为(见图1B-B剖视面):l,=3.6±0.1mm
其长轴应为:l,=4.4±0.2mm
第二定位孔的剖面尺寸d3、g、lg、在7.1.4.1条t观定。7.1.5标签区
7.1.5.10面(见图1)
0面标签区的位置和尺寸应为:
lmin3.5mm
Z12max = 76. 5mm
l14min =60, Omm
7.1.5.21面(见图2)
1面标签区的位置和尺寸应为:
l1imin - 3. 5mm
l12mx=76.5mm
l13min =20. 0mm
7.1.6磁头窗口(见图3)
两个磁头窗口的位置和尺寸由同一组尺寸确定。7.1.6.1位置
磁头窗口的位置由115、116和11确定:t15min =12. 3mm
Tisin -11. 5mm
l,=35.5±0.2mm
7.1.6.2 尺寸
磁头窗口的宽度应为:
l1s=9.00±0.20mm
其拐角的半径应为:
r:=0.5±0.1mm
其上边的半径应为:
ramin = 8. 85mm
7.1.7禁写孔(见图2)
7. 1. 7. 1 位置
禁写孔的中心应在基准轴Y上,距基准轴X的距离应为:lyg= 67.75±0.25mm
7.1.7.2尺寸
禁写孔的尺寸应为:
120min = 3. 5mm
121min = 4. Omm
7.1.7.3使用
GB/T 15130.1-94
禁写孔与驱动器的机械开关或光探测器联合使用,只有当此孔盖上时,才能在磁盘上写入。当拨块盖上时,不能超出基准面;在3N力的作用下,也不能低于罩壳基准面0.3mm。并且当禁写孔盖上后,用附录B(补充件)所述光学系统测量时,禁写孔区域光透射率不应超过1%。7.1.8识别孔(见图1和图2)
识别孔用来区别由GB/T15130.1和GB/T13719说明的软磁盘。注:因为在GB/T13719中,对罩壳的不透光性的要求未作规定,所以建议用机械方法识别。7.1.8.1位置
识别孔的中心位置由15和1.确定。7.1.8.2 尺寸
识别孔的尺寸应为:
l49min =3. 5mm
150min = 4. Omm
7.1.9外壳快门侧边的尺寸(见图1和图3)放置快门的罩壳侧边外形应按以下尺寸确定:122=80. 0±0. 2mm
t23 ==76. 0±0. 3mm
124=68.0±0.3mm
I2s =64.50±0.35mm
26=57.00±0.35mm
t2=55.5±0.6mm
128min=3.5mm
tzg=17.5±0.2mm
1go=17.00±0.15mm
13=15.50±0.25mm
145=12.50±0.25mm
α=45°±2°
β=135°±2°
w=45°±2°
7110快门(见图2和图3)
当软磁盘插入驱动器时,快门就应滑动从而露出磁头窗口,当软磁盘取出时,自动盖住磁头窗口。处于完全打开位置时的最大阻力应为1N,而在完全关闭位置时的最小阻力应为0.2N。快门滑动长度由125和 12g确定。快门处于打开位置时,从其前沿到基准轴Y的距离应为:132=53.75±1.25mm
快门窗口的宽度应为:
133=12.0±0.2mm
注:要求驱动器应备有一机械装置,该装置在软磁盘准确地插入驱动器时,使快门滑动露出磁头窗口。7.2里衬
里衬向磁头窗口的露出量不能超出0.2mm。7.3磁盘(见图4)
7.3.1直径
磁盘的直径应为:
d,=85.8±0.2mm
7.3.2厚度
磁盘的厚度应为:
e2=0.080±0.008mm
7.4盘毂(见图4)
GB/T 15130. 1--94
盘毂中心部分应为一个凸起的圆盘。7.4.1尺寸
中心部分的直径应为:
d,=25. 00±8: 9mm
盘毂的直径应为:
dsm =31. 15mm
在半径r,测量时,从盘毂中心部分的表面到磁盘0面的表面的距离应为:l34=1.36±0.10mm
r7nom =14mm
7.4.2盘毂取向孔(见图4)
盘毂有两个取向孔,第一个在盘毂中心,第二个离开中心。7.4.2.1第一取向孔
第一取向孔呈方形,它由1s确定:135min =4. 00mm
从孔的两边测量时,盘的旋转中心由136确定:13s=1.9955mm
此旋转中心应在盘的几何中心的0.5mm以内。该孔四内角的半径应为:
rs=1.0±0.3mm
7.4.2.2第二取向孔
第二取向孔为矩形,各边的位置和尺寸以互相垂直的径向线A和B确定。A和B的位置由丫确定:15°±3°
该孔的边长应为:
13z8.0±0.3mm
138min = 4.5mm
各边应分别平行于A线和B线,其距离为:l3g-2.0±0.2mm
laa-10.00±0.15mm
该孔一内角的半径应为:
r.-2.0±0.1mm
其余三个内角的半径应为:
rs=1.0±0.3mm
7.5任选的装配槽(见图1和图2)罩壳允许带两个装配槽,若有两槽,则应满足下列要求:两槽的中心应平行于基准轴X,且在X轴上方的一条线上,此线与X轴的距离为:lu=7.50±0.15mm
两者尺寸应为:
lazmin - 3. Omm
143=4.2±0.2mm
两者低于基准平面的深度应为:144min =2. Omm
GB/T 15130.1--94
7.6软磁盘与驱动器间的接触面(见图5)当软磁盘插入驱动器时,驱动器的主轴嵌入软磁盘,如图5所示。盘毂借助磁性吸引力紧贴在驱动器主轴上。当处于此种位置时,0面上盘毂的表面与XY面间的距离应为:l46nom =0. 3mm
除1s和14s确定的环形区域外,罩壳1面里面的尺寸应为:e31.3±0.1mm
l4z=22.6mm
1421.7±0.2mm
dmin=7.0mm
环形区域的厚度应为:
4max—2.5mm
为确保磁盘的圆周不要碰到罩壳内侧边,lA应是足够大。上面规定的14的值是建议值,所以它是没有公差的。
7.7—致性
当以附录A(补充件)中规定的方法检测软磁盘时,软磁盘应与柱P1至P4接触。8物理性能
8.1可燃性
制作软磁盘里衬、罩壳的材料,如果用火柴点燃,它不应在静止的二氧化碳气氨中继续燃烧。8.2磁盘的线性热膨胀系数
磁盘的热膨胀系数应为(17士8)×10-\/℃。8.3磁盘的线性湿膨胀系数
磁盘的湿膨胀系数应为(0~15))×10-6/%RH。8.4转矩
8.4.1起动转矩
在磁头未加载到磁盘上时,起动转矩不应超过0.006Nm。8.4.2没有磁头加载时的运行转矩当软磁盘以300士3r/min速度运转时,转动磁盘必需的转矩应在0.0005~0.0025N·m范围内。9磁性能
9.1记录区
在每一面上,由42.0mmmin和20.6mmmax两个半径确定的记录区内,规定的磁性能应是一样的。
9.2磁道的几何参数
9.2.1磁道数
在磁盘每面记录区内应有80条分离的同心圆磁道。相邻磁道中心线之间的距离应为0.1875mm。9.2.2磁道宽度
记录磁道宽度应为:0.115士0.008mm在附录C(补充件)中给出了测量有效磁道宽度的方法。397
9.2.3磁道位置
9.2.3.1公称位置
GB/T 15130.1-94
所有磁道中心线半径R,(mm)公称值应使用下式计算:R.=x—0.1875n
式中:n——是磁道序号,n=00~79;对0面:x=39.5000mm;
对1面:z=38.0000mm。
9.2.3.2磁道位置公差
在测试环境下(见6.1.1条)测量时,已记录的磁道中心线应在公称位置的士0.020mm以内。9.2.3.3读写磁头的存取线
读写磁头的存取线是平行于径向线并与其相距0.35mm(见GB/T15130.2的4.3条)。9.2.4磁道序号
磁道序号用两位十进制数字(每一面00~79表示),从最外磁道00开始向内顺序编号。9.3功能测试
9.3.1测试条件bzxZ.net
驱动器单元:对被测双面软磁盘和RM9529(或三级基准软磁盘,见4.7条),读写操作应采用同驱动器。
转速:300±3r/min
测试频率:1f=250000±250ftps;2f=500000±500ftps。
每种性能的测试都使用所规定的频率。记录电流:被测面的测试记录电流。记录和读出条件:接触式。
测试范围:在磁盘的两面上进行。校正系数:用RM9529测试得到的值以RM9529提供的校准系数校正(若用三级基准软磁盘测试时,则以该盘的校准系数校正)。9.3.2表面测试
磁性能由下面给出的测试要求确定。9.3.2.1典型磁场强度
测试时磁盘的典型磁场强度应在基准磁场强度的土20%以内。在00磁道上使用1f的频率进行测量。
9.3.2.2平均信号幅度
用1f在00磁道上和用2f在79磁道上记录,然后读出,并与在相同条件下记录的RM9529进行比较。
在00磁道上平均信号幅度应小于标准基准幅度SRA1f的130%;在79磁道上平均信号幅度应大于标准基准幅度SRA2f的80%。9.3.2.3分辨率
在79磁道上记录后,其比值:
2f的平均信号幅度
if的平均信号幅度
应大于主标准基准软磁盘相同比值的80%。398
9.3.2.4峰值漂移
GB/T 15130.1-94
在测试时,用附录E(补充件)规定的方法在软磁盘上测得的平均峰值漂移应在主标准基准软磁盘的63%~137%范围以内。在79磁道进行峰值漂移的测试。9.3.2.5重写
当按照附录F(补充件)方法测量时,其比值:2f重写后的1f残余平均信号幅度1f起始记录后的平均信号幅度
应小于主标准基准软磁盘相同比值的125%。9.3.2.6调制
调制应为:
最大平均值一最小平均值、
最平均值十最小平均值
最大平均值是具有最大幅度的那一部分磁道的调幅输出电压的平均值,最小平均值是具有最小幅度的那一部分磁道的调幅输出电压的平均值。输出电压应测量峰一峰值。应在大约2000个连续磁通翻转上取平均值,
在00磁道上用1f记录和在79磁道上用2f记录,其调制应小于10%。9.3.3磁道质量测试
在规定位置的80条磁道上全部进行这种测试。9.3.3.1漏脉冲
以2f写一条磁道,并测量平均信号幅度。当测量基峰值时,任何读出信号小于该磁道上测得的平均信号幅度一半的45%即为漏脉冲。9.3.3.2冒脉冲
以2f写一条磁道,并测量平均信号幅度。用等效于测试记录电流的恒定直流抹一周。当测量基一峰值时,任何读出信号超出被测磁道2f平均信号幅度一半的20%即为冒脉冲。9.3.4拒收准则
9.3.4.1缺陷磁道
连续检测时,在磁道的相同位置上检测出~个或多个漏脉冲和(或)冒脉冲,该磁道即是一条缺陷磁道。连续检测的次数应由供需双方确定。9.3.4.2对磁道的要求
从供方最初得到的软磁盘应没有缺陷磁道。9.3.4.3拒收准则
不符合9.3.4.2条要求的软磁盘应予拒收。399
小提示:此标准内容仅展示完整标准里的部分截取内容,若需要完整标准请到上方自行免费下载完整标准文档。
GB/T13703信息处理信息交换用软磁盘盘卷和文卷结构GB/T13719信息处理数据交换用90mm改进调频制记录的位密度为7958磁通翻转/弧度、每面80条磁道的软磁盘第一部分:尺寸、物理性能和磁性能4术语
本标准采用下述术语:
4.1 记录磁盘 recording disk
它是一种在特定的一面或两面上接受并保持磁信号的部件,在信息数据处理及有关系统中用于输入/输出和存储信息。
4.2盘毂hub
它是装在盘的中心,带动磁盘转动,起中心定位和基准作用的部件。它确保软磁盘中心以特定的角度在驱动器转轴上定位。
4.3 快门 shutter
它是磁盘插入驱动器时就露出磁头窗口,磁盘取出时就自动遮盖磁头窗口的部件。4.4里衬liner
位于罩壳和磁盘之间起清洁和防止磨损作用的一种合适的材料。4.5罩壳case
它是一个保护性外壳,包括快门机构和禁写孔。4.6 主标准基准软磁盘 master standard reference flexible disk cartridge选来作为定标基准磁场、信号幅度、分辨率、峰值漂移和重写的基准软磁盘。把两面上的00磁道和79磁道定为基准磁道。
在300r/min转速下定标基准磁道。注:由联邦德国不伦瑞克市D-3300本德萨利街100号物理技术研究院(PTB)制定了主标准。4. 7 二级标准基准软磁盘 secondary standard reference flexible disk cartridge其特性是已知的,并已标明相对于主基准软磁盘的特性。注:能够从PTB1.41实验室获得编号为 RM 9529的二级基准软磁盘。用它进一步校准三级基准软磁盘,4.8典型磁场强度typical field在指定磁道以指定的磁通翻转密度记录时,在平均信号幅度对记录磁场强度的曲线上,所产生的平均信号输出幅度等于最大平均信号幅度的95%时的最小磁场强度。4.9基准磁场强度reference field主标准基准软磁盘的典型磁场强度。有两个基准磁场强度,每面一个。4.10测试记录电流test recording current在00磁道上以1f测试频率产生基准磁场强度所需电流的148%~152%的电流。有两个测试记录电流,每面一个。
4.11 标准基准幅度standard reference amplitude用测试记录电流从主标准基准软磁盘的基准磁道上得到的平均信号幅度(SRA)。有四个SRA,每面有两个。
SRAu是用测试频率1f在00磁道记录时得到的平均信号幅度。SRA2t是用测试频率2f在79磁道记录时得到的平均信号幅度。4.12平均信号幅度average signal amplitude整条磁道上所测得的峰一峰输出电压的算术平均值。4.13接触式in-contact
操作时,磁盘磁表面与磁头处于实际的接触状态。388
4.14面side
GB/T 15130.1--94
嵌入心轴的一面是0面,另一面则是1面。4.15旋转方向direction of rotation往0面看,旋转方向应是逆时针的。4.16
索引index
磁道上确定该磁道开始和终止的点。存取线line of access
由读写磁头缝隙中心描述的直线,事实上是从00磁道到79磁道的一条直线。4.18 格式化 farmatting
在软磁盘表面上写入特有的控制信息,以此确定物理磁道和实际记录的地址。4.19初始化initialization
在进行一般性处理之前,在软磁盘上写入最初需要的信息,例如,盘卷标号。5一般说明
5.1总图
图10面
在图中含有:
图1为0面和两个定位孔的放大的剖视图;图2为1面;
图3详细地表示去掉快门后的0面的上半部;389
图4为带有盘毂的磁盘;
GB/T15130.1—94
图5为软磁盘和驱动器之间的接触面。图21面
图30面
5.2主要组成部分
疑转方向
软磁盘的主要组成部分为:
记录磁盘;
GB/T 15130. 1--94
图4带有盘毂的磁盘
图5磁盘与驱动器的接触面
里衬;
翼壳。
5.3说明
GB/T 15130.194
罩壳基本上是正方形。在一面有一个中心孔,在两面各有一个磁头窗口、禁写孔和一个识别孔。里衬固定在罩壳和磁盘之间。它有两层,磁盘位于其间。磁盘有一个带有金属盘毂的中心孔。6—般要求
6.1环境和运输
6.1.1测试环境
为了验证软磁盘是否符合本标准的要求,应在下列条件下进行测试和测量:温度:23±2℃;
相对湿度:40%~60%;
测试前的适应:最少24h。
对于9.3条中规定的测试,温度和相对湿度的测量应在最接近软盘驱动器的周围空气中进行。对于所有的其他的测试,温度和相对湿度的测量应在最接近软磁盘的周围空气中进行。磁盘表面任一点的杂散磁场强度,包括记录磁头的集磁效应而导致的杂散磁场强度不应超过4000A/m。
6.1.2使用环境
数据交换用的软磁盘应在下列条件下使用:温度:10~51.5℃;
b.相对湿度:20%~80%;
湿球温度:低于29℃。
温度和相对湿度的测量应在最接近软磁盘的周围空气中进行。建议温度的变化率不要超过20℃/h,读出时的温度和相对湿度条件不应超过记录时的环境条件。在软磁盘上或其内部不得附着水份。磁盘表面任一点的杂散磁场强度,包括记录磁头的集磁效应而导致的杂散磁场强度不应超过4000A/m.
6.1.3存放环境
在存放期间,软磁盘应保持在下列条件:班、温度:4~53℃;
b. 相对湿度;8%~90%。
在软磁盘上或其内部不得附着水份。周围的杂散磁场强度,不应超过4000A/m。注:软磁盘存放的温度和湿度超出使用环境时,其性能可能有所降低。6.1.4运输
发货人要负责采取措施,保证软磁盘在运输期间不受损伤。软磁盘应放在保护性的封装中,避免灰尘和外来物质的侵入。建议软磁盘和外层包装箱的外表面之间要有足够的间隔,使各种杂散磁场对磁盘的损害小到忽略不计。
建议不要超出如下的条件:
温度:—40~60℃;
最大温度变化率:20℃/h;
相对湿度:8%~90%。
GB/T 15130.1-—94
在软磁盘上或其内部不得附着水份。6.2材料
6.2.1罩壳
罩壳可以用任何合适的材料制成,应满足附录A(补充件)的要求。6.2.2里衬
里衬材料应能阻挡灰尘或碎屑,又不损伤磁盘。6.2.3磁盘
磁盘可由表面涂有磁性材料的任何合适的材料(如双向拉伸聚对苯二甲酸乙二脂)制成。6.2.4盘毂
盘毂可由任何合适的材料(如按照ISO683—13要求的8型不锈钢)制成。7结构尺寸
软磁盘的尺寸以X轴和丫轴为基准,它们是在第一定位孔中心相交成直角的两条直线。它们限定的平面是软磁盘的基准面XY。
7.1罩壳
7.1.1形状(见图 1)
罩壳呈矩形,其边长为:
t=94.0±0.3mm
2= 90. 0+:1mm
其四角中三个角的半径应为:
r=2.0±1.0mm
第四角的角度应为:
w45°±2°
7.1.2厚度(见图2)
从图2所示的两边分别向内扩展8.5mm的范围内,罩壳厚度应为:e13.3±0.2mm
当软磁盘按照附录D(补充件)的规定插入检测块规时,在对边施加不超过0.2N的力,应使软磁盘通过块规。
棱角的半径应为:
rz=0.40±0.25mm
7.1.3盘毂进出孔(见图1)
在0面应有一盘毂进出孔,其直径应为:dimin =26. 50mm
进出孔的中心位置由和l确定:
13=40.00±0.15mm
l.=31.00±0.15mm
7.1.4定位孔(见图1和图3)
7.1.4.1第一定位孔
第一定位孔的中心应在基准轴X和Y的交线上,其直径应为:d2-3.6±0.1mm
其剖面(见图1A-A剖面)尺寸应为:d 3min = 1. 5mm
l: 0.2±0. 1mm
Igmin =1. Omm
l1omin =- 2. 5mm
7.1.4.2第二定位孔
GB/T 15130.1--94
第二定位孔的中心应在基准轴X上,距基准轴Y的距离应为:l,-80.0±0.2mm
第二定位孔基本上呈矩形,其短轴应为(见图1B-B剖视面):l,=3.6±0.1mm
其长轴应为:l,=4.4±0.2mm
第二定位孔的剖面尺寸d3、g、lg、在7.1.4.1条t观定。7.1.5标签区
7.1.5.10面(见图1)
0面标签区的位置和尺寸应为:
lmin3.5mm
Z12max = 76. 5mm
l14min =60, Omm
7.1.5.21面(见图2)
1面标签区的位置和尺寸应为:
l1imin - 3. 5mm
l12mx=76.5mm
l13min =20. 0mm
7.1.6磁头窗口(见图3)
两个磁头窗口的位置和尺寸由同一组尺寸确定。7.1.6.1位置
磁头窗口的位置由115、116和11确定:t15min =12. 3mm
Tisin -11. 5mm
l,=35.5±0.2mm
7.1.6.2 尺寸
磁头窗口的宽度应为:
l1s=9.00±0.20mm
其拐角的半径应为:
r:=0.5±0.1mm
其上边的半径应为:
ramin = 8. 85mm
7.1.7禁写孔(见图2)
7. 1. 7. 1 位置
禁写孔的中心应在基准轴Y上,距基准轴X的距离应为:lyg= 67.75±0.25mm
7.1.7.2尺寸
禁写孔的尺寸应为:
120min = 3. 5mm
121min = 4. Omm
7.1.7.3使用
GB/T 15130.1-94
禁写孔与驱动器的机械开关或光探测器联合使用,只有当此孔盖上时,才能在磁盘上写入。当拨块盖上时,不能超出基准面;在3N力的作用下,也不能低于罩壳基准面0.3mm。并且当禁写孔盖上后,用附录B(补充件)所述光学系统测量时,禁写孔区域光透射率不应超过1%。7.1.8识别孔(见图1和图2)
识别孔用来区别由GB/T15130.1和GB/T13719说明的软磁盘。注:因为在GB/T13719中,对罩壳的不透光性的要求未作规定,所以建议用机械方法识别。7.1.8.1位置
识别孔的中心位置由15和1.确定。7.1.8.2 尺寸
识别孔的尺寸应为:
l49min =3. 5mm
150min = 4. Omm
7.1.9外壳快门侧边的尺寸(见图1和图3)放置快门的罩壳侧边外形应按以下尺寸确定:122=80. 0±0. 2mm
t23 ==76. 0±0. 3mm
124=68.0±0.3mm
I2s =64.50±0.35mm
26=57.00±0.35mm
t2=55.5±0.6mm
128min=3.5mm
tzg=17.5±0.2mm
1go=17.00±0.15mm
13=15.50±0.25mm
145=12.50±0.25mm
α=45°±2°
β=135°±2°
w=45°±2°
7110快门(见图2和图3)
当软磁盘插入驱动器时,快门就应滑动从而露出磁头窗口,当软磁盘取出时,自动盖住磁头窗口。处于完全打开位置时的最大阻力应为1N,而在完全关闭位置时的最小阻力应为0.2N。快门滑动长度由125和 12g确定。快门处于打开位置时,从其前沿到基准轴Y的距离应为:132=53.75±1.25mm
快门窗口的宽度应为:
133=12.0±0.2mm
注:要求驱动器应备有一机械装置,该装置在软磁盘准确地插入驱动器时,使快门滑动露出磁头窗口。7.2里衬
里衬向磁头窗口的露出量不能超出0.2mm。7.3磁盘(见图4)
7.3.1直径
磁盘的直径应为:
d,=85.8±0.2mm
7.3.2厚度
磁盘的厚度应为:
e2=0.080±0.008mm
7.4盘毂(见图4)
GB/T 15130. 1--94
盘毂中心部分应为一个凸起的圆盘。7.4.1尺寸
中心部分的直径应为:
d,=25. 00±8: 9mm
盘毂的直径应为:
dsm =31. 15mm
在半径r,测量时,从盘毂中心部分的表面到磁盘0面的表面的距离应为:l34=1.36±0.10mm
r7nom =14mm
7.4.2盘毂取向孔(见图4)
盘毂有两个取向孔,第一个在盘毂中心,第二个离开中心。7.4.2.1第一取向孔
第一取向孔呈方形,它由1s确定:135min =4. 00mm
从孔的两边测量时,盘的旋转中心由136确定:13s=1.9955mm
此旋转中心应在盘的几何中心的0.5mm以内。该孔四内角的半径应为:
rs=1.0±0.3mm
7.4.2.2第二取向孔
第二取向孔为矩形,各边的位置和尺寸以互相垂直的径向线A和B确定。A和B的位置由丫确定:15°±3°
该孔的边长应为:
13z8.0±0.3mm
138min = 4.5mm
各边应分别平行于A线和B线,其距离为:l3g-2.0±0.2mm
laa-10.00±0.15mm
该孔一内角的半径应为:
r.-2.0±0.1mm
其余三个内角的半径应为:
rs=1.0±0.3mm
7.5任选的装配槽(见图1和图2)罩壳允许带两个装配槽,若有两槽,则应满足下列要求:两槽的中心应平行于基准轴X,且在X轴上方的一条线上,此线与X轴的距离为:lu=7.50±0.15mm
两者尺寸应为:
lazmin - 3. Omm
143=4.2±0.2mm
两者低于基准平面的深度应为:144min =2. Omm
GB/T 15130.1--94
7.6软磁盘与驱动器间的接触面(见图5)当软磁盘插入驱动器时,驱动器的主轴嵌入软磁盘,如图5所示。盘毂借助磁性吸引力紧贴在驱动器主轴上。当处于此种位置时,0面上盘毂的表面与XY面间的距离应为:l46nom =0. 3mm
除1s和14s确定的环形区域外,罩壳1面里面的尺寸应为:e31.3±0.1mm
l4z=22.6mm
1421.7±0.2mm
dmin=7.0mm
环形区域的厚度应为:
4max—2.5mm
为确保磁盘的圆周不要碰到罩壳内侧边,lA应是足够大。上面规定的14的值是建议值,所以它是没有公差的。
7.7—致性
当以附录A(补充件)中规定的方法检测软磁盘时,软磁盘应与柱P1至P4接触。8物理性能
8.1可燃性
制作软磁盘里衬、罩壳的材料,如果用火柴点燃,它不应在静止的二氧化碳气氨中继续燃烧。8.2磁盘的线性热膨胀系数
磁盘的热膨胀系数应为(17士8)×10-\/℃。8.3磁盘的线性湿膨胀系数
磁盘的湿膨胀系数应为(0~15))×10-6/%RH。8.4转矩
8.4.1起动转矩
在磁头未加载到磁盘上时,起动转矩不应超过0.006Nm。8.4.2没有磁头加载时的运行转矩当软磁盘以300士3r/min速度运转时,转动磁盘必需的转矩应在0.0005~0.0025N·m范围内。9磁性能
9.1记录区
在每一面上,由42.0mmmin和20.6mmmax两个半径确定的记录区内,规定的磁性能应是一样的。
9.2磁道的几何参数
9.2.1磁道数
在磁盘每面记录区内应有80条分离的同心圆磁道。相邻磁道中心线之间的距离应为0.1875mm。9.2.2磁道宽度
记录磁道宽度应为:0.115士0.008mm在附录C(补充件)中给出了测量有效磁道宽度的方法。397
9.2.3磁道位置
9.2.3.1公称位置
GB/T 15130.1-94
所有磁道中心线半径R,(mm)公称值应使用下式计算:R.=x—0.1875n
式中:n——是磁道序号,n=00~79;对0面:x=39.5000mm;
对1面:z=38.0000mm。
9.2.3.2磁道位置公差
在测试环境下(见6.1.1条)测量时,已记录的磁道中心线应在公称位置的士0.020mm以内。9.2.3.3读写磁头的存取线
读写磁头的存取线是平行于径向线并与其相距0.35mm(见GB/T15130.2的4.3条)。9.2.4磁道序号
磁道序号用两位十进制数字(每一面00~79表示),从最外磁道00开始向内顺序编号。9.3功能测试
9.3.1测试条件bzxZ.net
驱动器单元:对被测双面软磁盘和RM9529(或三级基准软磁盘,见4.7条),读写操作应采用同驱动器。
转速:300±3r/min
测试频率:1f=250000±250ftps;2f=500000±500ftps。
每种性能的测试都使用所规定的频率。记录电流:被测面的测试记录电流。记录和读出条件:接触式。
测试范围:在磁盘的两面上进行。校正系数:用RM9529测试得到的值以RM9529提供的校准系数校正(若用三级基准软磁盘测试时,则以该盘的校准系数校正)。9.3.2表面测试
磁性能由下面给出的测试要求确定。9.3.2.1典型磁场强度
测试时磁盘的典型磁场强度应在基准磁场强度的土20%以内。在00磁道上使用1f的频率进行测量。
9.3.2.2平均信号幅度
用1f在00磁道上和用2f在79磁道上记录,然后读出,并与在相同条件下记录的RM9529进行比较。
在00磁道上平均信号幅度应小于标准基准幅度SRA1f的130%;在79磁道上平均信号幅度应大于标准基准幅度SRA2f的80%。9.3.2.3分辨率
在79磁道上记录后,其比值:
2f的平均信号幅度
if的平均信号幅度
应大于主标准基准软磁盘相同比值的80%。398
9.3.2.4峰值漂移
GB/T 15130.1-94
在测试时,用附录E(补充件)规定的方法在软磁盘上测得的平均峰值漂移应在主标准基准软磁盘的63%~137%范围以内。在79磁道进行峰值漂移的测试。9.3.2.5重写
当按照附录F(补充件)方法测量时,其比值:2f重写后的1f残余平均信号幅度1f起始记录后的平均信号幅度
应小于主标准基准软磁盘相同比值的125%。9.3.2.6调制
调制应为:
最大平均值一最小平均值、
最平均值十最小平均值
最大平均值是具有最大幅度的那一部分磁道的调幅输出电压的平均值,最小平均值是具有最小幅度的那一部分磁道的调幅输出电压的平均值。输出电压应测量峰一峰值。应在大约2000个连续磁通翻转上取平均值,
在00磁道上用1f记录和在79磁道上用2f记录,其调制应小于10%。9.3.3磁道质量测试
在规定位置的80条磁道上全部进行这种测试。9.3.3.1漏脉冲
以2f写一条磁道,并测量平均信号幅度。当测量基峰值时,任何读出信号小于该磁道上测得的平均信号幅度一半的45%即为漏脉冲。9.3.3.2冒脉冲
以2f写一条磁道,并测量平均信号幅度。用等效于测试记录电流的恒定直流抹一周。当测量基一峰值时,任何读出信号超出被测磁道2f平均信号幅度一半的20%即为冒脉冲。9.3.4拒收准则
9.3.4.1缺陷磁道
连续检测时,在磁道的相同位置上检测出~个或多个漏脉冲和(或)冒脉冲,该磁道即是一条缺陷磁道。连续检测的次数应由供需双方确定。9.3.4.2对磁道的要求
从供方最初得到的软磁盘应没有缺陷磁道。9.3.4.3拒收准则
不符合9.3.4.2条要求的软磁盘应予拒收。399
小提示:此标准内容仅展示完整标准里的部分截取内容,若需要完整标准请到上方自行免费下载完整标准文档。
标准图片预览:





- 热门标准
- 国家标准(GB)
- GB/T2828.1-2012 计数抽样检验程序 第1部分:按接收质量限(AQL)检索的逐批检验抽样计划
- GB/T228.1-2021 金属材料 拉伸试验 第1部分:室温试验方法
- GB/T7534-1987 工业用挥发性有机液体沸程的测定
- GB/T3836.1-2021 爆炸性环境 第1部分:设备 通用要求
- GB/T4100-2015 陶瓷砖
- GB/T10125-2021 人造气氛腐蚀试验 盐雾试验
- GB/T50772-2012 木结构工程施工规范
- GB/T30835-2014 锂离子电池用炭复合磷酸铁锂正极材料
- GB5226.1-2019 机械电气安全 机械电气设备 第1部分:通用技术条件
- GB50666-2011 混凝土结构工程施工规范
- GB/T15449-1995 管壳额定开关用场效应晶体管空白详细规范
- GB/T18204.4-2000 公共场所毛巾、床上卧具微生物检验方法细菌总数测定
- GB8552-1987 电子器件详细规范 低功率非线绕固定电阻器 RJ13型金属膜固定电阻器评定水平E(可供认证用)
- GB/T11379-2008 金属覆盖层 工程用铬电镀层
- GB50303-2015 建筑电气工程施工质量验收规范
- 行业新闻
请牢记:“bzxz.net”即是“标准下载”四个汉字汉语拼音首字母与国际顶级域名“.net”的组合。 ©2025 标准下载网 www.bzxz.net 本站邮件:bzxznet@163.com
网站备案号:湘ICP备2025141790号-2
网站备案号:湘ICP备2025141790号-2