- 您的位置:
- 标准下载网 >>
- 标准分类 >>
- 其他行业标准 >>
- QB/T 1137-1991卷门
标准号:
QB/T 1137-1991
标准名称:
卷门
标准类别:
其他行业标准
标准状态:
已作废-
发布日期:
1991-06-04 -
实施日期:
1992-01-01 -
作废日期:
2016-07-01 出版语种:
简体中文下载格式:
.pdf .zip下载大小:
3.51 MB
替代情况:
被QB/T 1137-2016代替;强制性转化为推荐性标准;公告:中华人民共和国工业和信息化部公告 2017年(第11号)采标情况:
JIS A4704-75 NEQ
点击下载
部分标准内容:
中华人民共和国行业标准
QB1137—91
1991—06—04发布
1992-—01—01实施
中华人民共和国轻工业部 发布
生题内容与适用范围
中华人民共和国行业标准
QB1137-91
本标准规定了卷门(卷帘门)的分类、技术要求、试验方法、检验规则及标志、包装、运输和贮存。
本标准适用于工厂、商店、仓库等建筑物使用的卷门或卷窗。2
引用标准
GB5824
GB1804
GB3525
GB5933
GB5938
GB5944
GB1720
CB5945
GB2828
GB2829
3产品分类
3.1品种
建筑门窗洞口尺寸系列
公差与配合未注公差极限偏差
弹簧工具钢冷轧钢带
轻工产品金属镀层的结合强度测试方法轻工产品金属镀层和化学处理层的耐腐蚀试验方法中性盐雾试验(NSS)法
轻工产品金属镀层腐蚀试验结果的评价漆膜附着力测定方法
轻工彦品金属及铝合金氧化处理层的测试方法逐批检查计数抽样程序及抽样表周期检查计数抽样程序及抽样表3.1.1按帘片的形状分
板状代号A(见图1)。
中华人民共和国轻工业部1991—06—04批准1992-01—01实施
代号B(见图2)
c,网状代号C(冕图3)
d.管状代号D(见图4)
QB1137--91
3.1.2按启闭形式分
QB1137—91
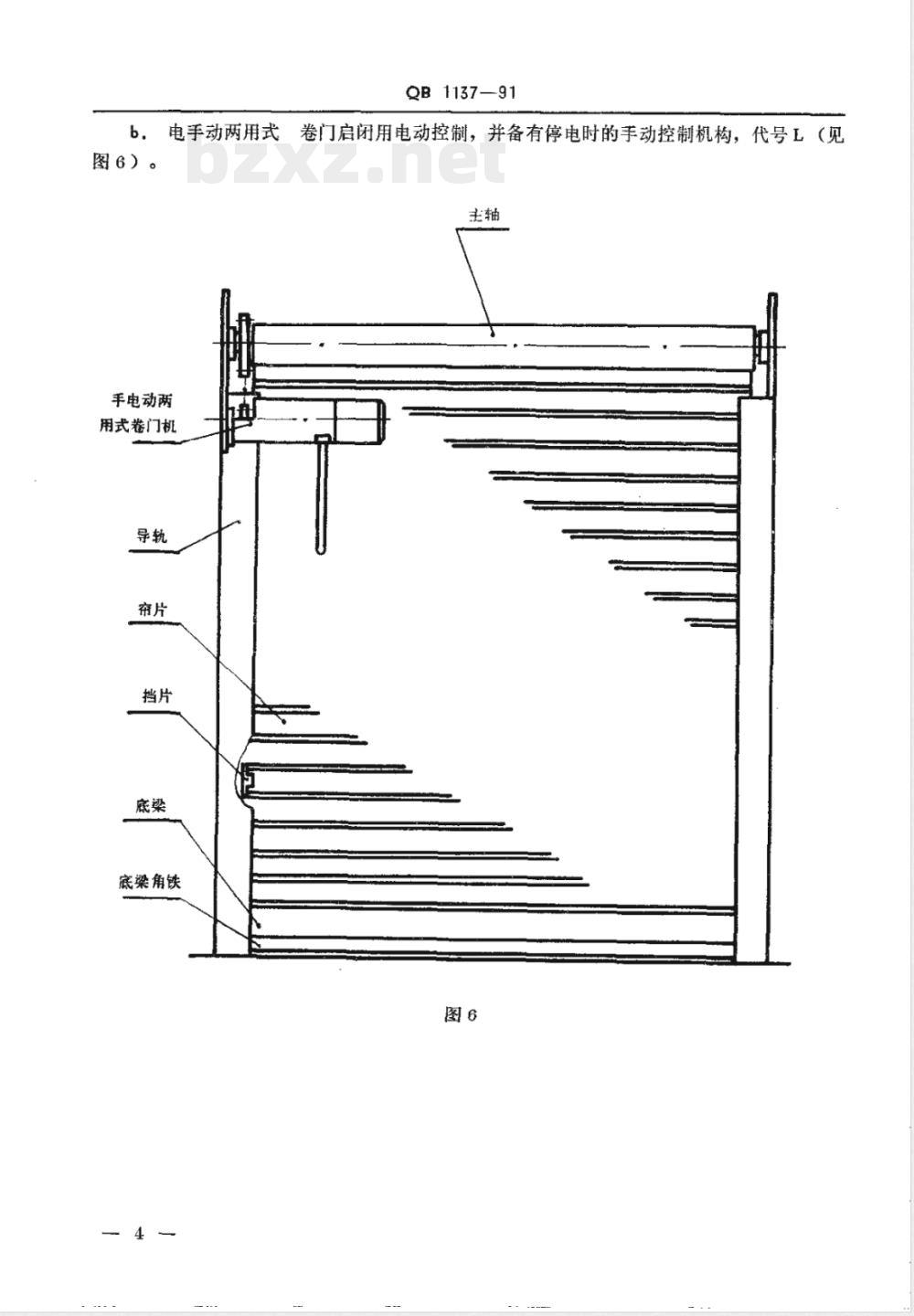
。手动式卷门启闭用手动控制,代号S(见图5)。中柱
启闲器
底梁角铁
b。电手动两用式
图6)。
手电动两
用式卷门机
底梁角铁
QB1137—91
卷门启闭用电动控制,并备有停电时的手动控制机构,代号L(见主轴
QB 1137—91
电动式卷门启闭用电动控制,代号D(见图了)生轴
3.1.3按帘片的材质分
普通碳素钢代号P
铝及铝合金
代号L
.代号Gt
不锈耐酸钢
按安装形式分(见图8)
外装门代号W
内装门
代号N
中装门
代号z
电动卷门机
底梁角铁
产品结构及主要构件名称手动卷门(图5),电手动卷门(图6),电动卷门(图7)。3.2
卷门宽
门洞宽
外装门
QB1137—91
门洞宽
卷门宽
中装门
3.3规格卷门宽L(包括两导轨的外形总宽)门洞宽
卷门宽
b内装门
外、内装门L=洞口宽尺寸+两导轨宽度+20mm;中装门=洞口宽尺寸十两导轨在墙体中的嵌入量。卷门高H(门帘总高):
外、内装门Hmin=洞口高尺寸+300mm;中装门 Hmin=洞口高尺寸。
注:①
洞口尺寸按GB5824建筑门窗洞口尺寸系列。②如有特殊规格由需方与制造厂家协商生产。3.4产品代号
门洞高度
门洞宽度
安装形
启闭形式
帘片形式
标记示例:
例1门洞宽度为3000mm,门洞高度为3000mm的外装铝合金手动板状卷门。卷门 JM--ASLW3030 QB 1137-91QB 1137-91
例2门洞宽度为3600mm,门洞高度为4200mm的内装普碳钢电手动片状卷门。卷门 JM--BLPN3642 QB 1137--914技术要求
4.1弹簧钢带的力学性能应不低于GB3525《弹簧工具钢冷轧钢带》中65Mn冷硬钢带的力学性能。
4.2精度
4.2.1主要构件的精度
4.2.1.1卷门宽、高按3.3条规定。4.2.1.2导轨和中柱的开口宽度与帘片厚度之差不得大于15mm。4.2.2安装精度
4.2.2.主轴安装水平位置高低偏差,当门宽8m以下时(包括8m),不得大于8mm;门宽3m以上时,不得大于5mm。
4.2.2.2导轨与中柱安装后,两导轨对中柱的平行度偏差不得大于5mm,导轨与中柱对水平面垂直度偏差不得大于5mm。
4.2.2.3安装后卷门的帘片在导轨槽中的嵌人量应不少于20mm(包括挡片)。4.2.2.4卷门关闭后,底梁下平面与水平面的倾斜度不得大于10mm。4.2:2.5安装后的卷门关闭锁,其锁舌插入锁扣内的长度应不小于10mm。4.2.3尺寸精度未注公差尺寸的极限偏差按GB1804中孔采用H15,轴采用h.15,长度采用±1/2IT15。
4.3性能
4.3.1卷门机使用寿命不得少于4000次。4.3.2.启闭性能
4.3.2.1手动卷门启闭须轻便灵活,运行过程中不得有阻滞现象,门帘总质量70kg以下的卷门,启闭力不得大于117N。
4.3.2.2电动卷门启闭须顺畅平稳。卷门机的提升扭矩必须大于卷门启闭最大扭矩的1.5倍,并且限位准确,制动可靠,其限位误差须控制在20mm以内,在额定载荷时的制动滑行距离不得大于20mm。
4.3.2.3电动卷门启闭的平均速率应在2.5~7.5m/min。4.3.3强度
4.3.3.1帘片的抗风压强度卷门帘片在承受490N/m、686N/m2风压载荷时,充许最大的中心度值见表1。且卸载后不能对使用上留下有害的变形。表1
帘片全长(m)
>4~5
>5~6
允许最大中心挠度值(mm)
QB 1137—91
4.3.3.2卷门中柱的抗风压强度必须符合表2要求。表2
凤压荷
(N/m2)
用来测量挑度
弯曲载荷
4.3.4表面镀涂层质量
中心点的挑度
弯曲破坏载荷免费标准下载网bzxz
≥6668
≥8630
载荷施加方法
集中载荷
集中载荷
4.3.4.7表面镀锌的普通碳素钢零件不得露底,脱落,耐腐蚀性能试验12h不低于8级。4.3.4.2表面喷漆的普碳钢零件,其漆膜附着力应不低于8级。4.3.4.3表面阳极氧化铝合金零件的表面氧化膜经规定的耐碱度测定后5min内不得改变颜色。
4.4联结质量
4.4.1铆接件应牢固,铆头应圆整。4.4.2焊缝应均匀平整,不得有假焊及漏焊。4.5外观质量
4.5.1外露表面应光洁,涂层不应有明显的色差、流挂、剥落、锈蚀、拉毛、压痕等影响美观的缺陷。
4.5.2卷门正常使用时,被手触摸部分不允许有有害的毛刺。5试验方法
5.1对4.1条弹簧钢带的试验,查阅材料质量证明书,当发生争议时,应对材质进行力学性能试验,成形后的钢带的测试位置为钢带的中部区域。5.2对4.2.1.1条卷门宽度、高度用钢卷尺测试。5.3对4.2.1.2条导轨中柱的开口宽度与帘片厚度之差用钢板尺测试。5.4对4.2.2.1条主轴安装水平位置的高底差用水平尺在主轴外圆中间位置进行测试。5.5对4.2.2.2条两导轨与中柱安装后的平行度用钢卷尺进行测试,测试位置为离其两端各200mm处,与水平面的垂直度用线锤及钢直尺进行测试。5.6对4.2.2.3条帘片在导轨中的最小嵌人量的测试,将帘片推至任何一方导轨底平面,用钢直尺测出帘片在另一导轨中嵌人量。5.7对4.2.2.4在底梁下平面与水平面的倾斜度用水平尺放置在底梁角铁上的中间部位进行测试。
5.8对4.2.2.5条锁舌插入锁扣内长度用钢直尺进行测试。5.9对4.2.3未注公差尺寸的极限偏差的测试用相应精度的量具按GB1804中规定进行。5.10对4.3.1条卷门机的寿命按下列方式进行测试。在模拟试验台上,以额定提升扭矩反复进行升降试验,提升高度不小于1m,并允许调整、加油两次。5.11对4.3.2.1条手动卷门启闭是否轻便灵活用手感、目测。启闭力采用测力计进行检8
QB 1137—97
测,测试位置为底梁角铁中点,检测3次取其平均值。5.12对4.3.2.2条电动卷门启闭是否顺畅平稳采用具测。卷门机的提升扭矩查阅生产厂的产品铭牌。限位误差测量,以三次下放至自动停止处的误差的平均值。制动滑行距离的试验则按下列方式进行,在模拟试验台适当位置装与制动器相联的行程开关,当模拟载荷以额定速度下降时触动行程开关,使卷门机断电,测量模拟载荷完全静止时载荷上触及行程开关的那点至行程开关触点的距离。
5,13对4.3.2.3条电动卷门的启闭平均速率用秒表进行检测,启闭三次后的测试结果取其平均值。
5.14对4.3.3.1条帘片抗风压强度测试(见图9、表3),在同一条件下制造的帘片中任取3条,截取长度=1800mm,相互啮合,两端不装挡片,外表面(受风压的法向面)朝上,两端嵌入固定导轨中,在帘片表面施加均布载荷保持10min后,测定试件中点的挠度值。
均布载荷
挑度测点
L(标准尺寸1900mm)
风压载荷(N/m2)
用来测量挠度的弯曲载荷(N)
注:h为帘片的节距单位:mm
>20mzma
中心挠度值(mm)
5.15对4.3.3.2条中柱的抗风压强度试验按下列方法进行(见图10)。在同-条件下制造的中柱中任取1根,截取长度L=1000mm,在其下面放置2根支撑棒使跨距为800mm。在试件跨距中点的位置上面加上同样的圆钢勾速施加载荷,当施加载荷达到表2所示值时测量试件中点的挠度值,继续施加载荷测量试件发生弯曲破坏时的载荷值。QB 1137-91
支撑棒
(30mm钢制圆摔)
1000mm
载荷棒(双30亩m锅制棒)
5.16对4.3.4.1条锌层的结合强度按GB5933中的划痕法进行测试,锌层抗腐蚀性能按GB5938进行检测,其评定结果按GB5944确定。5.17对4.3.4.2条漆膜附着力按GB1720进行测试和评价。5.18·对4.3.4.3条铝合金表面氧化膜抗腐蚀性能按GB5945中耐碱度滴定法进行测试。5.19对4.4条联结质量及4.5条外观质量采用手感、目测。6检验规则
6.1产品检验分出厂检验和型式检验两种。6.2出厂检验按GB2828规定进行,采用一般检查水平I,一次正常抽样方案。6.2.1产品必须经过生产厂检验部门验收合格后,方能出厂。6.2.2
检验项目,不合格类别及合格质量水平(AQL)(见表4)中全数检验项目(见表5)。
试验条款
力学性能
导轨中柱开口宽度
与帘片厚度之差
未注尺寸极限偏差
铆接质量
不合格类别
合格质量水平
小提示:此标准内容仅展示完整标准里的部分截取内容,若需要完整标准请到上方自行免费下载完整标准文档。
QB1137—91
1991—06—04发布
1992-—01—01实施
中华人民共和国轻工业部 发布
生题内容与适用范围
中华人民共和国行业标准
QB1137-91
本标准规定了卷门(卷帘门)的分类、技术要求、试验方法、检验规则及标志、包装、运输和贮存。
本标准适用于工厂、商店、仓库等建筑物使用的卷门或卷窗。2
引用标准
GB5824
GB1804
GB3525
GB5933
GB5938
GB5944
GB1720
CB5945
GB2828
GB2829
3产品分类
3.1品种
建筑门窗洞口尺寸系列
公差与配合未注公差极限偏差
弹簧工具钢冷轧钢带
轻工产品金属镀层的结合强度测试方法轻工产品金属镀层和化学处理层的耐腐蚀试验方法中性盐雾试验(NSS)法
轻工产品金属镀层腐蚀试验结果的评价漆膜附着力测定方法
轻工彦品金属及铝合金氧化处理层的测试方法逐批检查计数抽样程序及抽样表周期检查计数抽样程序及抽样表3.1.1按帘片的形状分
板状代号A(见图1)。
中华人民共和国轻工业部1991—06—04批准1992-01—01实施
代号B(见图2)
c,网状代号C(冕图3)
d.管状代号D(见图4)
QB1137--91
3.1.2按启闭形式分
QB1137—91
。手动式卷门启闭用手动控制,代号S(见图5)。中柱
启闲器
底梁角铁
b。电手动两用式
图6)。
手电动两
用式卷门机
底梁角铁
QB1137—91
卷门启闭用电动控制,并备有停电时的手动控制机构,代号L(见主轴
QB 1137—91
电动式卷门启闭用电动控制,代号D(见图了)生轴
3.1.3按帘片的材质分
普通碳素钢代号P
铝及铝合金
代号L
.代号Gt
不锈耐酸钢
按安装形式分(见图8)
外装门代号W
内装门
代号N
中装门
代号z
电动卷门机
底梁角铁
产品结构及主要构件名称手动卷门(图5),电手动卷门(图6),电动卷门(图7)。3.2
卷门宽
门洞宽
外装门
QB1137—91
门洞宽
卷门宽
中装门
3.3规格卷门宽L(包括两导轨的外形总宽)门洞宽
卷门宽
b内装门
外、内装门L=洞口宽尺寸+两导轨宽度+20mm;中装门=洞口宽尺寸十两导轨在墙体中的嵌入量。卷门高H(门帘总高):
外、内装门Hmin=洞口高尺寸+300mm;中装门 Hmin=洞口高尺寸。
注:①
洞口尺寸按GB5824建筑门窗洞口尺寸系列。②如有特殊规格由需方与制造厂家协商生产。3.4产品代号
门洞高度
门洞宽度
安装形
启闭形式
帘片形式
标记示例:
例1门洞宽度为3000mm,门洞高度为3000mm的外装铝合金手动板状卷门。卷门 JM--ASLW3030 QB 1137-91QB 1137-91
例2门洞宽度为3600mm,门洞高度为4200mm的内装普碳钢电手动片状卷门。卷门 JM--BLPN3642 QB 1137--914技术要求
4.1弹簧钢带的力学性能应不低于GB3525《弹簧工具钢冷轧钢带》中65Mn冷硬钢带的力学性能。
4.2精度
4.2.1主要构件的精度
4.2.1.1卷门宽、高按3.3条规定。4.2.1.2导轨和中柱的开口宽度与帘片厚度之差不得大于15mm。4.2.2安装精度
4.2.2.主轴安装水平位置高低偏差,当门宽8m以下时(包括8m),不得大于8mm;门宽3m以上时,不得大于5mm。
4.2.2.2导轨与中柱安装后,两导轨对中柱的平行度偏差不得大于5mm,导轨与中柱对水平面垂直度偏差不得大于5mm。
4.2.2.3安装后卷门的帘片在导轨槽中的嵌人量应不少于20mm(包括挡片)。4.2.2.4卷门关闭后,底梁下平面与水平面的倾斜度不得大于10mm。4.2:2.5安装后的卷门关闭锁,其锁舌插入锁扣内的长度应不小于10mm。4.2.3尺寸精度未注公差尺寸的极限偏差按GB1804中孔采用H15,轴采用h.15,长度采用±1/2IT15。
4.3性能
4.3.1卷门机使用寿命不得少于4000次。4.3.2.启闭性能
4.3.2.1手动卷门启闭须轻便灵活,运行过程中不得有阻滞现象,门帘总质量70kg以下的卷门,启闭力不得大于117N。
4.3.2.2电动卷门启闭须顺畅平稳。卷门机的提升扭矩必须大于卷门启闭最大扭矩的1.5倍,并且限位准确,制动可靠,其限位误差须控制在20mm以内,在额定载荷时的制动滑行距离不得大于20mm。
4.3.2.3电动卷门启闭的平均速率应在2.5~7.5m/min。4.3.3强度
4.3.3.1帘片的抗风压强度卷门帘片在承受490N/m、686N/m2风压载荷时,充许最大的中心度值见表1。且卸载后不能对使用上留下有害的变形。表1
帘片全长(m)
>4~5
>5~6
允许最大中心挠度值(mm)
QB 1137—91
4.3.3.2卷门中柱的抗风压强度必须符合表2要求。表2
凤压荷
(N/m2)
用来测量挑度
弯曲载荷
4.3.4表面镀涂层质量
中心点的挑度
弯曲破坏载荷免费标准下载网bzxz
≥6668
≥8630
载荷施加方法
集中载荷
集中载荷
4.3.4.7表面镀锌的普通碳素钢零件不得露底,脱落,耐腐蚀性能试验12h不低于8级。4.3.4.2表面喷漆的普碳钢零件,其漆膜附着力应不低于8级。4.3.4.3表面阳极氧化铝合金零件的表面氧化膜经规定的耐碱度测定后5min内不得改变颜色。
4.4联结质量
4.4.1铆接件应牢固,铆头应圆整。4.4.2焊缝应均匀平整,不得有假焊及漏焊。4.5外观质量
4.5.1外露表面应光洁,涂层不应有明显的色差、流挂、剥落、锈蚀、拉毛、压痕等影响美观的缺陷。
4.5.2卷门正常使用时,被手触摸部分不允许有有害的毛刺。5试验方法
5.1对4.1条弹簧钢带的试验,查阅材料质量证明书,当发生争议时,应对材质进行力学性能试验,成形后的钢带的测试位置为钢带的中部区域。5.2对4.2.1.1条卷门宽度、高度用钢卷尺测试。5.3对4.2.1.2条导轨中柱的开口宽度与帘片厚度之差用钢板尺测试。5.4对4.2.2.1条主轴安装水平位置的高底差用水平尺在主轴外圆中间位置进行测试。5.5对4.2.2.2条两导轨与中柱安装后的平行度用钢卷尺进行测试,测试位置为离其两端各200mm处,与水平面的垂直度用线锤及钢直尺进行测试。5.6对4.2.2.3条帘片在导轨中的最小嵌人量的测试,将帘片推至任何一方导轨底平面,用钢直尺测出帘片在另一导轨中嵌人量。5.7对4.2.2.4在底梁下平面与水平面的倾斜度用水平尺放置在底梁角铁上的中间部位进行测试。
5.8对4.2.2.5条锁舌插入锁扣内长度用钢直尺进行测试。5.9对4.2.3未注公差尺寸的极限偏差的测试用相应精度的量具按GB1804中规定进行。5.10对4.3.1条卷门机的寿命按下列方式进行测试。在模拟试验台上,以额定提升扭矩反复进行升降试验,提升高度不小于1m,并允许调整、加油两次。5.11对4.3.2.1条手动卷门启闭是否轻便灵活用手感、目测。启闭力采用测力计进行检8
QB 1137—97
测,测试位置为底梁角铁中点,检测3次取其平均值。5.12对4.3.2.2条电动卷门启闭是否顺畅平稳采用具测。卷门机的提升扭矩查阅生产厂的产品铭牌。限位误差测量,以三次下放至自动停止处的误差的平均值。制动滑行距离的试验则按下列方式进行,在模拟试验台适当位置装与制动器相联的行程开关,当模拟载荷以额定速度下降时触动行程开关,使卷门机断电,测量模拟载荷完全静止时载荷上触及行程开关的那点至行程开关触点的距离。
5,13对4.3.2.3条电动卷门的启闭平均速率用秒表进行检测,启闭三次后的测试结果取其平均值。
5.14对4.3.3.1条帘片抗风压强度测试(见图9、表3),在同一条件下制造的帘片中任取3条,截取长度=1800mm,相互啮合,两端不装挡片,外表面(受风压的法向面)朝上,两端嵌入固定导轨中,在帘片表面施加均布载荷保持10min后,测定试件中点的挠度值。
均布载荷
挑度测点
L(标准尺寸1900mm)
风压载荷(N/m2)
用来测量挠度的弯曲载荷(N)
注:h为帘片的节距单位:mm
>20mzma
中心挠度值(mm)
5.15对4.3.3.2条中柱的抗风压强度试验按下列方法进行(见图10)。在同-条件下制造的中柱中任取1根,截取长度L=1000mm,在其下面放置2根支撑棒使跨距为800mm。在试件跨距中点的位置上面加上同样的圆钢勾速施加载荷,当施加载荷达到表2所示值时测量试件中点的挠度值,继续施加载荷测量试件发生弯曲破坏时的载荷值。QB 1137-91
支撑棒
(30mm钢制圆摔)
1000mm
载荷棒(双30亩m锅制棒)
5.16对4.3.4.1条锌层的结合强度按GB5933中的划痕法进行测试,锌层抗腐蚀性能按GB5938进行检测,其评定结果按GB5944确定。5.17对4.3.4.2条漆膜附着力按GB1720进行测试和评价。5.18·对4.3.4.3条铝合金表面氧化膜抗腐蚀性能按GB5945中耐碱度滴定法进行测试。5.19对4.4条联结质量及4.5条外观质量采用手感、目测。6检验规则
6.1产品检验分出厂检验和型式检验两种。6.2出厂检验按GB2828规定进行,采用一般检查水平I,一次正常抽样方案。6.2.1产品必须经过生产厂检验部门验收合格后,方能出厂。6.2.2
检验项目,不合格类别及合格质量水平(AQL)(见表4)中全数检验项目(见表5)。
试验条款
力学性能
导轨中柱开口宽度
与帘片厚度之差
未注尺寸极限偏差
铆接质量
不合格类别
合格质量水平
小提示:此标准内容仅展示完整标准里的部分截取内容,若需要完整标准请到上方自行免费下载完整标准文档。
标准图片预览:





- 其它标准
- 热门标准
- 其他行业标准
- FZ/T61002-2019 化纤仿毛毛毯
- FZ/T62036-2017 乳胶枕、垫
- YS/T131-2010 炭素制品生产炉窑能耗限额
- JB/T4212.4-2014 内六角圆柱头螺钉冷镦模 第4部分:内六角冲头
- FZ/T54089-2016 有色锦纶6弹力丝
- FZ/T62034-2016 磁性软纱门
- FZ/T62032-2016 机织毛巾布
- FZ/T62031-2015 针织被套
- QB/T4698-2014 家用和类似用途软水机
- FZ/T92036-2017 弹簧加压摇架
- JB/T1308.11-2011 PN2500超高压阀门和管件 第11部分:内外螺套
- JB/T8982-2011 三相交流稳频稳压电源机组及系统技术条件
- T/CMAJY047-2021 加油机在线监督管理规范
- DGJ32TJ94-2010 江苏省住宅信报箱建设标准
- NB/T31048.1-2014 风力发电机用绕组线 第1部分 一般规定
- 行业新闻
请牢记:“bzxz.net”即是“标准下载”四个汉字汉语拼音首字母与国际顶级域名“.net”的组合。 ©2025 标准下载网 www.bzxz.net 本站邮件:bzxznet@163.com
网站备案号:湘ICP备2025141790号-2
网站备案号:湘ICP备2025141790号-2