- 您的位置:
- 标准下载网 >>
- 标准分类 >>
- 轻工行业标准(QB) >>
- QB/T 3900-1999 冼衣机脱水用电动机
标准号:
QB/T 3900-1999
标准名称:
冼衣机脱水用电动机
标准类别:
轻工行业标准(QB)
标准状态:
现行-
发布日期:
1999-04-21 -
实施日期:
1999-04-21 出版语种:
简体中文下载格式:
.rar.pdf下载大小:
3.15 MB
替代情况:
GB 9650-1988
点击下载
标准简介:
标准下载解压密码:www.bzxz.net
本标准规定了洗衣机脱水用电动机通用技术条件。本标准适用于洗衣机(含脱水机)离心式脱水用,结构型式为开启型、立式固定安装.冷却方式为自冷式ICOO的单相电容运转式异步电动机(以下简称电动机). QB/T 3900-1999 冼衣机脱水用电动机 QB/T3900-1999
部分标准内容:
分类号:K22
中华人民共和国轻工行业标准
QB/T3900-1999
洗衣机脱水用电动机www.bzxz.net
1999-04-21发布
国家轻工业局发布
1999-04-21实施
QB/T3900-1999
本标准是原国家标准GB9650-1988《洗衣机脱水用电动机》,经由国轻行【1999】112号文发布转化标准号为QB/T3900一1999,内容不变。本标准由国家轻工业局行业管理司提出。本标准由全国家用电器标准化中心归口。本标准由中国家用电器研究院、广州电器科学研究所负责起草。本标准主要起草人:颜秀君、黄世观。中华人民共和国轻工行业标准
洗衣机脱水用电动机
Spinextractormotorsforwashing-machines本标准规定了洗衣机脱水用电动机通用技术条件。QB/T3900-1999
本标准适用于洗衣机(含脱水机)离心式脱水用,结构型式为开启型、立式固定安装,冷却方式为自冷式ICOO的单相电容运转式异步电动机(以下简称电动机)。1容量、主要参数、结构及主要尺寸1.1容量
25W、(30W)、40W、(45W))、60W。注;括弧内为不推荐的客量规格。1.2主要参数
额定电压220V;
b.额定频率50Hz;
1500r/min。
同步转速
1.3绝缘等级E级。
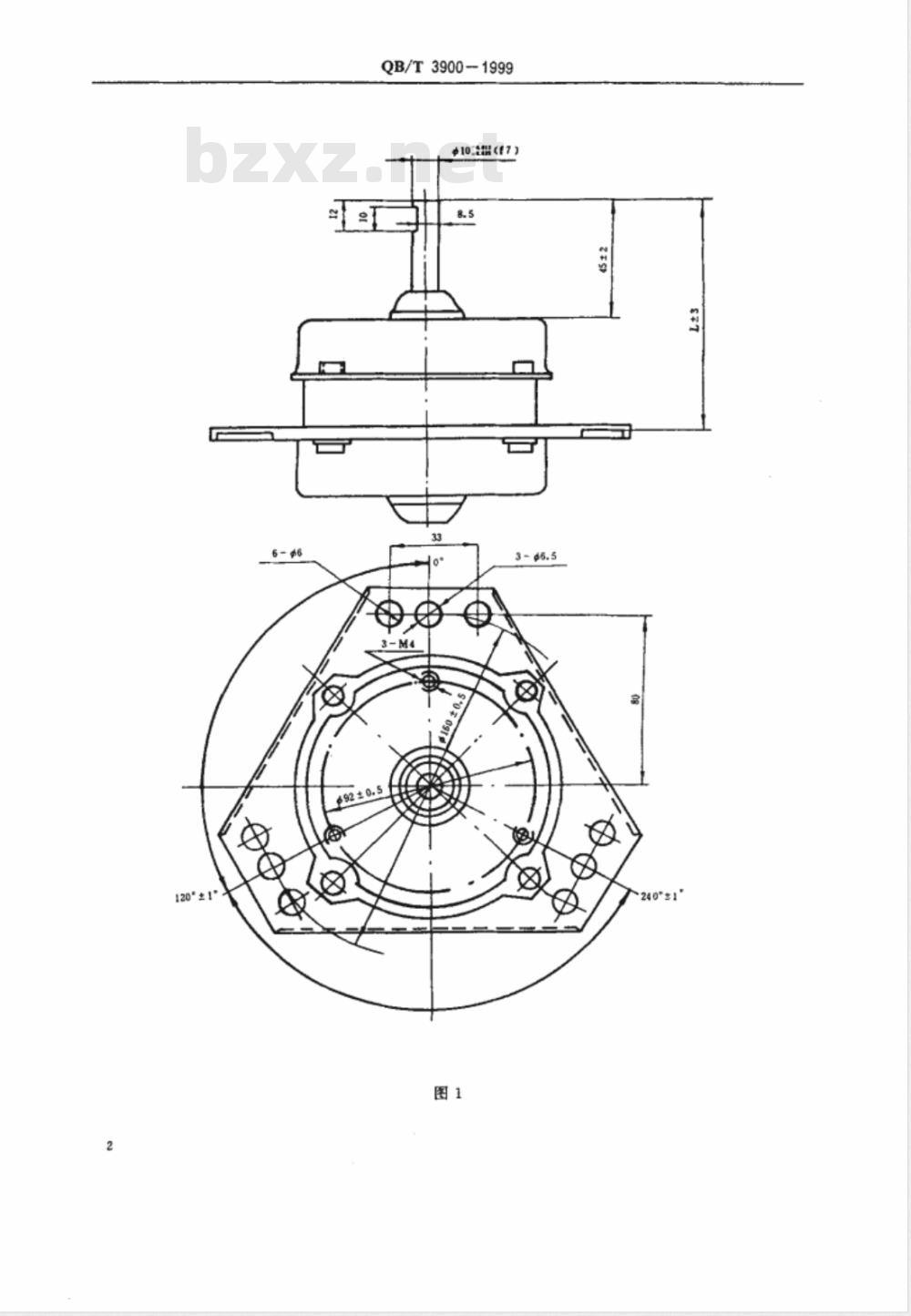
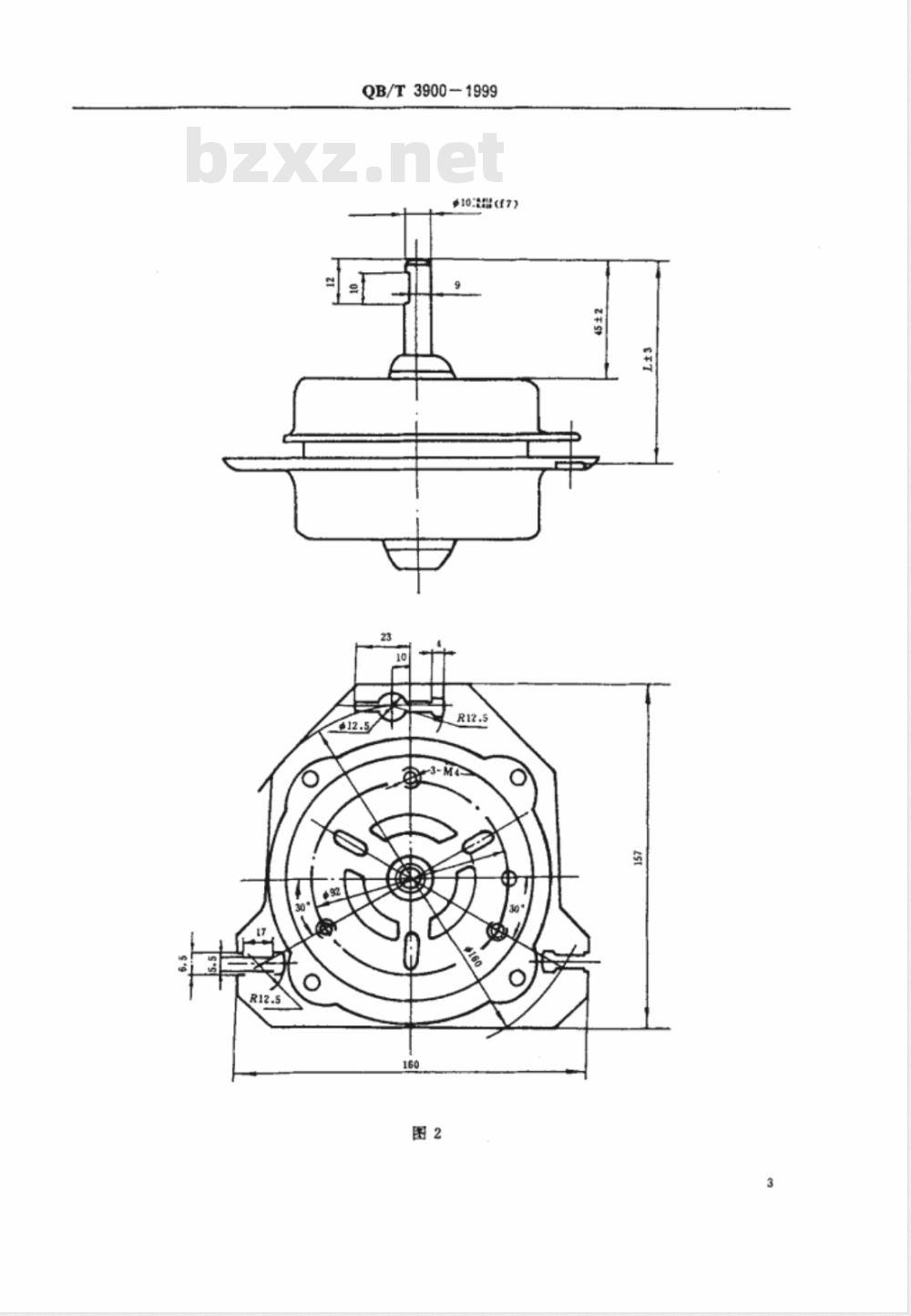
1.4电动机在额定运行时的转速不低于1280r/min。注:电动机的额定运行--一在额定电压、额定频率、额定功率和规定电容值情况下的运行,1.5结构和主要尺寸如图1、图2及表1(尺寸为推荐尺寸)的规定。国家轻工业局1999-04-21批准
1999-04-21实施
120* ±1*
QB/T3900-1999
10(f7)
QB/T3900-1999
$10:(f7)
容量,W
QB/T3900-1999
注:①轴伸端充许有凸台和无凸台两种结构。②60W轴伸直径尺寸允许例外。
2技术要求
安装尺寸L,mm
100±3
100±3
105±3
2.1电动机应符合本标准要求,并按照规定程序批准的图样及文件制造。2.2在下列海拔高度与环境条件下,电动机应按本标准所规定的额定功率及工作方式正常运转;a.
海拔不超过1000m;
环境空气温度随季节变化,变动范围0~40℃;空气相对湿度95%以下(25℃时)。注:若电动机在超过上述范围中使用时,应按GB755(电机基本技术要求》的规定修正。电压波动试验
在额定电压的110%~90%范围波动,要求电动机应能在1min内达到稳定转速。1在额定电压、额定频率下,电动机在实际冷态时的堵转转矩和堵转电流的保证值应符合表2规定。2.4
容些,W
堵转转矩,N·m
堵转电流,A
注:表2、3、4.6中60W的指标均为推荐值40
5在额定电压、额定赖率下,电动机在起动过程中最小转矩的保证值不低于表2堵转转矩值的2.5
90%。
电动机在额定运行的效率和功率因数的保证值应符合表3规定。表3
容盘,W
效率,%
功率因数
在额定电压、额定频率下,电动机最大转矩的保证值应符合表4规定。表4
容量,W
最大转矩.N·m
3电动机的电气性能保证值的容差应符合表5的规定。2.8
(45)
2.9空载低压起动
QB/T3900-1999
功率因数
堵转转矩
堵转电流
最大转矩
最小转矩
在40%额定电压下,电动机应能空载起动。2.10温升
电动机额定运行15min;
绕组温升限值(电阻法)不大于85K;滑动轴承温度(温度计法)不大于80℃;液动轴承温度(温度计法)不大于95℃。2.11电动机定子绕组对机壳的热态绝缘电阻不低于3M。2.12.耐电压试验
电动机的定子绕组对机壳应能承受历1min的耐电压试验而不发生击穿,其试验电压的频率为50Hz,波形为实际正弦波,电压有效值为1500V。在大批量生产的电动机进行检查试验时,允许用试验电压有效值1800V、历时1$试验。试验电压用试棒施加。
2.13短时升高电压试验
电动机定子绕组应能承受电压为130%额定电压、历时1min空载运转试验,而匾间绝缘不发生击穿。
2.14短时过转矩试验
电动机在温升试验后逐渐增加转矩的情况下,在电压和频率为额定值时,应能承受表6规定的过转矩试验值、历时15s,而无转速突变及发生有害变形。表6
容量,w
过转矩试验值,N·m
2.15耐久性
电动机在额定电压、额定频率下,累计周期工作时间1000h后,绝缘电阻符合本标准2.11规定,空载低压起动符合本标准2.9规定。2.16非正常运行
电动机堵转15min后,绕组绝缘电阻不低于1MQ,无着火,但允许烟、出臭味。2.17电动机在运行过程中,电容器的端电压不应超过电容器的工作电压。2.18泄漏电流应不大于0.5mA。
2.19电动机在额定电压、额定频率下,空载运转测得的噪声(A计权声功率级)值:滑动轴承不大于55dB;滚动轴承应不大于60dB。2.20电动机的轴伸长中点的径向圆跳动应不大于0.05mm。用滑动轴承的电动机轴向审动量不大于1.5mm。2.21
QB/T3900-1999
2.22电动机湿热试验后的绝缘性能应符合下列要求:a.用直流500V兆欧表测定的绝缘电阻不小于3Mα;b.电动机定子绕组对机壳应承受历时1min的耐压试验而不被击穿。试验电压频率50Hz,电压有效值为1275V,波形为实际正弦波。2.23引出线强度
用一根引出线悬吊电动机自重,持续105,其连接处无异常。2.24耐振动试验
电动机在振动台上做振动试验后,空载低压起动应符合本标准2.9条的规定;绝缘电阻应符合本标准2.11条的规定,机械检查应正常。2.25电动机表面不应有明显的斑点、裂痕、锈蚀和污物。2.26在用户按照制造厂的使用说明书正确地使用及存放电动机的情况下,制造厂有责任向用户保证电动机在三年内能正常工作,在此期间,电动机如因制造质量不良而发生损坏或不正常工作时,制造厂应免费为用户修理、更换零部件以至产品。3试验方法
3.1电动机的电气性能试验在本标准未规定之处,参照GB9651一88《单相异步电动机试验方法》进行。
3.2试验室条件
型式试验中,电容值的容差为1%,试验室的温度为20士5C,电动机的线路原理图如图3。220V
图3脱水电动机原理接线图
C-电容器;T-定时器;M--主绕组;A-副绕组3.3电动机的噪声测量按GB2806—81《电机噪声测定方法》进行。3.4电动机湿热试验按GB2422.381《电工电子产品基本环境试验规程试验Ca:恒定湿热试验方法》(温度:40土2℃,相对湿度90%~95%)进行,试验等级48h。3.5效率和功率因数的测量用直接法测定。规定在温升试验结束时进行。3.6电动机的绕组温升用电阻法测定。在额定负载下连续运行15min,停机后15s内测量,不修正。3.7泄漏电流测定
在温升试验后,外施电压升至110%额定电压下空载运行。按图4线路接线,测基电动机端盖螺钉与电源线间的泄蒲电流,也可采用在测试回路中申入定值电阻,如图5。用低量程高内阻的交流电压表测最外壳与定值电阻两端的电压降,而后用欧姆定律计算,求得泄漏电流。测量泄漏电流时,应将开关K转换至电源线的两端,分别测量求其最大的泄漏电流值。6
QB/T3900-1999
Us一额定电压;K—单刀双拂开关mA交流旁安表;R-定值电阻(1750士250n)1E-电动机端盖螺钉G一绝缘垫,C一电容器
3.8电动机在冷态时测量堵转转矩和堵转电流G
-110%,
mV交流衰伏表,其余同图4
测量方法;转子在圆周均匀分布的五点处测量堵转转矩和堵转电流.测得的堵转转矩取最小值,堵转电流取最大值。
3.9引出线强度检查
三根引线分别检查。方法:以电动机一根引线的端头为固定端,轻轻悬吊电机,静止状态持续10s。3.10空载低压起动试验
电动机按图3接线,并处于空载状态,在额定频率下施加88V电压,观察电动机轴转动状况。3.11电容器端电压的测定
电动机按图3接线,在额定电压、额定题率下,给电动机施加30%额定功率的负荷,测量电容器两端的电压。
3.12耐振动试验
电动机分别以垂直(轴伸向上)和水平位置固定于振动台上,以频率300次/min、双振幅20mm各试验20min,试验时电动机不通电。3.13非正常运行试验
电动机按图3接线,转子被堵转。施以额定电压、额定率,历时15min,断电后15s以内,立即用500V兆欧表测量定子绕组对电动机壳体的绝缘电阻。3.14耐久性试验
电动机按图3接线,并按图6方式安装于试验架上,在其轴伸端安装表7规定的圆盘(模拟负荷)。在额定电压、额定颖率下,做通电3min、断电2min的周期运转,累计1000h,试验后15$内用500V兆欧表测量定子绕组对电动机壳体的绝缘电阻,并进行低压空载起动试验。
容量,W
QB/T3900-1999
L一负载圆盘(钢)+D—被试电动机;S-刚性支架(钢)表7
25(30)
直径A,mm
重量.kg
5电压波动试验
40(45)
电动机按图3接线,按图6和表7固定圆盘(负载),分别施以额定频率,电压分别为242V和198V起动。
4检验规则
每台电动机须经检查试验后才能出广,并附有产品检查合格证。4.2
检查试验项目包括表8的内容。
注:e、f.g三项随机抽样检查、8
机械检查:
显。表面质量检查
b.电动机的装配和轴承检查
c.空蔽运转有客杂音检查
d.安装尺寸和外形尺寸检查
e,轴向率动检查
f.轴伸径向圆跳动检查
g、引出线强度检查
定子绕组在实际冷态下直流电阻的测定定子绕组对机尧的冷态绝缘电阻的测定堵转电流和堵转损耗的测定
空载电流和空载损耗的测定
定子绕组对机尧的耐压试验
短时升高电压试验
空载低电压起动试验
QB/T3900-1999
4.3凡属下列情况之一者必须进行型式试验:a.
经鉴定定型后,制造厂第一次试制或小批生产时;当设计、工艺及材料的变更足以引起某些性能参数发生变化时;已定型产品,当其检查结果和以前进行型式试验的结果发生不允许的偏差时,成批生产的电动机定期的抽试,其抽试时间间隔至少每年一次。注:耐久性试验只在、b情况下进行,4.4
电动机的型式试验项目和顾序如表9.表9
机械检查:
试验项目
a.表面质量检查
b.电动机的装配和轴承检变
安装尺寸和外形尺寸检查
d.轴向审动检查
e.轴伸径向圆既动检查
f.引出线强度检查
绕组直流电阻测定
绕组对机壳冷态绝缘电阻的测定绕组对机壳冷态耐压试验
堵转电流和堵转转矩的测定
起动过程中最小转矩的测定
温升试验
效率、功事因数的测定
电容器端电压的测定
最大转矩的测定
短时过转矩试验
短时升高电压试验
泄漏电流的测定
空载电流和空载损耗的测定
空载低压起动试验
电压波动试验
噪声测定
耐报动试验
湿热试验
非正常运行试验
耐久性试验
注:若检查试验已做过此项试验时,则型式试验可免去此项,5型式试验试样为3台。
可以在耐久性试验之前进行
单独抽样3自
小提示:此标准内容仅展示完整标准里的部分截取内容,若需要完整标准请到上方自行免费下载完整标准文档。
中华人民共和国轻工行业标准
QB/T3900-1999
洗衣机脱水用电动机www.bzxz.net
1999-04-21发布
国家轻工业局发布
1999-04-21实施
QB/T3900-1999
本标准是原国家标准GB9650-1988《洗衣机脱水用电动机》,经由国轻行【1999】112号文发布转化标准号为QB/T3900一1999,内容不变。本标准由国家轻工业局行业管理司提出。本标准由全国家用电器标准化中心归口。本标准由中国家用电器研究院、广州电器科学研究所负责起草。本标准主要起草人:颜秀君、黄世观。中华人民共和国轻工行业标准
洗衣机脱水用电动机
Spinextractormotorsforwashing-machines本标准规定了洗衣机脱水用电动机通用技术条件。QB/T3900-1999
本标准适用于洗衣机(含脱水机)离心式脱水用,结构型式为开启型、立式固定安装,冷却方式为自冷式ICOO的单相电容运转式异步电动机(以下简称电动机)。1容量、主要参数、结构及主要尺寸1.1容量
25W、(30W)、40W、(45W))、60W。注;括弧内为不推荐的客量规格。1.2主要参数
额定电压220V;
b.额定频率50Hz;
1500r/min。
同步转速
1.3绝缘等级E级。
1.4电动机在额定运行时的转速不低于1280r/min。注:电动机的额定运行--一在额定电压、额定频率、额定功率和规定电容值情况下的运行,1.5结构和主要尺寸如图1、图2及表1(尺寸为推荐尺寸)的规定。国家轻工业局1999-04-21批准
1999-04-21实施
120* ±1*
QB/T3900-1999
10(f7)
QB/T3900-1999
$10:(f7)
容量,W
QB/T3900-1999
注:①轴伸端充许有凸台和无凸台两种结构。②60W轴伸直径尺寸允许例外。
2技术要求
安装尺寸L,mm
100±3
100±3
105±3
2.1电动机应符合本标准要求,并按照规定程序批准的图样及文件制造。2.2在下列海拔高度与环境条件下,电动机应按本标准所规定的额定功率及工作方式正常运转;a.
海拔不超过1000m;
环境空气温度随季节变化,变动范围0~40℃;空气相对湿度95%以下(25℃时)。注:若电动机在超过上述范围中使用时,应按GB755(电机基本技术要求》的规定修正。电压波动试验
在额定电压的110%~90%范围波动,要求电动机应能在1min内达到稳定转速。1在额定电压、额定频率下,电动机在实际冷态时的堵转转矩和堵转电流的保证值应符合表2规定。2.4
容些,W
堵转转矩,N·m
堵转电流,A
注:表2、3、4.6中60W的指标均为推荐值40
5在额定电压、额定赖率下,电动机在起动过程中最小转矩的保证值不低于表2堵转转矩值的2.5
90%。
电动机在额定运行的效率和功率因数的保证值应符合表3规定。表3
容盘,W
效率,%
功率因数
在额定电压、额定频率下,电动机最大转矩的保证值应符合表4规定。表4
容量,W
最大转矩.N·m
3电动机的电气性能保证值的容差应符合表5的规定。2.8
(45)
2.9空载低压起动
QB/T3900-1999
功率因数
堵转转矩
堵转电流
最大转矩
最小转矩
在40%额定电压下,电动机应能空载起动。2.10温升
电动机额定运行15min;
绕组温升限值(电阻法)不大于85K;滑动轴承温度(温度计法)不大于80℃;液动轴承温度(温度计法)不大于95℃。2.11电动机定子绕组对机壳的热态绝缘电阻不低于3M。2.12.耐电压试验
电动机的定子绕组对机壳应能承受历1min的耐电压试验而不发生击穿,其试验电压的频率为50Hz,波形为实际正弦波,电压有效值为1500V。在大批量生产的电动机进行检查试验时,允许用试验电压有效值1800V、历时1$试验。试验电压用试棒施加。
2.13短时升高电压试验
电动机定子绕组应能承受电压为130%额定电压、历时1min空载运转试验,而匾间绝缘不发生击穿。
2.14短时过转矩试验
电动机在温升试验后逐渐增加转矩的情况下,在电压和频率为额定值时,应能承受表6规定的过转矩试验值、历时15s,而无转速突变及发生有害变形。表6
容量,w
过转矩试验值,N·m
2.15耐久性
电动机在额定电压、额定频率下,累计周期工作时间1000h后,绝缘电阻符合本标准2.11规定,空载低压起动符合本标准2.9规定。2.16非正常运行
电动机堵转15min后,绕组绝缘电阻不低于1MQ,无着火,但允许烟、出臭味。2.17电动机在运行过程中,电容器的端电压不应超过电容器的工作电压。2.18泄漏电流应不大于0.5mA。
2.19电动机在额定电压、额定频率下,空载运转测得的噪声(A计权声功率级)值:滑动轴承不大于55dB;滚动轴承应不大于60dB。2.20电动机的轴伸长中点的径向圆跳动应不大于0.05mm。用滑动轴承的电动机轴向审动量不大于1.5mm。2.21
QB/T3900-1999
2.22电动机湿热试验后的绝缘性能应符合下列要求:a.用直流500V兆欧表测定的绝缘电阻不小于3Mα;b.电动机定子绕组对机壳应承受历时1min的耐压试验而不被击穿。试验电压频率50Hz,电压有效值为1275V,波形为实际正弦波。2.23引出线强度
用一根引出线悬吊电动机自重,持续105,其连接处无异常。2.24耐振动试验
电动机在振动台上做振动试验后,空载低压起动应符合本标准2.9条的规定;绝缘电阻应符合本标准2.11条的规定,机械检查应正常。2.25电动机表面不应有明显的斑点、裂痕、锈蚀和污物。2.26在用户按照制造厂的使用说明书正确地使用及存放电动机的情况下,制造厂有责任向用户保证电动机在三年内能正常工作,在此期间,电动机如因制造质量不良而发生损坏或不正常工作时,制造厂应免费为用户修理、更换零部件以至产品。3试验方法
3.1电动机的电气性能试验在本标准未规定之处,参照GB9651一88《单相异步电动机试验方法》进行。
3.2试验室条件
型式试验中,电容值的容差为1%,试验室的温度为20士5C,电动机的线路原理图如图3。220V
图3脱水电动机原理接线图
C-电容器;T-定时器;M--主绕组;A-副绕组3.3电动机的噪声测量按GB2806—81《电机噪声测定方法》进行。3.4电动机湿热试验按GB2422.381《电工电子产品基本环境试验规程试验Ca:恒定湿热试验方法》(温度:40土2℃,相对湿度90%~95%)进行,试验等级48h。3.5效率和功率因数的测量用直接法测定。规定在温升试验结束时进行。3.6电动机的绕组温升用电阻法测定。在额定负载下连续运行15min,停机后15s内测量,不修正。3.7泄漏电流测定
在温升试验后,外施电压升至110%额定电压下空载运行。按图4线路接线,测基电动机端盖螺钉与电源线间的泄蒲电流,也可采用在测试回路中申入定值电阻,如图5。用低量程高内阻的交流电压表测最外壳与定值电阻两端的电压降,而后用欧姆定律计算,求得泄漏电流。测量泄漏电流时,应将开关K转换至电源线的两端,分别测量求其最大的泄漏电流值。6
QB/T3900-1999
Us一额定电压;K—单刀双拂开关mA交流旁安表;R-定值电阻(1750士250n)1E-电动机端盖螺钉G一绝缘垫,C一电容器
3.8电动机在冷态时测量堵转转矩和堵转电流G
-110%,
mV交流衰伏表,其余同图4
测量方法;转子在圆周均匀分布的五点处测量堵转转矩和堵转电流.测得的堵转转矩取最小值,堵转电流取最大值。
3.9引出线强度检查
三根引线分别检查。方法:以电动机一根引线的端头为固定端,轻轻悬吊电机,静止状态持续10s。3.10空载低压起动试验
电动机按图3接线,并处于空载状态,在额定频率下施加88V电压,观察电动机轴转动状况。3.11电容器端电压的测定
电动机按图3接线,在额定电压、额定题率下,给电动机施加30%额定功率的负荷,测量电容器两端的电压。
3.12耐振动试验
电动机分别以垂直(轴伸向上)和水平位置固定于振动台上,以频率300次/min、双振幅20mm各试验20min,试验时电动机不通电。3.13非正常运行试验
电动机按图3接线,转子被堵转。施以额定电压、额定率,历时15min,断电后15s以内,立即用500V兆欧表测量定子绕组对电动机壳体的绝缘电阻。3.14耐久性试验
电动机按图3接线,并按图6方式安装于试验架上,在其轴伸端安装表7规定的圆盘(模拟负荷)。在额定电压、额定颖率下,做通电3min、断电2min的周期运转,累计1000h,试验后15$内用500V兆欧表测量定子绕组对电动机壳体的绝缘电阻,并进行低压空载起动试验。
容量,W
QB/T3900-1999
L一负载圆盘(钢)+D—被试电动机;S-刚性支架(钢)表7
25(30)
直径A,mm
重量.kg
5电压波动试验
40(45)
电动机按图3接线,按图6和表7固定圆盘(负载),分别施以额定频率,电压分别为242V和198V起动。
4检验规则
每台电动机须经检查试验后才能出广,并附有产品检查合格证。4.2
检查试验项目包括表8的内容。
注:e、f.g三项随机抽样检查、8
机械检查:
显。表面质量检查
b.电动机的装配和轴承检查
c.空蔽运转有客杂音检查
d.安装尺寸和外形尺寸检查
e,轴向率动检查
f.轴伸径向圆跳动检查
g、引出线强度检查
定子绕组在实际冷态下直流电阻的测定定子绕组对机尧的冷态绝缘电阻的测定堵转电流和堵转损耗的测定
空载电流和空载损耗的测定
定子绕组对机尧的耐压试验
短时升高电压试验
空载低电压起动试验
QB/T3900-1999
4.3凡属下列情况之一者必须进行型式试验:a.
经鉴定定型后,制造厂第一次试制或小批生产时;当设计、工艺及材料的变更足以引起某些性能参数发生变化时;已定型产品,当其检查结果和以前进行型式试验的结果发生不允许的偏差时,成批生产的电动机定期的抽试,其抽试时间间隔至少每年一次。注:耐久性试验只在、b情况下进行,4.4
电动机的型式试验项目和顾序如表9.表9
机械检查:
试验项目
a.表面质量检查
b.电动机的装配和轴承检变
安装尺寸和外形尺寸检查
d.轴向审动检查
e.轴伸径向圆既动检查
f.引出线强度检查
绕组直流电阻测定
绕组对机壳冷态绝缘电阻的测定绕组对机壳冷态耐压试验
堵转电流和堵转转矩的测定
起动过程中最小转矩的测定
温升试验
效率、功事因数的测定
电容器端电压的测定
最大转矩的测定
短时过转矩试验
短时升高电压试验
泄漏电流的测定
空载电流和空载损耗的测定
空载低压起动试验
电压波动试验
噪声测定
耐报动试验
湿热试验
非正常运行试验
耐久性试验
注:若检查试验已做过此项试验时,则型式试验可免去此项,5型式试验试样为3台。
可以在耐久性试验之前进行
单独抽样3自
小提示:此标准内容仅展示完整标准里的部分截取内容,若需要完整标准请到上方自行免费下载完整标准文档。
标准图片预览:





- 其它标准
- 上一篇: QB/T 3893-1999 闭门器
- 下一篇: QB/T 3905-1999 乒乓球台
- 热门标准
- 轻工行业标准(QB)
- QB/T5247-2018 箱包配件塑料插扣耐 用性能试验方法
- QB/T2856-2007 毛革服装
- QB2584-2003 蒸汽淋浴房
- QB/T2711-2005 皮革 物理和机械试验 撕裂力的测定:双边撕裂
- QB/T1664-1998 纸板戳穿强度测定仪
- QB/T2161-1995 儿童推车整车通用技术条件
- QB/T2425-1998 封箱用再湿性牛皮纸胶粘带
- QB/T3520-1999 500kV油纸套管绝缘纸
- QB/T2569.6-2002 钢锉 木锉
- QB/T1433.10-2005 饼干 装饰饼干
- QB/T1439-2005 帐册
- QB/T1584-2005 日用皮手套
- QB/T2333-1997 防晒化妆品中紫外线吸收剂定量测定高效液相色谱法
- QB/T1756-1993 造纸机械湍流式中浓度浆泵
- QB/T1782-1993 苯乙醇
- 行业新闻
请牢记:“bzxz.net”即是“标准下载”四个汉字汉语拼音首字母与国际顶级域名“.net”的组合。 ©2025 标准下载网 www.bzxz.net 本站邮件:bzxznet@163.com
网站备案号:湘ICP备2025141790号-2
网站备案号:湘ICP备2025141790号-2