- 您的位置:
- 标准下载网 >>
- 标准分类 >>
- 国家标准(GB) >>
- GB/T 3837.3-1983 机床工具7:24圆锥联结 工具锥柄
标准号:
GB/T 3837.3-1983
标准名称:
机床工具7:24圆锥联结 工具锥柄
标准类别:
国家标准(GB)
标准状态:
已作废-
实施日期:
1984-10-01 -
作废日期:
2002-03-01 出版语种:
简体中文下载格式:
.rar.pdf下载大小:
82.10 KB
替代情况:
被GB/T 3837-2001代替采标情况:
ISO 297-1982 MOD
部分标准内容:
中华人民共和国国家标准
机床工具7:24圆锥联结
工具锥柄
Tooi shankswlith? :24tapers
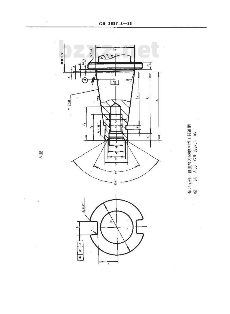
本标准适用于7:24圆锥联结的工具锥柄。1本标准与ISO297-82《手动更换7=24工具锥柄》中“丁具锥柄”等效。2了=24锥联结工具锥柄的结构型式及尺见下图及下表:国家标准局1983-09-02发布
UDC 621. 9.06
CB3837.3—83bzxz.net
1984-10-01实施
GB 3837.3—83
水善糖
8-8288885
GB3837.3—83
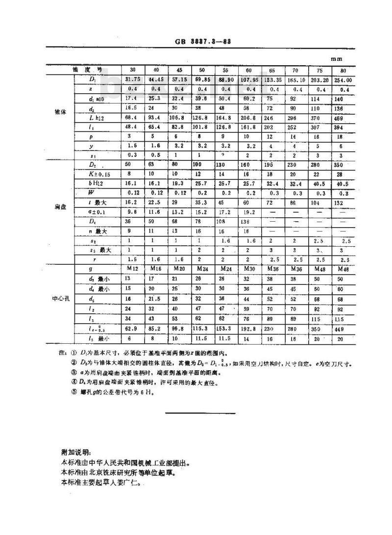
中心孔
锥度号
di a1o
「最大
53最大
d最小
d,最小
is最小
GB8887.3—-83
必须位于基准平面两侧为值的范菌内。注:D为基本尺寸,
②D,为与锥体大端相交的圆柱体直径,其售为D=D,-.3,如采用空刀结构时,尺寸自定。巴为空刀尺寸。。为用肩盘端面夹紧锥柄时,端面到基准平面的距离。③D,为用府盘端面夹紧锥柄时,许可采用的最大直径。③螺孔g的公差带代号为 6H。
附加说明:
本标准由中华人民共和国机械工业部提出。本标准由北京铣床研究所等单位起草。本标准主要起草人娄广仁。
小提示:此标准内容仅展示完整标准里的部分截取内容,若需要完整标准请到上方自行免费下载完整标准文档。
机床工具7:24圆锥联结
工具锥柄
Tooi shankswlith? :24tapers
本标准适用于7:24圆锥联结的工具锥柄。1本标准与ISO297-82《手动更换7=24工具锥柄》中“丁具锥柄”等效。2了=24锥联结工具锥柄的结构型式及尺见下图及下表:国家标准局1983-09-02发布
UDC 621. 9.06
CB3837.3—83bzxz.net
1984-10-01实施
GB 3837.3—83
水善糖
8-8288885
GB3837.3—83
中心孔
锥度号
di a1o
「最大
53最大
d最小
d,最小
is最小
GB8887.3—-83
必须位于基准平面两侧为值的范菌内。注:D为基本尺寸,
②D,为与锥体大端相交的圆柱体直径,其售为D=D,-.3,如采用空刀结构时,尺寸自定。巴为空刀尺寸。。为用肩盘端面夹紧锥柄时,端面到基准平面的距离。③D,为用府盘端面夹紧锥柄时,许可采用的最大直径。③螺孔g的公差带代号为 6H。
附加说明:
本标准由中华人民共和国机械工业部提出。本标准由北京铣床研究所等单位起草。本标准主要起草人娄广仁。
小提示:此标准内容仅展示完整标准里的部分截取内容,若需要完整标准请到上方自行免费下载完整标准文档。
标准图片预览:




- 其它标准
- 热门标准
- 国家标准(GB)
- GB/T30917—2014 /ISo 29941:2010 天然胶乳橡胶避孕套中可迁移亚硝胺的测定
- GB/T12777-1999 金属波纹管膨胀节通用技术条件
- GB/T29633.4-2020 南极地名 第4部分:罗马字母拼写
- GB15193.5-2003 骨髓细胞微核试验
- GB30530-2024 二甲基硅氧烷单位产品能源消耗限额
- GB/T43225-2023 空间物体登记要求
- GB4706.3-1986 家用和类似用途电器的安全食物搅碎器及类似用途电器的特殊要求
- GB15985-1995 丝虫病诊断标准及处理原则
- GB19159-2003 车用液化石油气
- GB/T7407-1997 中国及世界主要海运贸易港口代码
- GB/T15425-1994 贸易单128条码
- GB5237.3-2008 铝合金建筑型材 第3部分:电泳涂漆型材
- GB/T39964-2021 造纸行业能源管理体系实施指南
- GB/T9771.6-2020 通信用单模光纤 第6部分:宽波长段 光传输用非零色散单模光纤特性
- GB/T43929-2024 空间用纤维光学器件测试指南
- 行业新闻
请牢记:“bzxz.net”即是“标准下载”四个汉字汉语拼音首字母与国际顶级域名“.net”的组合。 ©2025 标准下载网 www.bzxz.net 本站邮件:bzxznet@163.com
网站备案号:湘ICP备2025141790号-2
网站备案号:湘ICP备2025141790号-2